Устройство холодильник: Устройство холодильника. Описание мастера
Устройство холодильника. Описание мастера
Прибор, поддерживающий низкую температуру в специальной камере с теплоизоляцией, называется холодильником. Принцип его работы заключается в применении холодильной машины, транспортирующей тепло из рабочей камеры во внешнюю среду. Если у вас возникнут проблему с холодильником и вы проживаете в Саратове, обратитесь в нашу фирму. Ремонт холодильника в Саратове не проблема, если им занимаются специалисты компании «ХолодРемонт», на всю выполненную работу даем гарантию.
Устройство компрессионного холодильника
В составе холодильников компрессионного типа присутствует компрессор, способствующий циркуляции хладагента путем преобразования электрической энергии в механическую. В данный момент такие холодильные аппараты пользуются наибольшей популярностью. Они отличаются сравнительно невысокой ценой, безопасностью в эксплуатации и долговечностью. В роли хладагента обычно используются фреоны либо изобутан.
К основным элементам, составляющим холодильник, относятся компрессор, испаритель, конденсатор, датчик-реле температуры, терморегулирующий вентиль, хладагент, пусковое и тепловое реле, электронный блок управления.
Мотор-компрессор
В состав мотор-компрессора входит электромотор и компрессор. Двигатель преобразовывает электрическую энергию в механическую, что приводит в действие компрессор. Располагается зачастую в нижней задней части холодильника.
Компрессор предназначен для создания требуемой разности давлений. Хладагент (вещество, предназначенное для переноса тепла из испарителя в конденсатор) в парообразном состоянии поступает из испарителя в компрессор, откуда перенаправляется в конденсатор. В устройстве бытовых холодильников используются герметичные поршневые мотор-компрессоры.
Конструкция таких деталей предполагает расположение электродвигателя во внутренней части корпуса компрессора. Такое расположение электродвигателя предотвращает возможность утечки хладагента сквозь уплотнение вала. Тем самым уменьшая возможность дальнейшего ремонта холодильника.
С целью поглощения вибраций, возникающих во время работы, используется подвеска компрессора. Подвеска, в свою очередь, бывает внутренней (двигатель компрессора подвешивается внутри корпуса) и внешней (корпус компрессора подвешивается на пружине).
В современных моделях бытовых холодильников в основном используется внутренняя подвеска, так как она значительно эффективнее способна поглощать вибрации компрессора, чем наружная. Смазывают компрессор специальными рефрижераторными маслами, способными хорошо взаимодействовать с хладагентом.
В зависимости от предназначения, бытовые холодильники могут быть оборудованы одним или двумя компрессорами.
Конденсатор холодильника
Основное назначение конденсатора – передача тепловой энергии в окружающую среду. В большинстве случаев конденсатор располагается на задней стенке холодильника с наружной стороны. Выглядит он как изогнутая в виде змейки металлическая трубка. Для более эффективного отвода тепла трубка соединена с объемной ребристой поверхностью.
В конденсатор поступает нагретый за счет сжатия хладагент. Отдавая тепло в окружающую среду, хладагент остывает и конденсируется, преобразовываясь в жидкое агрегатное состояние и поступает в капилляр. В большинстве бытовых холодильников используются ребристо-трубные конденсаторы.
Тепло от конденсаторов отводится естественным путем, посредством конвенции либо радиации. В таких устройствах для оребрения используют стальной лист с прорезями либо стальную проволоку.
Для обдува конденсатора с принудительным охлаждением используют вентиляторы.
Испаритель холодильника
Основное назначение испарителя – забор тепла из внутреннего пространства холодильника. Внешне он представляет собой трубку, соединенную с металлической пластиной. Испаритель холодильной камеры располагается на ее задней стенке, испаритель морозильной камеры в большинстве случаев совмещается с ее корпусом.
Посредством ТРВ либо капилляра под давлением жидкий хладагент поступает в испаритель. В испарителе давление резко уменьшается, за счет чего происходит испарение жидкости из хладагента. Охлаждение внутреннего пространства холодильника происходит за счет того, что хладагент забирает тепло из внутренних стенок испарителя.
Иными словами, хладагент под влиянием высокого давления в конденсаторе переходит в жидкое состояние (конденсируется) и выделяет тепло.
Хладагент вскипает, попадая в испарителе в условия низкого давления. Постепенно поглощая тепловую энергию, он трансформируется в газообразное агрегатное состояние.
ТРВ (терморегулируемый расширительные вентиль)
ТРВ (терморегулируемый расширительные вентиль) предназначен для создания требуемой разности давлений между испарителем и конденсатором, необходимой для осуществления цикла теплопередачи. Он позволяет максимально заполнить внутреннее пространство испарителя нагретым хладагентом. В большинстве холодильников ТРВ заменяет капилляр (тонкая металлическая трубка небольшого диаметра).
По мере того как снижается тепловая нагрузка на испаритель, изменяется степень пропускного сечения ТРВ. При снижении температуры в камере, автоматически снижается количество циркулирующего хладагента. Капилляр, функционируя не способен изменять свое сечение, но в свою очередь, дросселирует определенный объем хладагента.
Важную роль в работе холодильника играет степень чистоты хладагента.
Наличие в его составе примесей или воды способно привести к повреждению компрессора либо засорению капилляра. Вода в хладагент может проникнуть во время заправки холодильника или попасть через неплотности в поверхности компрессора. Очень важно во время заправки вакуумировать контур и соблюдать герметичность. Практически в каждом холодильнике устанавливается перед капилляром фильтр-осушитель, для защиты хладагента от попадания влаги. К образованию примесей может привести коррозия внутренней поверхности стенок трубопроводов.
Некоторые конструкции холодильников предусматривают также и наличие теплообменника, предназначенного для регулирования температуры на выходе из испарителя и из конденсатора. Результатом его работы является то, что к дросселю подается уже остывший хладагент, способный в испарителе охладиться еще сильнее. В свою очередь, хладагент, поступая из испарителя, нагревается перед поступлением в конденсатор и компрессор. Использование теплообменника способствует увеличению производительности холодильника и предотвращает проникновение хладагента в жидком состоянии в компрессор.
Реле
Пусковое реле предназначено для запуска мотора кратковременной подачей питающего напряжения на его пусковую обмотку. Для защиты от перегрузок используют тепловое реле. Обе детали размещают непосредственно рядом с компрессором.
Датчик-реле температуры
Основная функция терморегуляторов – поддержание требуемой температуры в камерах холодильника. Его относят к основным узлам системы контролирования температурного режима. Терморегуляторы способны функционировать в заданном диапазоне температур (корректируются котировочными винтами и механическим регулятором).
Когда температура в камере начинает превышать верхнюю заданную границу, реле включает мотор компрессора и наоборот – при понижении температуры оно отключает мотор.
Капиллярная трубка
В состав терморегулятора входят электрические контактные подгруппы, управление которыми осуществляет манометрический датчик. Для контроля температуры в камере холодильника, датчик снабжается капиллярной трубкой, часть которой располагается внутри камеры.
В последних моделях холодильников функцию регулирования температуры выполняют электронные системы управления. Контроль над уровнем температуры обеспечивается за счет датчиков-термисторов, способных зависимо от температуры окружающей среды изменять уровень своего внутреннего сопротивления. Точность таких приборов значительно выше, чем стандартных терморегуляторов.
Электронный блок управления
В различных моделях холодильников комплектация, расположение и внешний вид электронного модуля может отличаться. В большинстве случаев он состоит из четырех элементов – платы управления (на ней располагается микропроцессор), индикации, кабеля, соединяющего платы между собой (10-ти или 20-ти канального), температурных датчиков.
Главным элементом электронного блока управления является микропроцессор. Именно он выполняет управление над всеми узлами холодильника. Данный ремонт холодильника лучше доверить мастеру.
Основные типы холодильников
Тип холодильника определяется, отталкиваясь от нескольких параметров.
Так, в зависимости от сферы назначения различают морозильники, холодильники и холодильники-морозильники. В зависимости от способа получения холода – абсорбционные и компрессионные. По способу установки – напольные по типу шкаф либо стол. В зависимости от числа камер холодильники подразделяются на одно-, двух- или трехкамерные.
Наибольшей популярностью на мировом и отечественном рынках пользуются двухкамерные холодильники. В основном они состоят из холодильной и морозильной камер.
Холодильник Side-by-side
Самая большая камера у холодильников «Side-by-side». Их конструкция предполагает расположение по бокам морозильной и холодильной камер, причем каждая из них закрывается отдельной дверью. В холодильниках типа «Combi» объем морозильной камеры может составлять до половины общего полезного объема. В большинстве случаев морозильная камера в таких устройствах располагается ниже холодильного отделения.
В зависимости от способа размораживания различают холодильники с ручным, автоматическим либо полуавтоматическим размораживанием.
В ручном размораживании нуждаются холодильники старого образца. Некоторые модели холодильников оснащены специальным реле оттаивания, способным отключать питание компрессора. Обратно включается компрессор после того, как внутри холодильника установится температура, близкая к комнатной. Этого времени достаточно для оттаивания ледяной шубы.
Большая часть современных холодильников обладает функцией автоматического размораживания морозильной камеры. Избыточная влага со стенок испарителя стекает по специальному желобу в лоток, расположенный на крышке компрессора. Из лотка вода постепенно испаряется под воздействием тепловой энергии, исходящей от корпуса компрессора. Процесс размораживания цикличен и не нуждается в постороннем вмешательстве либо контроле.
Зона нулевой температуры
Трехкамерные холодильники оборудованы кроме морозильной и холодильной камер, еще и зоной нулевой температуры. Некоторые производители оснащают такую зону возможностью выполнять функции какой-либо из камер, посредством понижения либо повышения в ней температуры.
Также холодильники могут обладать статической либо динамической системой охлаждения. В статических системах воздух либо неподвижен, либо перемещается посредством естественной конвенции. Применяется в основном во многих бюджетных холодильниках. В динамической системе воздух циркулирует под действием вентилятора. Такая система получила название «No Frost» и позволяет добиться равномерного распределения температуры по всей площади камеры и быстрое восстановление заданной температуры после ее повышения. Главное преимущество такой системы – при работе холодильника на стенках камеры не образовывается иней.
Устройство и принцип действия абсорбционного холодильника
В холодильниках абсорбционного типа рабочая камера охлаждается за счет испарения хладагента, циркулирующего в водном растворе. В основном, в качестве хладагента используют аммиак. До 1000 единиц объема аммиака способно раствориться в одной единице объема воды. Концентрированный аммиачный раствор из абсорбера перетекает в генератор (десорбер), затем в дефлегматор, где расщепляется на аммиак и воду.
В конденсаторе происходит сжижение газообразного аммиака, после чего он снова подается в испаритель, а очищенная вода – в абсорбер.
Циркуляцию воды могут обеспечить устройства, функционирующие без подвижных элементов, к примеру, струйные насосы. Нормальное функционирование системы холодильника также обеспечивает добавление газа, инертного к компонентам системы. Он позволяет добиться одинакового давления во всей системе.
Кроме аммиака и воды в абсорбционных холодильниках также могут быть использованы и другие пары веществ – ацетилен, раствор бромистого лития либо ацетон.
Одними из явных преимуществ холодильников такого типа является бесшумность, возможность функционирования за счет нагрева прямым сжиганием топлива. К недостаткам таких агрегатов относят краткий эксплуатационный срок, чувствительность к расположению на поверхности пола, низкие показатели хладопроизводительности. Еще один недостаток – наличие в системе горючего водорода и ядовитого аммиака. В обычных квартирах такие устройства используются редко, в основном – в кемпингах, либо загородных домах, где наблюдаются перебои с электричеством.
Иногда встречаются термоэлектрические холодильники, либо устройства, работающие на вихревых охладителях. Из-за сложностей в эксплуатации, дороговизны и других нюансов большого распространения такие холодильники не получили.
Основные элементы холодильного шкафа
Конструкция холодильного шкафа представляет собой сочетание множества различных элементов. Так, его стенки состоят из двух частей, между которыми укладываются теплоизоляционные материалы. Энергопотребление холодильника зависит от качества теплоизоляции.
Для размещения продуктов используются полки. Могут быть стеклянные либо решетчатые.
Дверца холодильника также состоит из нескольких слоев. Предотвратить проникновение теплого воздуха через неплотности между дверью и корпусом холодильника помогает уплотнитель. В современных моделях он оборудован магнитной вставкой. На дверцах тоже располагаются полки для продуктов. Дверной проем в морозильных камерах иногда может быть оснащен электрическим нагревателем – это предохраняет ее от выпадения конденсата.
С целью освещения холодильной камеры используются осветительные приборы небольшой мощности, способные срабатывать при открывании дверцы. В некоторых моделях холодильников предусмотрено наличие сигнализации открытия двери. В соответствии с таймером, через определенный промежуток времени сигнализация срабатывает. Это необходимо для предотвращения таких случаев, когда холодильник забывают закрыть.
принцип работы холодильника, устройство холодильника, как работает холодильник
- Home
- принцип работы холодильника
принцип работы холодильника
Холодильный агрегат работает следующим образом. Мотор-компрессор откачивает пары фреона из испарителя и нагнетает их в конденсатор. В конденсаторе пары фреона охлаждаются и конденсируются. Далее жидкий фреон через фильтр-осушитель и капиллярный трубопровод попадает в испаритель.
Гидравлическое сопротивление капиллярного трубопровода подбирается таким образом, чтобы создать определенную разность давления всасывания и конденсации, которое создает компрессор, при которой через трубопровод проходило определенное количество жидкости. Каждый капилляр соответствует определенному мотор-компрессору. На входе фреона в испаритель, давление падает от давления конденсации до давления кипения. Этот процесс называется дросселированием. При этом происходит вскипание фреона, поступая в каналы испарителя фреон кипит, энергия необходимая для кипения в виде тепловой, забирается от поверхности испарителя, охлаждая воздух в холодильнике. Пройдя через испаритель жидкий фреон превращается в пар, который откачивается компрессором. Количество отводимой холодильной машиной теплоты, приходящейся на единицу затраченной электрической энергии называется холодильным коэффициентом холодильника.
1 — конденсатор, 2 — капиллярная трубка, 3 — мотор-компрессор,
4 — испаритель, 5 — фильтр-осушитель, 6 — обратная трубка
Мотор-компрессор — основной узел любого холодильного агрегата.
Назначение компрессора состоит в обеспечении циркуляции охлаждающего вещества (фреона) по системе трубопроводов холодильного агрегата. Холодильник может быть укомплектован как одним, так и двумя компрессорами. В состав мотор-компрессора входит электромотор и компрессор. Двигатель преобразовывает электрическую энергию в механическую, что приводит в действие компрессор В устройстве бытовых холодильников используются герметичные поршневые мотор-компрессоры, конструкция предполагает расположение электродвигателя во внутренней части корпуса компрессора. Такое расположение электродвигателя предотвращает возможность утечки хладагента сквозь уплотнение вала. Тем самым уменьшая возможность дальнейшего ремонта холодильника. С целью поглощения вибраций, возникающих во время работы, используется подвеска компрессора. Подвеска, в свою очередь, бывает внутренней (двигатель компрессора подвешивается внутри корпуса) и внешней (корпус компрессора подвешивается на пружине). В современных моделях бытовых холодильников в основном используется внутренняя подвеска, так как она значительно эффективнее способна поглощать вибрации компрессора, чем наружная.
Смазывают компрессор специальными рефрижераторными маслами, способными хорошо взаимодействовать с хладагентом
Конденсатор — теплообменный аппарат для отвода тепла от конденсирующихся (превращающихся в жидкость) паров фреона к окружающей среде. Это обусловлено предварительным повышением давления паров в компрессоре и отводом от ник тепла в конденсаторе. На холодильниках с естественным охлаждением конденсатор в виде змеевика или щита устанавливают на задней стенке (снаружи или внутри). Холодильники больших размеров обычно оснащены конденсаторами, имеющими вид радиаторов, их устанавливают рядом с компрессором, внизу. Вентилятор обеспечивает их нормальное охлаждение. Конденсатор обязательно должен хорошо охлаждаться – это залог нормальной работы холодильника.
Испаритель – теплообменный аппарат для охлаждения непосредственно продукта в результате кипения в нем жидкого фреона. Кипение в испарителе при низкой температуре и соответствующем давлении происходит за счет теплоты, отнимаемой от охлаждающей среды.
Капиллярная трубка – предназначена для дросселирования перед испарителем жидкого фреона и снижения его давления от давления конденсации до давления кипения с соответствующим понижением давления. Представляет собой медный трубопровод длиной 1.5 – 3м с внутренним диаметром 0.6 – 0.85 мм. Устанавливается между конденсатором и испарителем
Фильтр-осушитель — устанавливается у входа в капиллярную трубку для предохранения ее от засорения твердыми частицами, для поглощения влаги из фреона и предотвращения замерзания ее на выходе из капиллярной трубки. Корпус патрона фильтра состоит из медной трубки длиной 105-140 мм и диаметром 18..12 мм с вытянутыми концами, в отверстия которых впаивают соответственно трубопровод конденсатора и капилляр. В корпус фильтра помещают цеолит между молекулярными сетками, установленными на входе и выходе из патрона.
Докипатель — представляет из себя емкость, установленную между испарителем и всасывающим патрубком компрессора.
Предназначен для докипания жидкого фреона и предотвращения попадания его в компрессор, что может привести к выходу из строя компрессора. Размещают докипатель в охлаждаемом объеме — как правило в морозильной камере. Докипатель может быть алюминиевым или медным.
Работу бытового холодильника обеспечивает электрическая схема.
1 — терморегулятор, 2 — кнопка принудительной оттайки, 3 — реле тепловой защиты, 3.1. — контакты реле, 3.2. — биметаллическая пластина, 4 — электродвигатель мотор-компрессора, 4.1. — рабочая обмотка, 4.2. — пусковая обмотка, 5 — пусковое реле, 5.1. — контакты реле, 5.2. — катушка реле
При подаче напряжения в схему электрический ток проходит: через замкнутые контакты терморегулятора 1, копки принудительной оттайки 2, реле тепловой защиты 3, (контакт 3.1, биметаллическая пластина 3.2), пусковое реле 5 (катушку 5.
2, контакты 5.1 разомкнуты) и рабочую обмотку 4.1 электродвигателя мотор-компрессора 4. Поскольку двигатель не вращается, ток, протекающий через его рабочую обмотку, в несколько раз превышает номинальный. Пусковое реле 5 устроено таким образом, что при превышении номинального значения тока замыкаются контакты 5.1, подключая к цепи пусковую обмотку электродвигателя, который начинает вращаться, в результате чего, ток в рабочей обмотке снижается, контакты пускового реле размыкаются, но двигатель продолжает работать в нормальном режиме за счет рабочей обмотки. При достижении заданной температуры, контакты терморегулятора размыкаются и электродвигатель компрессора останавливается. Для отключения электродвигателя при опасном повышении силы тока предназначено реле тепловой защиты. С одной стороны оно защищает электродвигатель от перегрева и поломки, а с другой от пожара. Реле состоит из биметаллическое пластины 3.2., которая при опасном повышении силы тока нагревается и, изгибаясь, размыкает контакты 3.
1. После остывания биметаллической пластины контакты снова замыкаются.
РЕМОНТ ХОЛОДИЛЬНИКА СВОИМИ РУКАМИ Сделать самому можно следующее -поменять терморегулятор холодильника. Для этого понадобится отвертка и мультиметр. Признаки дефекта терморегулятора : холодильный прибор не работает, компрессор не запускается, при повороте ручки терморегулятора в по часовой стрелке ситуация не меняется или при установке Найти мастера в своем городе
Устройство холодильника
Однокамерный холодильник
В однокамерном холодильнике охлаждение холодильной камеры происходит с помощью основного испарителя, который расположен в верхней части холодильного шкафа. Холодный воздух опускается вниз и охлаждает продукты холодильной камеры.
Чтобы охлаждение не было очень сильным, под основным испарителем устанавливают поддон с небольшими окошками, через которые холодный воздух поступает в холодильную камеру. Приоткрывая и закрывая окошки можно регулировать температуру в холодильной камере.
Морозильная камера в однокамерных холодильниках располагается только в верхней части холодильного шкафа. Как правило испаритель является корпусом морозильной камеры.
Однокамерный холодильник работает следующим образом: мотор-компрессор откачивает пары фреона из испарителя и нагнетает их в конденсатор. Здесь пары охлаждаются, конденсируются и переходят в жидкую фазу. Далее жидкий фреон через фильтр-осушитель и капиллярную трубку направляется в испаритель.
Фильтр-осушитель (осушительный патрон) служит для очистки и осушения проходящего через него хладагента. Он представляет собой цилиндр, заполненный веществом, поглощающим воду (силикагель или цеолит). Выплёскиваясь в каналы испарителя, жидкий фреон вскипает и начинает отбирать тепло с поверхности испарителя, тем самым охлаждая внутренний объём холодильника и продукты, хранящиеся в нем.
Пройдя через испаритель, жидкий фреон выкипает, превращаясь в пар, который опять откачивается мотором-компрессором.
Цикл непрерывно повторяется до тех пор, пока температура на поверхности испарителя не достигнет необходимого значения, после чего мотор отключается. Под действием окружающей среды температура в морозильной камере повышается, и мотор включается снова. Таким образом, внутри холодильника поддерживается необходимая температура.
Для предотвращения образования конденсата на поверхности трубопровода всасывания на него по всей его длине припаивается капиллярная трубка. При работе холодильника капиллярная трубка нагревается, нагревая трубопровод всасывания. В современных моделях холодильников капиллярная трубка находится внутри трубопровода всасывания.
Поскольку в однокамерных холодильниках чувствительный элемент термостата (сильфонная трубка) крепится на поверхности испарителя и охлаждается и нагревается вместе с испарителем, включение и отключение компрессора осуществляется при достижении необходимой температуры в морозильной камере.
Регулировка температуры (т. е. частоты включения компрессора) повышает (или понижает) температуру одновременно и в морозильной и холодильной камерах.
Чтобы охлаждение не было очень сильным, под испарителем (то есть под морозильной камерой) устанавливают поддон с небольшими окошками, через которые холодный воздух поступает в холодильную камеру. Приоткрывая и закрывая эти окошки можно регулировать температуру в холодильной камере. При этом в морозильной камере температура останется прежней.
Двухкамерный холодильник
Двухкамерный холодильник отличается от однокамерного наличием собственного испарителя для холодильной и морозильной камер.
Принцип работы двухкамерного холодильника следующий: жидкий фреон, накачиваемый мотором-компрессором, проходит по конденсатору и капиллярной трубке, попадет в испаритель морозильной камеры, вскипает и, испаряясь, начинает охлаждать поверхность испарителя. При этом испарение жидкого фреона и, соответственно, охлаждение начинается в месте входа капиллярной трубки в испаритель и постепенно продвигается по его каналам к выходу испарителя морозильной камеры (см.
рисунок). Пока поверхность испарителя не охладится до минусовой температуры, в испаритель холодильной камеры фреон не поступает.
После обмерзания испарителя морозильной камеры жидкий фреон начинает поступать в испаритель холодильной камеры, охлаждает его до температуры -14°С, после чего мотор-компрессор отключается. После отключения мотора воздух в холодильной камере под воздействием окружающей среды постепенно нагревается, от этого нагревается испаритель холодильной камеры. При достижении определннной температуры мотор снова включается.
«Плачущий» испаритель
Так обычно называют испаритель холодильной камеры в двухкамерных холодильниках. Как правило, в холодильной камере достаточно большого объема устанавливается испаритель небольшого размера (в несколько раз меньше, чем в морозильной камере), который обмерзает до температуры минус 14°С за довольно короткое время. После этого чувствительный элемент терморегулятора, закреплённый на поверхности этого испарителя, «даёт команду» на отключение мотора-компрессора.
За время работы мотора испаритель успевает охладить объём холодильной камеры до температуры плюс 4°С. После отключения мотора-компрессора воздух в холодильной камере начинает нагревать поверхность испарителя. Вода, образовавшаяся из растаявшего инея каплями стекает по испарителю в специальный лоток на стенке камеры.
Регулируя мощность компрессора можно изменять температуру как в холодильной, так и в морозильной камере. Если датчик температуры установлен только в холодильной камере, то и температура будет регулироваться по холодильной камере, т.е. при понижении температуры в холодильной камере с +4° до +2°С, температура в морозильной камере тоже понизится на 2°С, например с минус 20°С до минус 22°С. Если температуру в холодильной камере повысить, то в морозильной камере температура тоже повысится.
Отметим, что агрегат холодильника рассчитан таким образом, что даже при минимальном значении терморегулятора температура в морозильной камере не поднимется выше положенной нормы минус 18°С.
Холодильник с электромагнитными клапанами
Независимая регулировка температуры в холодильной и морозильной камерах возможна в случае, если установлены два независимых компрессора со своими испарителями. Другой вариант — двухконтурная система, в которой предусмотрена возможность независимой работы каждого контура. Самый простой способ реализации этой идеи — установка клапана, перекрывающего подачу хладагента в испаритель холодильной камеры (серия холодильников Минск 126; 128 и 130).
При закрытии клапана хладагент начинает поступать в испаритель по дополнительному капиллярному трубопроводу, который впаян в конденсатор агрегата. Количество подаваемого хладагента уменьшается, в результате чего перестаёт обмерзать испаритель холодильной камеры (из-за уменьшенного количества охлаждающего вещества жидкий хладагент до него просто не доходит, выкипая в испарителе морозильной камеры). Работа клапана связана с показаниями термостата холодильной камеры, что даёт возможность регулирования температуры в холодильной камере отдельно от морозильной.
Компрессор в таких холодильниках отключается в соответствии с показаниями термостата, установленного в морозильной камере.
В холодильниках более сложной конструкции могут устанавливаться клапаны, перекрывающие поступление хладагента в испарители камер холодильника поочерёдно, позволяя регулировать температуру в каждой из камер по отдельности. В таких холодильниках управление работой клапанов и мотора-компрессора производит электронный блок. Температура в камерах считывается специальными датчиками, и на основании этой информации, а также на основании датчика температуры окружающей среды происходит регулирование температуры в камерах холодильника.
Суперзаморозка
Режим принудительной заморозки продуктов применяется в морозильниках и двухкамерных холодильниках для замораживания большого количества продуктов. При обычном режиме заморозки замораживаемые продукты, помещённые в морозильную камеру, начинают охлаждаться снаружи и лишь через некоторое время промерзают внутри.
Термостат отслеживает температуру испарителя либо воздуха в морозильной камере, но не температуру замораживаемых продуктов. Поэтому моторкомпрессор отключается при достижении определенной температуры внутри морозильника, а не в тот момент, когда продукты полностью замерзнут.
При использовании режима принудительной заморозки, при котором отключается регулятор температуры, и мотор-компрессор будет работать, не выключаясь, пока пользователь самостоятельно не отключит этот режим (или это не сделает автоматика).
Реализация режима суперзаморозки может быть различной:
Прямое подключение компрессора к сети в обход датчиков температуры и установка максимально возможного значения температуры на терморегуляторе
Включение слабого нагревательного элемента на испарителе в непосредственной близости от датчика температуры. Этот элемент не позволяет датчику охладиться, и компрессор начинает работать не отключаясь. В системах с электронной системой управления активация этого режима осуществляется управляющим процессором.
Поскольку в режиме принудительной заморозки мотор-компрессор работает, не выключаясь, необходимо помнить, что такая работа мотора-компрессора более трёх суток может привести к сокращению его ресурса. Надо иметь в виду, что в большинстве моделей при включении режима суперзаморозки температура понижается как в морозильной, так и в холодильной камерах.
Система NO FROST
Холодильники системы NO FROST отличаются от холодильников с обычной системой охлаждения тем, что в морозильной камере они не имеют привычного испарителя в виде металлической полочки или пластины. Испаритель (он как правило один), который в таких моделях правильнее называть воздухоохладителем, может быть расположен в верхней или нижней части морозильной камеры или за панелью на задней стенке этой камеры, а холодильная камера вообще не имеет своего испарителя.
Конструктивно воздухоохладитель в большинстве моделей внешне напоминает автомобильный радиатор. За ним устанавливается вентилятор, который нагнетает воздух из морозильной и холодильной камер.
При прохождении через испаритель воздух охлаждается и по системе каналов направляется на охлаждаемые продукты. При этом большая часть охлаждённого воздуха поступает в морозильную камеру, а меньшая — по дополнительному каналу в холодильную.
Исключение составляют холодильники FROST FREE, в холодильной камере которых установлен «плачущий» испаритель, и холодный воздух циркулирует только в пределах морозильной камеры. Вопреки названию системы NO FROST («без инея»), иней всё-таки образуется — просто его не видно, т.к. он образуется на закрытом от глаз испарителе. Периодиче ски, через 8-16 ч, этот иней оттаивается нагревательными элементами, расположенными на испарителе или под ним.
Температура в морозильной камере регулируется путём отключения компрессора при достижении определенной температуры в морозильной камере или в воздушном канале, по которому холодный воздух из морозильной камеры поступает в холодильную. Температура в холодильной камере регулируется либо специальной заслонкой, установленной в воздушном канале холодильной камеры (заслонка может иметь ручное управление или управляться термостатом), либо путём включения-выключения дополнительного вентилятора, подающего холодный воздух из морозильной камеры в холодильную.
Двухкомпрессорные холодильники
В двухкомпрессорных системах в одном холодильном шкафу установлены два отдельных агрегата для каждой из камер, и работают они независимо друг от друга. У каждого агрегата свой термостат, показания которого являются сигналом для отключения соответствующего компрессора. Это все равно, как если бы мы поставили отдельно стоящий холодильник на морозильный шкаф (или наоборот). Температуру, режимы суперзаморозки (суперохлаждения), «отпуск» и т.д. можно включать совершенно независимо.
Обогрев дверного проёма
Для предотвращения появления конденсированной влаги на поверхности дверных проёмов применяется их обогрев. Конденсат на этих поверхностях появляется из-за разницы температуры внутри морозильного шкафа (камеры) и температуры окружающей среды. К примеру, если в помещении, где установлен холодильник, температура плюс 30°С, а внутри морозильной камеры минус 18°С, то образование конденсата на торцах морозильного шкафа в местах прилегания уплотнительной резины практически неизбежно.
В некоторых холодильниках функция обогрева дверного проёма может быть отключена специальной клавишей. Это делается в случаях, когда в помещении, где находится холодильник, достаточно прохладно. Функция отключения обогрева дверного проёма являяется энергосберегающей, т. к. обогрев осуществляется электрическими нагревательными элементами. Однако в большинстве современных холодильников обогрев дверного проёма осуществляется за счёт горячего хладагента, нагнетаемого мотором-компрессором в конденсатор холодильного агрегата. В таких моделях горячий хладагент, нагнетаемый мотором-компрессором, проходит по трубопроводу, проложенному в стенке холодильного шкафа, затем идёт по трубопроводу, уложенному внутри шкафа по периметру дверного проёма, обогревает этот проём и, уже немного остывший, по трубопроводу в стенке шкафа поступает в конденсатор агрегата. В холодильниках и морозильниках с такой системой обогрева во время выхода холодильной системы в режим могут довольно сильно нагреваться стенки холодильного шкафа и дверной проём, что не является неисправностью.
Нулевая зона
Нулевой зоной называют специальный отсек холодильной камеры, предназначенный для хранения свежего мяса, свежей птицы и рыбы. Как правило, этот отсек представляет собой выдвижные ящики, которые обычно располагаются между морозильной и холодильной камерами. Производителями декларируется поддержание в таком отделении определенной влажности и температуры около 0°С.
В некоторых моделях зона свежести выполнена в виде изолированной камеры. Благодаря таким условиям хранения многие продукты сохраняют свою свежесть в среднем в два-три раза дольше, чем в обычном холодильнике.
Зона свежести может не иметь собственного испарителя, а охлаждение этой камеры может осуществляться за счёт естественного притока холодного воздуха из расположенной сверху морозильной камеры по небольшому каналу, соединяющему морозильную и нулевую камеры.
В некоторых холодильниках нулевая зона выполнена в виде отдельной пластиковой ёмкости, установленной у плачущего испарителя.
Охлаждение этой ёмкости происходит от плачущего испарителя. Гарантированно температура 0°С может быть обеспечена только в том случае, когда нулевая зона представляет собой камеру с отдельным испарителем, либо камеру, в которую порционно подаётся охлаждённый воздух из морозильной камеры (NO FROST), особенно если управление процессами производится электронным блоком.
Как работает холодильник?
Очевидно, что холодильники созданы для охлаждения продуктов, но не все знают, как именно происходит этот процесс. Возможно, Вы даже не раз задавались вопросом: “Как работает холодильник?”.
Основной принцип работы холодильника заключается в том, что холод не поступает в него из внешней среды. Происходит обратный процесс: тепло от продуктов выводится в окружающую среду.
Возможно, когда Вы в первый раз услышали о цикле охлаждения в холодильнике, вы были слегка обескуражены такой работой устройства. На самом деле, процесс охлаждения не такой уж сложный, и сегодня мы ответим на интересующий многих вопрос: «Как работает холодильник?»
Как работает холодильник?
Прежде чем рассмотреть алгоритм работы холодильника, ознакомимся с пятью основными компонентами холодильной системы, простейшем цикле охлаждения.
- Компрессор – сердце холодильника. Он предназначен для сжатия и подачи хладагента под давлением и работает по принципу насоса для движения вещества;
- Испаритель – устройство, в котором происходит кипение хладагента за счёт теплоты продуктов. Благодаря этому происходит понижение температуры внутри холодильника во время его работы;
- Конденсатор – это компонент холодильной системы, в котором происходит переход из газообразного в жидкое состояние, сопровождающийся выделением теплоты в окружающую среду;
- Капиллярная трубка – соединительный элемент между конденсатором и испарителем малого сечения;
- Хладагент – вещество, переносящее тепло. Он проходит весь цикл охлаждения, когда работает холодильник. Многие представляют хладагент как большой объём охлаждающей жидкости, циркулирующей по всему холодильнику. На самом деле это не так! В обычных условиях он является газом, необходимым для работы холодильника, и в вашем устройстве количество этого вещества всего лишь 20 – 65 грамм.

И так, как же работает холодильник? В современных устройствах с компрессором система охлаждения функционирует следующим образом:
- Включается компрессор.
- Газообразный холодильный агент из испарителя отсасывается компрессором.
- В компрессоре происходит сжатие хладагента до высокого давления и нагнетание его в конденсатор. В процессе конденсации выделяемое тепло рассеивается в окружающей среде.
- Хладагент очищается в фильтре-осушителе.
- В результате высокого давления жидкий хладагент поступает через расширительный клапан или капиллярную трубку в испаритель, в целях уменьшения давления и регулирования его потока.
- В испарителе жидкий хладагент под низким давлением поглощает теплоту из внутреннего объема и превращается в газ низкого давления.
- Компрессор вновь всасывает хладагент.
Принцип
работы холодильника: схема цикла охлаждения
Есть несколько интересных примеров, демонстрирующих как работает холодильника и его цикла.
Купались ли вы в море или бассейне во время отдыха в жарких странах? Когда вы выходите из воды и ложитесь на шезлонг, по телу пробегает дрожь, несмотря на температуру 30°C! Это происходит, потому что вода испаряется и забирает теплоту с поверхности вашей кожи, в результате чего вы чувствуете холод. Похожий принцип используется во время работы холодильников.
Рассмотрим ещё один пример, с помощью которого можно понять, как работает холодильник. Попробуйте сделать следующее: лизните тыльную сторону вашей ладони, а затем подуйте на неё. Вы почувствуете холод. Данный пример демонстрирует, что охлаждение происходит в результате испарения. Этот процесс не отличается от того, который происходит в холодильнике: когда устройство работает, холод не появляется в холодильной и морозильной камерах, наоборот, тепло от хранящихся продуктов поглощается и рассеивается в окружающей среде. Именно поэтому во время работы холодильника его задняя стенка всегда горячая.
Как работает холодильник? Узнайте в нашем видео:
youtube.com/embed/eQH9ZyNPNXI?feature=oembed&enablejsapi=1&origin=https://blog.liebherr.com» frameborder=»0″ allow=»accelerometer; autoplay; clipboard-write; encrypted-media; gyroscope; picture-in-picture» allowfullscreen=»»/>
Как работает холодильник с зоной свежести BioFresh
Стоит отметить, что многие холодильники оснащены зоной свежести, в которой поддерживаются оптимальная влажность и постоянный уровень температуры около 0°C, которые способствуют длительному хранению продуктов.
Как же работает холодильник с такой зоной? Воздух из холодильного отделения забирается вентилятором за заднюю стенку холодильной камеры.
Здесь он охлаждается до более низкой температуры и подается в зону BioFresh, где равномерно распределяется между контейнерами. Циркулируя далее, в холодильную камеру попадает уже более тёплый воздух для охлаждения продуктов.
Если у вас есть вопросы и комментарии о том, как работает холодильник, напишите нам. Используйте форму для комментариев ниже или присоединяйтесь к обсуждению в сообществе LIEBHERR ВКонтакте.
Принцип работы бытового холодильника
Как работает холодильник?
Холодильники, которые стоят в большинстве квартир — компрессионные. Если говорить простыми словами, то принцип работы бытового компрессионного холодильника следующий: тепло отводится из холодильной камеры в окружающее пространство в результате чего температура в камере падает, а в помещении, где стоит холодильник, едва заметно повышается.
Что в холодильнике отвечает за реализацию этого процесса?
Хладагент — вещество с высоким уровнем текучести и низкой температурой кипения и испарения.
Хладагент отвечает в холодильнике за перенос тепла от испарителя к конденсатору.
Компрессор — устройство, которое обеспечивает циркуляцию хладагента по системе холодильника. Холодильник может иметь один или два компрессора.
Испаритель забирает тепло из холодильной камеры.
Конденсатор отдает тепло в окружающую среду.
Теплообменник выравнивает температуру хладагента на выходе из испарителя и конденсатора для повышения производительности холодильника и предотвращения попадания жидкого хладагента в компрессор (что может привести к его неисправности).
Терморегулятор поддерживает температуру на нужном уровне, запуская работу системы, когда температура становится выше заданного уровня и выключая ее, когда камера охлаждается до необходимой температуры. В свою очередь состоит из термодатчика, который замеряет температуру и непосредственно регулятора.
Также в холодильнике есть дополнительные детали и системы, которые обеспечивают его работу и удобство эксплуатации.
Например, система освещения, система автоматического оттаивания и т. д.
Теплоизоляция и герметичность
Энергоэффективность холодильника напрямую зависит от качества теплоизоляции и герметичности холодильной камеры. Теплоизоляцию обеспечивают двойные стенки и дверь, заполненные внутри различными теплоизолирующими материалами, например, вспененным полиуретаном, полистиролом и т. д. За герметичность отвечают уплотнители с магнитными вставками, расположенные по периметру двери.
Более подробно узнать о работе основных деталей и систем холодильника вы можете в соответствующих статьях на нашем сайте. А если какая-то система вышла из строя и вам требуется ремонт холодильника, то вы всегда можете обратиться к специалистам «ПластХладо», которые помогут решить проблему.
Холодильники. Виды и особенности. Устройство и работа
Холодильником называют устройство, поддерживающее низкую температуру внутри его корпуса.
Это устройство имеет широкую область использования. В быту холодильники применяются для сохранности пищевых продуктов от порчи.
Конструкция и принцип работы
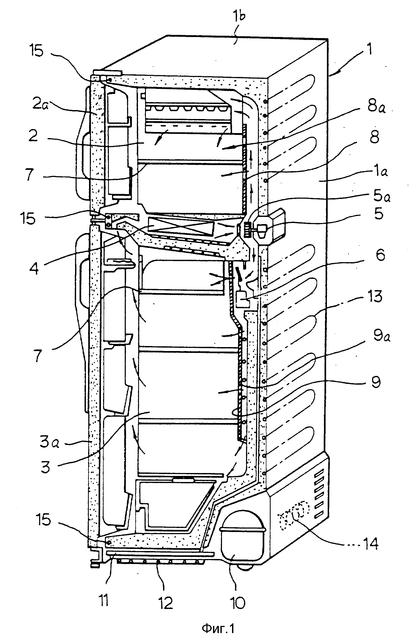
Устройство холодильника изображено на рисунке.
Принцип действия морозильных камер и холодильников ничем не отличается. Охлаждение происходит путем циркуляции специального газа внутри системы. Этот газ называют хладагентом, в качестве которого обычно применяют фреон.
Хладагент закачивается в компрессор (11), в котором сжимается. Далее он под давлением переходит в конденсатор (14), находящийся сзади устройства. Проходя через тонкие конденсаторные трубки, газ охлаждается и переходит в жидкое состояние, затем фильтруется в специальном фильтре и через трубку проникает в испаритель (16), выполненный в виде охлаждающих пластин, и находящийся сзади холодильника за корпусом. Испаритель связан трубками с морозильной камерой.
Температура кипения фреона менее ноля градусов. Он закипает в испарителе, и отнимает часть тепла из морозильной камеры, охлаждая продукты.
Во время кипения жидкий фреон в испарителе переходит в газообразное состояние и поступает снова в компрессор. Вся система охлаждения герметична. Процесс снижения температуры в морозильной камере продолжается до достижения заданного параметра, при котором специальный регулятор отключает компрессор.
Классификация
Существует много видов холодильников, которые можно разделить по признакам.
По способу охлаждения:
- Компрессорные.
- Абсорбционные.
- Термоэлектрические.
Компрессорные холодильники
Это наиболее распространенный вид холодильников, которые используются практически в каждом доме. Основу его конструкции составляет компрессор, который выполняет циркуляцию хладагента в виде газа. При этом применяется свойство газа резко нагреваться во время сжатия, и быстро охлаждаться при расширении. Конструкция и работа этого устройства рассмотрена выше.
Существуют конструкции холодильников, оснащенных двумя компрессорами для повышенного отведения тепла от морозильной камеры и среднего охлаждения в отсеке для хранения продуктов с положительной температурой.
Абсорбционные
Такие устройства не слишком распространены. Их иногда используют водители в дальних рейсах. В качестве хладагента в этом устройстве работает раствор аммиака. Если рассматривать принцип его работы, то действие происходит так:
- В зоне разграничения раствор аммиака нагревается, и аммиак испаряется.
- Газ поступает в испаритель, в котором он расширяется и забирает тепло из отсека хранения продуктов.
- В это же время оставшийся раствор проходит в камеру абсорбции.
- После прохождения испарителя аммиак нагревается и поступает в абсорбционную камеру, в которой смешивается со слабым раствором аммиака, увеличивая его концентрацию. Место смешивания может обдуваться вентиляторами, либо охлаждаться естественным образом.
Образованный за один цикл раствор снова поступает в камеру нагревания, и циркуляция продолжается до достижения заданной температуры, необходимой для охлаждения продуктов.
У этой конструкции много недостатков, ограничивающих сферу применения. Концентрированный раствор аммиака слишком опасен для человека. Изготовители создают специальную защиту, которая защищает устройство от испарения аммиака в воздух. Эффективность работы абсорбционной установки невелика, охлаждение происходит медленно, что не дает возможности создавать большие камеры для заморозки.
Достоинствами абсорбционного охлаждающего устройства является то, что источником тепла могут служить электронагревательные ТЭНы, горючий газ, выхлопные газы автомобиля.
Термоэлектрические
В таких конструкциях используется принцип прямого поглощения тепла. В этом устройстве нет системы циркуляции, хладагента, различных переходов жидкости в газ и т.д. Охладителем служит полупроводниковая пластина, которая называется элементом Пельтье, и работает по следующему принципу: под действием электричества одна сторона пластины (элемента Пельтье) охлаждается, забирая тепло из камеры, а другая нагревается.
Недостатки
- Рабочий ток ограничен для предотвращения перегрузки блока питания.
- Существует предел разницы температур между внешней средой и камерой охлаждения. Например, если этот параметр равен 20 градусам, то летом при 30-градусной жаре продукты смогут охладиться только до +10 градусов.
- Существует также наименьшая температура, меньше которой элемент Пельтье не сможет охладиться. Дорогостоящие термоэлектрические установки способны охлаждать продукты только до -6 градусов.
- Тепло отводится медленно.
Эти недостатки не способствуют снижению популярности термоэлектрических холодильников, которые часто используются автомобилистами, а также путешественниками и туристами на природе.
По способу установки:
- Настольные устройства изготавливаются небольших габаритов, удобных для хранения продуктов и напитков в небольшом объеме.
- Настенные модели изготавливаются в виде навесных шкафов различных габаритов. Их удобно встраивать в интерьер кухонного гарнитура.
- Напольный вариант холодильника является наиболее популярным и знакомым всем людям. Они бывают с несколькими камерами и с разным числом дверок, с несколькими компрессорами. Этот вид имеет много исполнений.
- Встраиваемые модели используются в быту довольно редко. Его недостатком является обеспечение притока воздуха для охлаждения. При встраивании в мебель или другое место — это условие обеспечить не всегда удается.
По количеству камер:
- Однокамерные холодильники имеют небольшую стоимость, оснащены одной дверцей и небольшой морозильной камерой. Они нуждаются в своевременном размораживании.
- Двухкамерные модели производятся с разными исполнениями объемов холодильного и морозильного отделения. Если корпус оснащен двумя дверцами, то температура сохраняется дольше.
- Трехкамерные устройства появились недавно. Их достоинством является наличие вспомогательной температурной зоны для хранения продуктов.
- 4-х и 5-ти камерные могут оснащаться баром, влажной и сухой зоной свежести. Эти модели относятся к дорогостоящей технике.
Технические характеристики
Если вам необходимо приобрести холодильник, то для правильного выбора следует ознакомиться с параметрами этого устройства.
Размеры
- Маленькие холодильники имеют высоту не более 1,5 метров и ширину не больше 59 см. Они удобны для использования в офисе или на даче. Часто такие охлаждающие устройства устанавливают в квартирах для посуточной сдачи в аренду, либо в номерах гостиниц. Существуют холодильники с ограниченным функционалом (минибары для охлаждения напитков).
- Стандартные. Такие холодильники изготавливают шириной до 60 см и высотой до 1,8 метра. Это наиболее удобные устройства, разработанные для средней кухни, и для семьи из трех человек.
- Европейский стандарт. Размеры достигают 0,8 м в ширину и 2 метров в высоту. Это хороший вариант для большой просторной квартиры.
- Большие холодильники предназначены для семьи из 4-5 человек, оснащены несколькими дверцами, подходят для хранения любых продуктов, удобны в пользовании, так как имеют разделение на отсеки для разных типов продуктов. Высота их может достигать 2,1 метра, ширина 0,9 м.
Объем
Существует понятие полезного объема камеры, который может значительно отличаться от общего объема. Это связано с большими перегородками.
- 50 литров имеют объем небольшие модели высотой до 0,9 м, в работе они довольно шумные, и требуют частой разморозки.
- 350 литров чаще всего имеют двухкамерные холодильники, морозильная камера у них от 50 до 160 литров.
- 400 литров полезного объема имеют обычно трехкамерные холодильники с выдвижными ящиками.
- 500-800 литров имеют объем двухдверные большие шкафы с множеством дополнительных функций. Стоимость таких моделей довольно высока, и зависит от бренда производителя, объема и функциональности.
Холодильные камеры
- Для кратковременного хранения. В такой конструкции продукты можно хранить от 3 до 5 суток.
- Для длительного хранения. В них продукты можно хранить значительно дольше, но перед этим их заранее замораживают. Если в магазине хозяйка часто приобретает уже замороженные мясные или рыбные продукты, то такие камеры наиболее подходящие для хранения.
- Для охлаждения или заморозки. В их отделах можно хранить разные продукты, купленные в незамороженном виде.
- Для быстрой заморозки. Шоковое замораживание происходит за 1-1,5 часа. Если вы часто своими руками готовите продукты, которые необходимо быстро замораживать, то эта камера будет оптимальным выбором.
Морозильные камеры
Условно температурный режим в морозильных камерах обозначают звездочками:
- * — температура до -6 градусов, продукты можно хранить до 1 недели. Для длительного хранения пищи эта камера не подходи.
- ** — температура в камере достигает -12 градусов, и продукты можно хранить до одного месяца.
- *** — эта камера уже подходит для длительного хранения до трех месяцев, и температура в ней опускается до -18 градусов.
- **** — в такой морозильной камере температура может достигать -24 градусов, и продукты способны сохранять свои вкусовые качества до 1 года. Можно выполнять заготовку рыбы, мяса или ягод.
Системы размораживания
- Ручная. Это наиболее простая и дешевая система разморозки. При этом размораживается морозильная и холодильная камеры. Компрессор отключают, ледяной налет тает, и стекает в отведенную емкость.
- «No Frost». Эта система применяется в дорогостоящих моделях, и переводится с английского как «без инея». Она может использоваться как в морозильных, так и в холодильных камерах. Во время работы холодильника на стенках камеры не образуется ледяного и снежного налета, холодный воздух распределяется равномерно по объему камеры с помощью специального вентилятора.
Дополнительные функции
- Сохранение холода. При отсутствии электроэнергии холод долго сохраняется.
- Антибактериальное покрытие. На стенках камеры применяют особое покрытие с содержанием серебра, не допускающее размножение бактерий.
- Телевизор. Эта опция применяется только в больших дорогостоящих конструкциях. Размер экрана телевизора не более 15 дюймов.
- Генератор льда.
- Защита от детей. Эта функция позволяет заблокировать панель управления или дверцу холодильника.
- Зона свежести. Имеется отдельный отсек с нулевой температурой.
- Индикатор открытой двери. Подается звуковой или световой сигнал, если вы забыли закрыть дверцу холодильника.
- Встроенные часы.
- Режим «отпуск». Если вас долго не будет дома, а в холодильнике нет продуктов, то не нужно оставлять дверцу открытой для проветривания. Достаточно включить этот режим, и холодильник будет самостоятельно поддерживать температуру около +15 градусов, и вентилировать камеры.
Похожие темы:
Устройство и принцип работы холодильника
Устройство холодильника:
Однокамерные холодильники.
Однокамерные холодильники устроены довольно просто: компрессор, испаритель, пускозащитное реле и газо-механический датчик или электронный датчик (в зависимости от года производства).
Это, как правило, все однодверные холодильники с маленькой морозильной камерой внутри, она же и является основным источником холода для общей камеры (основной испаритель), так как по законам физики холодный воздух всегда опускается в низ, то у однокамерных холодильников морозильная камера всегда располагается в верху.
Работает это так:
Мотор-компрессор закачивает фреон в конденсатор, там он частично остывает и конденсируется, т.е. становится жидким. Затем, через патрон осушителя (фильтр) попадает в капиллярную трубку и, пройдя по ней, поступает в испаритель.
После поступления его в испаритель начинается физический процесс перехода его в газообразное состояние. Тем самым температура его меняется из плюсовой в минусовую, за счет чего охлаждается испаритель и в свою очередь температура в камере.
Газ пройдя весь испаритель попадает в мотор-компрессор в котором преобразуется опять в жидкое состояние и цикл повторяется вновь, до тех пор пока температура в камере не опустится до заданной, после чего терморегулятор отключит мотор-компрессор .
Под действие окружающей среды температура в камере начнет повышаться, терморегулятор почувствует повышения температуры, включит мотор-компрессор и цикл повторится.
Двухкамерные холодильники.
Двухкамерные холодильники устроены несколько сложнее однокамерных, расположение морозильной камеры возможно как верхнее так и нижнее, за счет того что в каждой камере установлен свой испаритель который охлаждает только объем своей камеры.
Так же двухкамерные холодильники бывают двух компрессорные, что дает возможность использование только одной необходимой в данное время камеры, камеры отгорожены друг от друга теплоизолирующей перегородкой, что исключает потерю холода, когда одна из камер отключена.
С одним компрессором раздельное использование камер не возможно, испарителя хоть и два, но в одно компрессорном холодильникеони замкнуты в одну цепь, у них один контур по которому циркулирует фреон. Работает одно компрессорный холодильник так: сначала охлаждается морозильная камера она всегда в приоритете, до тех пор, пока испаритель морозильной камеры не охладится до минусовой температуры фреон в холодильную камеру поступать не начнет. Отключение компрессора происходит по датчику испарителя холодильной камеры, после того как испаритель морозильной камеры полностью промерз, фреон начинает поступать в испаритель холодильной камеры, закачка фреона начинается с места входа капиллярной трубки а датчик всегда крепится на противоположном конце испарителя. Испаритель холодильной камеры охлаждается до минус 14 тогда датчик отключает компрессор, после отключения компрессора температура воздуха в холодильной камере под действием окружающей среды нагревается и нагревает испаритель, датчик чувствуя повышения температуры дает сигнал на включения компрессора и процесс повторяется вновь.
Двух камерные холодильники с двумя компрессорами значительно удобнее, позволяют использовать нужную вам камеру отдельно от той камеру в использовании которой нет необходимости оставляя ее выключенной, что в одно компрессорных холодильниках невозможно, это очень удобно и экономично.
С системой NO Frost.
Холодильники с системой NoFrost отличаются от холодильников с обычной системой охлаждения тем, что весь процесс охлаждения холодильной и морозильной камеры скрыт от пользователя. В таких холодильниках нет привычных полок в морозильной камере обросших снегом, нет намерзания инея на задней стенки холодильной камеры. Охлаждение камер в холодильниках с системой NoFrost происходит за счет обдува холодным воздухом. Возникает вопрос, откуда же берется этот холодный воздух? Работают такие холодильники так: холодильник с системой NoFrost имеет, как правило, один испаритель расположен он всегда в морозильной камере, расположение морозильной камеры может быть как верхнее, так и нижнее. Испаритель располагается за пластиковой обшивкой. За испарителем расположен вентилятор, который всасывает теплый воздух из камеры пропускает его через испаритель, тем самым охлаждая его и подает уже холодный воздух по специальным каналам в холодильную и морозильную камеру. За счет этой циркуляции воздух в камерах охлаждается до заданной температуры, в холодильной камере это +4, +6 градусов в морозильной -18 принято считать, что в холодильниках с системой NoFrost не образовывается снег и они не требуют размораживания, это не совсем так снег в таких холодильниках нарастает на испарители который скрыт от глаз пользователя, в испаритель в строен электрический нагреватель (тен) который один раз в 8-16 часов включает механический или электронный таймер (в зависимости от модели холодильника) и весь образовавшийся снег тает, а талая вода стекает по дренажной трубке в специальную емкость от куда испаряется. Весь этот процесс не требует вашего участия.
6 простых обновлений, чтобы превратить ваш старый холодильник в умный холодильник
Первое поколение умных холодильников начинает появляться в Омахе, и наш собственный Тодд Даганаар, президент Nebraska Home Appliance, недавно дал интервью Angie’s List, чтобы получить перспектива опытного специалиста по обслуживанию. Последний взгляд Тодда на умные устройства:
На данный момент покупайте умные устройства только в том случае, если у вас есть располагаемый доход, вы видите, что пользуетесь преимуществами некоторых действительно интересных функций, и хотите решительно проголосовать за то, чтобы увидеть больше этих устройств в мире. будущее.В противном случае мы рекомендуем подождать год или два, пока эти продукты упадут в цене и созреют.
А что, если тебя разорвут? Что делать, если вы хотите дождаться снижения цен на интеллектуальную технику, но при этом не можете дождаться уже доступных функций?
Мы вас слышим.
Мы нашли самый многофункциональный умный холодильник на рынке — холодильник Samsung Family Hub ™, технологический гигант за 6000 долларов, — а затем придумали решения своими руками, чтобы превратить любой обычный холодильник в функциональный и функциональный. холодильник в качестве Семейного центра.
1. Функциональность планшета
Smart Tech: Холодильник Samsung Family Hub ™ оснащен встроенным сенсорным экраном с поддержкой Wi-Fi, который использует ту же операционную систему, что и любой телефон или планшет Samsung. По сути, дверца вашего холодильника — это огромный планшет.
Обычное техническое решение: Закрепите iPad или планшет Android на холодильнике, используя одно из множества доступных креплений для холодильника для планшетов, например, регулируемое универсальное крепление для холодильника Aduro U-Grip для планшетов (19 долларов.99). (Не волнуйтесь, поскольку в планшетах используются твердотельные жесткие диски, магниты не повредят планшет.) Если ваш холодильник изготовлен из нержавеющей стали, вам понадобятся липкие полоски, чтобы удерживать крепление вверх.
Что касается планшета, вам понадобится как можно больший экран, чтобы его было легче читать и использовать, что означает либо 12,9-дюймовый iPad Pro (799,99 долларов), либо гигантский 18,4-дюймовый Samsung Galaxy View. (499,99 долларов США). Однако это предложение; смело используйте планшет, который у вас уже есть.
Поскольку домом будет кухня, планшет следует использовать, чтобы он помогал готовить, покупать продукты и организовывать семейную жизнь.К счастью, есть приложение буквально для всего:
- Семейный календарь и органайзер: Cozi (бесплатно). Интуитивно понятный календарь для управления расписанием всей вашей семьи: мероприятия, встречи, дедлайны, дела и т. Д. Трехкратный обладатель премии Mom’s Choice Award.
- Менеджер рецептов: Паприка (4,99 доллара США). Сохраняйте и систематизируйте рецепты из любого места в Интернете. Рецепты интерактивны, поэтому вы можете вычеркивать ингредиенты, выделять текущие шаги и устанавливать таймеры. Кроме того, Paprika позволяет создавать еженедельные или ежемесячные планы питания и автоматически создавать простые в использовании списки продуктов.
- Купоны / скидки: ibotta (бесплатно). Найдите скидки, прежде чем делать покупки, покупайте избранные продукты в ваших любимых магазинах и розничных продавцах, а затем подтверждайте свои покупки с помощью фотографии квитанции, чтобы получить кэшбэк.
Дополнительное преимущество «тупого» технического решения? Вы можете снять планшет с холодильника, если хотите сесть и изучить рецепты или добавить последние штрихи в свой список покупок. Обратная сторона? Зарядка. Мы рекомендуем заряжать его в середине дня, чтобы он был полностью приготовлен как на ужин, так и на завтрак.Питание можно было направить к планшету через шарнир, но эти провода было бы сложно спрятать.
2. Кухонная развлекательная система
Smart Tech: Холодильник Samsung Family Hub ™ имеет встроенные динамики, которые синхронизируются с Pandora и TuneIn Radio. Сенсорный экран также может отображать совместимые телевизоры Samsung, поэтому вы можете выйти из гостиной и поставить запеканку в духовку, не останавливая просмотр.
Обычное техническое решение: Используйте подключенный планшет для воспроизведения музыки из собственной библиотеки или любого потокового сервиса, который вам нравится — Pandora, Spotify, Apple Music, Amazon Prime Music и других.Вы также можете использовать его для потоковой передачи шоу и фильмов с Netflix, Hulu или, если вы не хотите платить за услугу потокового ТВ / фильмов, Crackle, что является еще одной причиной потратиться на более крупный планшет (так что вы не т надо прищуриться).
Чтобы улучшить качество прослушивания и просмотра, синхронизируйте планшет с намагниченными динамиками Bluetooth от Jackco (35,99 долларов США), чтобы превратить вашу кухню во вторую комнату для развлечений.
3. Камеры в холодильнике
Smart Tech: Холодильник Samsung Family Hub ™ оснащен тремя внутренними камерами, поэтому вы можете делать снимки того, что у вас есть.Вы можете проверить содержимое холодильника в магазине, чтобы узнать, действительно ли у вас закончились яйца, и вы можете проверить, прежде чем открывать дверь, чтобы увидеть, действительно ли внутри есть что-нибудь, что вы хотите съесть.
Обычное техническое решение: Установите домашние камеры безопасности Oco Wireless Wi-Fi 720P HD в холодильник (три по 79 долларов за штуку равняются 237 долларам в сумме). Они достаточно малы, чтобы не занимать много места, имеют ночное видение и могут транслироваться в прямом эфире на любом устройстве. Пока вы не держите холодильник слишком холодным, с ним все будет хорошо.
Вероятно, будет быстрее просто открыть дверь, чтобы посмотреть, что внутри, в отличие от открытия приложения для видеонаблюдения и ожидания его загрузки, но если вы хотите, чтобы еда оставалась свежей дольше, вы также можете сохранить изображения из видеозаписей с камер видеонаблюдения в облако и просматривать их на подключенном планшете.
Дополнительный совет: если ваша вторая половинка пытается сократить количество перекусов, вы можете помочь, настроив оповещения для получения уведомлений при обнаружении движения в холодильнике.Но это своего рода этическая серая зона.
4. Быстрый и простой заказ продуктов
Smart Tech: Холодильник Samsung Family Hub ™ интегрируется с Groceries by Mastercard, что позволяет подключаться к Fresh Direct или Shop Rite, создавать списки продуктов и иметь ваши продукты доставлены прямо к вашей двери.
Обычное техническое решение: Если вы живете в одном из счастливых городских районов, которые в настоящее время обслуживает AmazonFresh (извините, Омаха, пока не мы), познакомьтесь с Amazon Dash.Amazon Dash позволяет быстро создавать списки продуктов, сканируя штрих-коды или вслух называя продукты. Затем Amazon Dash синхронизируется с вашей учетной записью AmazonFresh, отправляя список покупок для доставки к вашей двери.
Для нас, жителей Омахана, мы можем обратиться к программе Hy-Vee Aisles Online, которая, хотя и не так удобна, но позволяет делать покупки в Интернете и заказывать продукты либо до дверей (стоимость доставки составляет 4,95 доллара США, при минимальной покупке), либо в наличии. самовывоз из магазина (2 $.95 сбор за самовывоз, отменяется при минимальной покупке).
А если серьезно, Amazon, мы — крупный мегаполис! Отдайте и нам товар!
5. Заметки и рисунки
Smart Tech: Холодильник Samsung Family Hub ™ позволяет семьям делать заметки друг другу или рисовать для украшения.
Обычное техническое решение: Давайте будем проще: магнитная доска для сухого стирания с магнитными маркерами (24,99 доллара США).Уф, это было круто.
Хотя это может показаться излишним, холодильник долгое время служил центром семейного общения и вращающейся художественной галереи. Так почему бы не дать ему возможность делать то же самое?
Вы также можете спросить, а почему бы не приложение для планшета? Что ж, мы не хотим полностью терять связь с нашей аналоговой жизнью; в жизни есть определенные вещи, которые останутся более простыми и эффективными по сравнению с их цифровыми аналогами. Записать мужу записку срочно вылить воду из посудомоечной машины будет быстрее, и он вряд ли пропустит ее, если вы напишете ее от руки.Кроме того, в тот момент, когда вы (пытаетесь) использовать один из этих пластиковых стилусов на сенсорном экране (или, не дай Бог, на своем пальце), это именно тот момент, когда вы хотите, чтобы у вас были настоящие письменные принадлежности и поверхность для письма.
6. Длительная свежесть
Smart Tech: Холодильник Samsung Family Hub ™ оснащен тройной системой охлаждения, благодаря которой ваши продукты остаются свежими и дольше.
Обычное техническое решение: Добавьте несколько фильтров OXO Crisper (9 долларов.99), чтобы отфильтровать газообразный этилен, образующийся при созревании фруктов, который, если вы не знали, является причиной порчи фруктов и овощей. Или, если у вас есть место в холодильнике, вы можете перейти на продукт OXO Produce Keeper (15 долларов США), который включает в себя фильтр и позволяет регулировать вентиляцию для обеспечения оптимальной влажности.
Вам нужно будет заменять фильтры каждые 90 дней, но деньги, которые вы сэкономите на испорченных продуктах, должны более чем компенсировать потраченные вами деньги. И только подумайте: , не более , которые лезут в ваш картофель фри, только чтобы вытащить слизистую зелень и мягкие фрукты.Йех.
Вы также можете рассмотреть возможность использования такого приложения, как Pantry Manager, для отслеживания сроков годности вашей еды. Хотя, поскольку срок годности на самом деле не указывает, когда еда портится и способствует проблеме пищевых отходов в Америке, мы не рекомендуем зацикливаться на этих маленьких Use Bys и Best Before.
Заключение
Оказывается, можно обмануть обычный старый холодильник, чтобы создать свое собственное умное устройство, хотя конечный результат может больше напоминать монстра Франкенштейна, чем блестящий прогресс современных технологий.И все же, выполнив это небольшое упражнение, мы очень рады попробовать некоторые из вышеперечисленных на наших кухнях.
«Ага, но чего стоит сделать весь шебанг?» От 1000 до 1500 долларов (включая сменные фильтры и еженедельную доставку продуктов), что по сравнению с ценой на холодильник Samsung Family Hub ™ в 6000 долларов кажется вполне разумным. Тем не менее, для тех из нас, у кого нет чудовищных бюджетов на холодильник, пока можно пойти по частям.
Холодильник и морозильник из нержавеющей стали
Новая встраиваемая система охлаждения Freedom® с внутренней отделкой из нержавеющей стали
Исключительно изнутри
Присмотритесь к консервации, которая разрушает все формы.Холодильники и морозильники с культовым интерьером из нержавеющей стали в сочетании с отмеченным наградами освещением в театральном стиле создают неоспоримое сияние. TFT-дисплей и Wi-Fi с функцией Home Connect ™ объединяются для интуитивно понятного управления температурой, влажностью и другими параметрами дома или вдали. А коллекция холодильников Freedom ® — с холодильниками, морозильниками и винными опциями — безупречно конфигурируется, чтобы предоставить возможности персонализации, которые идеально соответствуют вашему образу жизни.
Коллекция холодильного оборудования Freedom®
Персонализированная консервация
Коллекция холодильников Exclusive Freedom ®
Thermador Freedom ® Refrigeration — это элитная коллекция интегрированных конфигураций холодильников, морозильников, под прилавком и колонок для вина, которая предлагает максимальную свободу дизайна для любого пространства дома.От традиционных колонн холодильников до неожиданных и любых промежуточных пространств — откройте для себя возможности холодильного оборудования, разработанного для соответствия вашему кулинарному образу жизни и дополнения вашего уникального эстетического дизайна.
Индивидуальные экстерьеры панелей, улучшающие дизайн интерьера
Дизайн встраиваемого холодильника и колонки с учетом вашего личного вкуса
Независимо от того, предпочитаете ли вы высококачественную нержавеющую сталь или бесшовную конструкцию с индивидуальными панелями, подходящими для вашего шкафа, наша коллекция холодильников Freedom ® может дополнить, стать центром или стать единым целым с вашим домом, при этом полностью удовлетворяя потребности в сохранении, которые ваши индивидуальные требования к дизайну.
Узнать больше
Исключительное изнутри
Интерьер из нержавеющей стали
Сталь, в отличие от других
Мы помещаем нашу культовую высококачественную нержавеющую сталь внутрь консервации, которая определяет индивидуальную элегантность во всем.Добавление силы в смелый промышленный дизайн делает эти интерьеры из нержавеющей стали безошибочно узнаваемыми Thermador.
Узнать больше
ПОСМОТРЕТЬ ВНУТРИ
Всегда под контролем
Холодильное оборудование с поддержкой Wi-Fi и Home Connect ™
Вся наша линия консервации оснащена Wi-Fi с функцией Home Connect ™, благодаря чему температура, влажность и ряд других средств управления доступны, если вас нет рядом.В другой стране или в другой комнате наше интуитивно понятное приложение и умные команды динамиков означают, что вы всегда на связи.
Узнать больше
ПОДКЛЮЧИТЕСЬ ЗДЕСЬ
Освещение в театральном стиле
Освещение и отмеченный наградами
От отмеченного наградами светильника в театральном стиле из нашей консервационной коллекции у вас захватывает дух.Но нет одного слова, чтобы точно описать захватывающее дух очарование, которое освещение создает при каждом открытии.
Узнать больше
УЗНАТЬ БОЛЬШЕ
Ящики и полки на заказ
Индивидуальные настройки изнутри
Благодаря почти безграничным вариантам конфигурации корзины и полки ваши колонны идеально подходят для вашей жизни, привнося совершенно новое ощущение порядка во все ваше хранение.Потому что ваши вкусы не только изысканны. Они уникальны для вас и вашего образа жизни.
Узнать больше
Решение для бесшовной замены
Встраиваемая холодильная колонна 23,5 дюйма
Для беспроблемной замены в заранее определенном пространстве
Сохраните свою планировку и шкафы с помощью тщательно спроектированных приборов, созданных с качеством и инновациями, которые вы ожидаете от Thermador.Холодильник 23,5 дюйма предназначен для работы в паре с любыми морозильными колоннами 18 и 24 дюйма — вместе они идеально впишутся в пространства размером 42 и 48 дюймов без необходимости переделывать существующие шкафы.
ИЗУЧИТЕ ПРОСТОЕ ЗАМЕНУ
Оставайтесь с нами
Новая коллекция под прилавком появится в начале 2022 года.
Наша коллекция под прилавком обновляется.Нажмите ниже, чтобы узнать о характеристиках продукта, функциях и обновлениях.
ПОДРОБНЕЕ
холодильников на каждую кухню
холодильников на каждую кухню | Водоворот
Найдите лучшие варианты холодильников для вашего дома
Целенаправленные инновации создают домашнее холодильное оборудование, ориентированное на семью.
Найдите комнату, которая вам подходит, и найдите все
Получите необходимое пространство с холодильниками Whirlpool ® .Отрегулируйте полку бесконечной выдвижной полки, чтобы положить небольшие закуски сбоку и крупные предметы в центр.
Купить эту функцию
Найдите комнату, которая вам подходит, и найдите все
Получите необходимое пространство с холодильниками Whirlpool ® . Отрегулируйте полку бесконечной выдвижной полки, чтобы положить небольшие закуски сбоку, а крупные — в центр.
Купить эту функцию
Дополнительный лед и больше места для хранения, когда он вам нужен
Узнайте, как функции ледогенератора, доступные в наших вариантах холодильника, соответствуют вашему образу жизни.
Двойные льдогенераторы
Храните в два раза больше льда 2 , чтобы вы всегда были готовы к компании, наполнению кулеров и многому другому.
Купить эту функцию
In-Door-Ice
® для хранения
Получите дополнительную полку в морозильной камере с контейнером для льда, который был перемещен к двери.
Купить эту функцию
Комплект ледогенератора EZ Connect
Забудьте о повторном наполнении лотков для льда, добавив этот дополнительный льдогенератор.
Купить эту функцию
21 куб. футов. Холодильник с верхней морозильной камерой
WRT541SZDZ
Нержавеющая сталь, устойчивая к отпечаткам пальцев
Контейнер Flexi-Slide ™ перемещается из стороны в сторону
так что вы можете
В легко поместятся более высокие предметы .
Купить этот холодильник
23 куб. футов. Холодильник Side-by-Side
WRS973CIHZ
Нержавеющая сталь, устойчивая к отпечаткам пальцев
Охлаждение каждой полки с несколькими вентиляционными отверстиями
Охлаждение TotalCoverage.
Купить этот холодильник
18 куб. футов. Холодильник с нижней морозильной камерой
WRB329DMBM
Монохроматическая нержавеющая сталь
Вы всегда сможете увидеть свои свежие и
замороженный
питание со светодиодной подсветкой салона.
Купить этот холодильник
24 куб. ft. Холодильник с французской дверью
WRF954CIHV
Черная нержавеющая сталь, устойчивая к отпечаткам пальцев
Магазин 30% больше 1 с
такие функции, как
полка бесконечности, чтобы вы могли найти все это.
Купить этот холодильник
Изучите холодильники Whirlpool
® и найдите подходящую модель для своей кухни
Холодильное оборудование произвело революцию в области хранения продуктов, когда оно впервые появилось на домашних кухнях. Сегодня холодильники Whirlpool ® по-прежнему предлагают инновационные функции, которые помогут вам и вашей семье продолжить работу.Некоторые холодильники имеют планировку, напоминающую кладовую, что позволяет хранить больше и оставаться организованным. Мы также предлагаем коллекцию холодильников, центров напитков и другого холодильного оборудования различных размеров, стилей и цветов, которые подходят вашему дому и образу жизни, включая нержавеющую сталь. Если вы ищете новейшие технологии охлаждения или вам нужно дополнительное хранилище свежих или замороженных продуктов, мы здесь, чтобы помочь вам найти лучшую технику для вашей семьи.
Изучите наши продажи холодильников, чтобы узнать о текущих сделках и экономии на холодильниках Whirlpool ® .Просмотрите нашу коллекцию домашнего холодильного оборудования, чтобы найти устройство, которое подходит именно вам. Также не забудьте ознакомиться с нашим полным ассортиментом кухонной техники для плит, посудомоечных машин и многого другого.
Связанная страница
1. WRF954, WRF974, WRF984, WRFA94. Среди ведущих французских производителей дверей.
2. По сравнению с моделью WRF757 без вторичного льдогенератора.
Верх
Товар добавлен в список сравнения, вы можете найти его в конце этой страницы
Модель:
Цвет:
Количество:
Итоговая цена:
холодильников | Amana
Холодильники | Амана
Нужна помощь?
Воспользуйтесь нашим рекомендательным инструментом, чтобы найти лучший прибор для вас.
Начать
Ваш лучший выбор:
Основные характеристики:
- {{feature.shortDescription}}
Узнать больше
{{activeProduct.modelNumber}}
{{activeProductName}}
{{rating.value.toFixed (1)}} ({{rating.count}})
$ {{activeProduct.msrp}}
Рекомендуемая производителем розничная цена
{{rating.value.toFixed (1)}} ({{rating.count}})
Выучить больше
Отображение
8
из
8
Результаты
Увидеть все
Содержание страницы изменено
Сортировать по
Актуальность
Цена (от самой низкой к высокой)
Цена (от самой высокой до самой низкой)
Новейшие
Самые популярные
Имя (по возрастанию)
Имя (по убыванию)
Функции
Дополнительный автоматический комплект для изготовления льда
Молочная корзина
Полноразмерный ящик для фруктов и овощей
Функции
Контейнеры для фруктов Garden Fresh ™ с контролируемой влажностью
галлонов дверных ящиков для хранения
Выдвижной ящик EasyFreezer ™
Функции
Контейнеры для фруктов Garden Fresh ™ с контролируемой влажностью
галлонов дверных ящиков для хранения
Регулируемые дверные полки
Функции
Crispers Garden Fresh ™ с контролируемой влажностью
Откидное хранилище
Молочная корзина
Функции
Контейнеры для фруктов Garden Fresh ™ с контролируемой влажностью
галлонов дверных ящиков для хранения
Выдвижной ящик EasyFreezer ™
Функции
21 Cu.Ft. Вместимость.
Внешний диспенсер для воды и льда с двумя подушечками и фильтром для воды EveryDrop ™
Электронные регуляторы температуры
Функции
Crispers Garden Fresh ™ с контролируемой влажностью
галлонов дверных ящиков для хранения
Откидное хранилище
Функции
25 Cu.Ft. Вместимость
Внешний диспенсер для воды и льда с двумя подушечками и фильтром для воды EveryDrop ™
Электронные регуляторы температуры
Загрузи больше
Отображение
8
из
8
Результаты
Увидеть все
К сожалению, нет доступных товаров с этим критерием.
Центр владельцев
Щелкните ссылки ниже, чтобы устранить проблему, зарегистрировать продукт или найти запасную часть.
Средство устранения неполадок
Пошаговые инструкции предлагают простые решения
Регистрация
Для получения гарантийных и защитных преимуществ зарегистрируйте свой продукт
Руководство пользователя
Потеряли руководство? Ознакомьтесь с нашей цифровой библиотекой.
Детали
Найдите нужные запасные части.
Планы обслуживания
Узнайте больше о ресурсах расширенной защиты.
Часто задаваемые вопросы
Установите 411 на свое устройство с этими общими ответами.
Бренд
Amana предлагает широкий выбор доступных и стильных холодильников, включая холодильники с верхней морозильной камерой, холодильники с нижней морозильной камерой, бок о бок холодильники и холодильники с французской дверью с нижней морозильной камерой.Ознакомьтесь с функциями хранения и свежести, которые Amana привносит в холодильники:
Контейнеры для фруктов и овощей Garden Fresh ™ с контролируемой влажностью: Как и в вашем собственном салат-баре, в этих чипсах фрукты и овощи хранятся там, где вы их видите.
Бункеры на дверце, объемом галлона: Подходит для больших напитков, таких как кувшины для молока и картонные коробки сока.
Откидные полки для хранения: Регулируемые, чтобы вы могли хранить такие предметы, как вино и 2-литровые газированные напитки.
Fast Cool Option: Охладите все в холодильнике, от следующего холодного напитка до свежего пакета с продуктами.
Стеклянные полки SpillSaver ™: Полки имеют приподнятые края, чтобы удерживать беспорядок.
Наши холодильники хранят все в пределах досягаемости и видимости, так что вы можете взять любимое и отправиться в путь. Просмотрите наш полный ассортимент холодильников.
Товар добавлен в список сравнения, вы можете найти его в конце этой страницы
: демистификация медицинского холодильника | Helmer Scientific
Медицинские учреждения испытывают повышенную нагрузку по обеспечению постоянного и надежного охлаждения для хранения чувствительных к температуре лекарств, вакцин, реагентов и образцов пациентов.Когда холодильник, используемый для клинических целей, не может обеспечить безопасную среду для хранения, возникают серьезные последствия.
Неправильные холодильники, используемые для медицинских учреждений, холодильных камер может:
- Негативно влияют на безопасность пациентов и оказание помощи из-за применения поврежденных или неэффективных методов лечения
- Привести к финансовым убыткам из-за дорогих, скомпрометированных продуктов, требующих утилизации
- Привести к потере незаменимых и ценных образцов пациентов, которые имеют решающее значение для лабораторных испытаний или исследований
- Привести к ненужному времени и ресурсам персонала для решения проблем, указанных выше
- Вызвать нарушение рабочего процесса
- Время и стоимость замены основного холодильного оборудования
Принимая во внимание серьезные последствия неправильного или ненадежного охлаждения в клинических условиях, медицинские учреждения обращаются к производителям медицинских холодильников и морозильников.
Однако, поскольку не существует универсального определения холодильника медицинского класса, может быть трудно понять, что означает «медицинский уровень». Цель этой статьи — дать рекомендации о том, какими функциями и преимуществами должен обладать холодильник, специально разработанный для клинического применения.
Определения холодильников и морозильников
В наборе инструментов CDC по хранению и обращению с вакцинами 2020 года CDC включает конкретные определения для каждого типа холодильника, доступного на рынке, включая общежития и блоки фармацевтического класса.
При покупке медицинского холодильника, независимо от области применения, важно помнить об этих определениях.
- Общежитие (Бар) Кладовая
- Комбинированный блок холодильника / морозильника с одной внешней дверцей и пластиной испарителя (охлаждающий змеевик), который обычно расположен внутри камеры льдогенератора (морозильной камеры) в холодильнике. Было показано, что эти единицы представляют значительный риск замораживания вакцин, даже когда они используются для временного хранения.
- Хозяйственный склад
- Блок для хранения вещей, предназначенный в первую очередь для домашнего использования
- Специализированная / фармацевтическая / медицинская кладовая
- Единицы, специально предназначенные для хранения клинических продуктов, вакцин и / или других биопрепаратов.
- Автономный склад
- Запоминающее устройство, которое работает независимо от любого другого устройства или системы для выполнения своей желаемой функции (т.е.е., холодильник, который работает только как холодильник, или морозильная камера, которая работает только как морозильная камера).
Хотя эти определения CDC помогают прояснить типы холодильников и морозильников, с которыми может столкнуться медицинское учреждение, они не полностью описывают, что представляет собой холодильник «медицинского класса».
Демистификация медицинского холодильного оборудования
Хотя универсального определения холодильника медицинского класса не существует, следующие атрибуты помогут прояснить, что делает холодильник специально разработанным для медицинских целей.
Температурная стабильность
Медицинские холодильники и морозильники поддерживают превосходную температурную стабильность, создавая меньше отклонений от заданного значения и избегая быстрых значительных изменений температуры. Со временем в холодильнике медицинского класса не будет значительных отклонений от заданного значения.
Однородность температуры
Однородность относится ко всем областям шкафа, поддерживающим температуру с небольшими отклонениями температуры от места к месту.Точная равномерность температуры исключает горячие и холодные точки, которые могут подвергнуть содержимое риску температурных колебаний.
Требования к однородности различаются в зависимости от условий хранения, но настоящие холодильники медицинского класса будут соответствовать даже самым строгим требованиям однородности — однородности +/- 1 градус C. При покупке нового холодильника для клинического применения убедитесь, что производитель может предоставить спецификации однородности.
Восстановление температуры
Восстановление температуры означает время, которое требуется устройству, чтобы вернуться к заданному значению после частого или продолжительного открывания дверцы.Более быстрое восстановление поддерживает правильную температуру содержимого при регулярном ежедневном использовании.
Мониторинг температуры
Поддержание заданной температуры для чувствительных лекарств, вакцин, образцов пациентов или реагентов критически важно для обеспечения безопасности пациентов. В медицинских холодильниках будут использоваться микропроцессорные контроллеры температуры и цифровые дисплеи для обеспечения точного регулирования температуры.
Essential Alarms
Холодильное оборудование медицинского назначения также будет включать стандартные сигнальные устройства, предназначенные для уведомления медицинских работников о проблемах или событиях, которые могут поставить под угрозу хранимое содержимое.Сигнализация высокого и низкого уровня, сбоя питания и открывания двери, как правило, входит в стандартную комплектацию медицинских устройств.
Некоторые производители также включают программное обеспечение и дисплеи, которые позволяют пользователям просматривать исторические данные о температуре, журнал событий и интерактивные графики температуры. Эти системы могут также регистрировать минимальную и максимальную температуру в течение определенного периода, чтобы удовлетворить нормативные требования.
Поскольку важно понимать температурную историю во время отключения электроэнергии, медицинские холодильники могут включать в себя опции для систем с резервными батареями, которые продолжают сбор данных о температуре даже при отключении основного питания.
Понимая, что многие медицинские учреждения используют сторонние решения для мониторинга своего оборудования, медицинские холодильники и морозильники предлагают специализированные функции для этого типа использования. В зависимости от предполагаемого места установки опции могут включать в себя сухие контакты сигнализации или специальные порты, позволяющие удобно разместить независимые датчики температуры внутри шкафа.
Безопасность и контроль доступа
Из-за деликатного и ценного характера клинических образцов и лекарств в медицинских холодильниках и морозильниках будут предложены варианты ограничения доступа для авторизованных пользователей.Чаще всего встречаются замки с ключом. Некоторые холодильники также предлагают электронный контроль доступа, который использует пароли или булавки для контроля и отслеживания доступа.
Настройка и конфигурации
Большинство производителей медицинского холодильного оборудования предлагают блоки разных размеров, но некоторые также позволяют настраивать параметры хранения, такие как тип, количество и расположение ящиков, полок и корзин. .
Использование правильных вариантов хранения для приложения может помочь уменьшить количество ошибок и повысить безопасность пациентов, поскольку медицинские работники могут быстро и легко загружать и извлекать содержимое холодильника.Кроме того, полки и ящики в медицинских холодильниках специально сконструированы таким образом, чтобы обеспечивать достаточный приток воздуха.
Правила о зарегистрированных поставщиках и медицинском оборудовании FDA
Холодильные камеры True Medical Grade сильно отличаются от имеющихся в продаже холодильников тем, как они спроектированы, изготовлены и обслуживаются после продажи. Медицинские холодильники — это больше, чем просто холодильные камеры, и поставщик должен рассматривать их как медицинское оборудование.
FDA Зарегистрированные поставщики холодильного оборудования для медицинских целей должны использовать другой набор стандартов, чем другие поставщики. ISO 13485 (Система менеджмента качества медицинских изделий) требует строгого соблюдения нормативных требований, касающихся контроля проектирования, тестирования и валидации продукции, а также послепродажного надзора и бдительности.
ISO 13485 помогает поставщикам проектировать, производить и поддерживать свои медицинские устройства на уровне качества, соответствующем потребностям клинических приложений.Эти организации также будут следовать 21 CFR Part 820 (Регламент системы качества FDA), который требует периодических аудитов FDA и мер по управлению и подотчетности, обеспечивающих постоянное качество оборудования и послепродажного процесса.
Понимание того, зарегистрирован ли поставщик FDA (и, следовательно, учитывает ли его холодильники и медицинские устройства), обеспечит дополнительную уверенность в качестве и надежности холодильного оборудования.
Сертификаты качества и валидации и услуги
Из-за чувствительности клинических образцов поставщики медицинских услуг могут потребовать сертификаты калибровки от поставщика, подтверждающие, что холодильная камера была откалибрована с помощью измерительного устройства, соответствующего стандарту NIST ISO 17025.
Кроме того, поставщики медицинских холодильников обычно предлагают услуги, специально разработанные для удовлетворения потребностей клинических применений. Они могут включать в себя картографирование температуры и услуги проверки для подтверждения температурных характеристик во всех местах хранения, а также руководства по квалификации установки (IQ), эксплуатационной квалификации (OQ) и квалификации производительности (PQ) для места установки.
Высокое качество строительства
Высокое качество строительства требуется для всего медицинского оборудования.Медицинские холодильники должны иметь варианты, связанные с материалами, которые делают оборудование специально подходящим для установки в медицинских лабораториях. Примеры включают использование нержавеющей стали или других материалов, предназначенных для повседневной дезинфекции, таких как антибактериальные порошковые покрытия, зарегистрированные в FDA и EPA.
Гарантии и техническое обслуживание
При рассмотрении вопроса о холодном хранении для медицинских целей уровни послепродажного обслуживания и гарантии имеют решающее значение.Понимание гарантийных сроков и того, как предоставляется обслуживание, поможет вашему предприятию управлять долгосрочными расходами на владение оборудованием. Поставщик должен быть уверен в том, что оборудование будет легко обслуживаться и надежно на долгие годы.
Заключение
Есть много факторов, которые продолжают стимулировать внедрение медицинского холодильного оборудования в системе здравоохранения.
Безопасность пациентов, потеря продукции, дорогостоящие отходы, контроль качества и нормативные требования по-прежнему делают использование холодильников медицинского назначения более необходимым для медицинских учреждений.
Хотя первоначальная стоимость приобретения медицинского холодильника может быть выше, вложения быстро окупаются. Настоящее медицинское охлаждение обеспечивает надежность и качество, помогая обеспечить долгосрочную экономию, ограничивая потребность в частом обслуживании и / или замене оборудования.
Экономия за счет надлежащего хранения важнейших терапевтических препаратов, реагентов и образцов пациентов также может быть получена за счет предотвращения отходов и повышения безопасности пациентов.
| Категория | Деталь | Расчетное потребление энергии * | Расчетная стоимость энергии ** |
|---|---|---|---|
Отопление | |||
| Отопление, электрическое | |||
| Переносной обогреватель (1500 Вт) | 1.5 кВтч в час | 0,20 $ за час | |
| Обогреватель плинтуса (шестифутовый блок) (250 Вт / фут) | 1,5 кВтч в час | 0,20 $ за час | |
| Тепловые полоски для теплового насоса | 10 кВт / ч с вентилятором | 1,30 долл. США в час | |
| Электропечь | 10.5 кВтч в час с вентилятором | 1,37 $ за час | |
| Тепловой насос без нагревательных полос (1,8 COP) *** | |||
| 1,5 тонны | 2,93 кВтч в час | 0,38 $ за час | |
| 5.0 тонн | 9,77 кВтч в час | 1,27 долл. США в час | |
Кондиционер / охлаждение | |||
| Окно / стена (8kBtu) (120V – 12 EER) | 0,73 кВтч в час | 0,09 $ в час | |
| Окно / стена (18кБТЕ) (240В) | 1.8 кВтч в час | 0,23 $ за час | |
| Центральный (3 тонны – 12 ГЭР) | 3,0 кВтч в час | 0,39 $ за час | |
| Вентилятор для всего дома | 0,2–0,4 кВтч в час | 0,03–0,05 долл. США в час | |
| Пьедестал вентилятор | 0.03 кВтч в час | Менее 0,01 USD в час | |
| Потолочный вентилятор | 0,025–0,075 кВтч в час | Менее 0,01 USD в час | |
Водяное отопление | |||
| Водонагреватель электрический | 380–500 кВтч в месяц | 49 долларов.40–65 долларов США в месяц | |
| Мгновенно (110 В, 29 А) при 1 галлонах в минуту, 70 ° F | 380–500 кВтч в месяц | 49,40–65 долларов США в месяц | |
| Мгновенно (240 В, 50 А) при 2,5 галлона в минуту, 83 ° F | 12 кВтч в месяц | 1,56 $ в месяц | |
Водонагреватель с тепловым насосом (50–75 галлонов) | 77 кВтч в месяц | 10 долларов США.01 в месяц | |
| Водонагреватель с тепловым насосом (> 75 галлонов) | 111,8 кВтч в месяц | 14,53 $ в месяц | |
Кухня | |||
| Диапазон, электрический | |||
| Духовка | 2,3 кВтч в час | 0 руб.30 в час | |
| Духовка: поверхность | 1–1,5 кВтч в час | 0,13–0,20 доллара в час | |
| Духовка: функция самоочистки | 6 кВт / час уборка | 0,78 $ за уборку | |
| Микроволновая печь | 0,12 кВтч за 5 мин | 0 руб.02 за 5 мин | |
| Бройлер переносной электрический | 1,5 кВтч в час | 0,20 $ за час | |
| Кофеварка на одну порцию | 0,26 кВтч на варку | 0,03 доллара за варку | |
| Кофеварка | 0,12 кВтч на варку | 0 руб.02 за варку | |
| Кофеварка / заварка, подогреватель на | 0,4 кВтч в час | 0,05 $ в час | |
| Посудомоечная машина: нормальный цикл (без горячей воды) | 1–2,17 кВтч на нагрузку | 0,13–0,28 доллара за загрузку | |
| Посудомоечная машина: цикл энергосбережения | 0.5 кВтч на нагрузку | 0,07 USD за загрузку | |
| Тостер (2 ломтика) | 0,04 кВтч за одно использование | Менее 0,01 доллара США за одно использование | |
| Тостер | 0,75 кВтч – час | 0,10 $ за час | |
| Вафельница, 4 порции | 0.33 кВтч за одно использование | 0,04 $ за использование | |
Холодильник / морозильник | |||
| Старые агрегаты | |||
| Холодильник (незамерзающий) на 15 куб. футов (1996 шт.) | 150 кВтч в месяц | 19,50 $ в месяц | |
| Морозильник (ручное размораживание), 15 куб.футы | 90 кВтч в месяц | 11,70 $ в месяц | |
| Новые агрегаты — Холодильники ENERGY STAR | |||
| Холодильник ENERGY STAR, 14 куб. футы | 34,5 кВтч в месяц | 4,49 $ в месяц | |
| Холодильник ENERGY STAR (незамерзающий), 17 куб.фут | 35 кВтч в месяц | 4,55 $ в месяц | |
| Холодильник ENERGY STAR (незамерзающий), 19 куб. футы | 46 кВтч в месяц | 5,98 $ в месяц | |
| Холодильник ENERGY STAR (бок о бок) 21 куб. футы | 51 кВтч в месяц | 6,63 $ в месяц | |
| Холодильник ENERGY STAR (незамерзающий) 24 куб.футы | 54 кВтч в месяц | 7,02 $ в месяц | |
| Холодильник ENERGY STAR (бок о бок) 25 куб. футы | 60 кВтч в месяц | 7.80 $ в месяц | |
Электроника | |||
| Телевидение | |||
| Светодиод / 4K UHD | |||
| 40 «–50» | 0.071 кВтч в час | Менее 0,01 USD в час | |
| 50 «–60» | 0,12 кВтч в час | Менее 0,01 USD в час | |
| 60 «–75» | 0,15 кВтч в час | Менее 0,01 USD в час | |
| > 75 « | 0.18 кВтч в час | 0,02 $ в час | |
| OLED / 4 КБ | |||
| 20 «–30» | 0,023 кВтч в час | Менее 0,01 USD в час | |
| 30 «–40» | 0.045 кВтч в час | Менее 0,01 USD в час | |
| > 40 « | 0,14 кВтч в час | Менее 0,01 USD в час | |
| Светодиод / HDTV / 720P | |||
| 20 «–30» | 0.024 кВтч в час | Менее 0,01 USD в час | |
| > 30 « | 0,035 кВтч в час | Менее 0,01 USD в час | |
| Светодиод / HDTV / 1080P | |||
| 20 «–30» | 0.014 кВтч в час | Менее 0,01 USD в час | |
| 30 «–40» | 0,019 кВтч в час | Менее 0,01 USD в час | |
| > 40 « | 0,025 кВтч в час | Менее 0,01 USD в час | |
| Плазма | |||
| 40 «–49» | 0.4 кВтч в час | 0,05 $ в час | |
| > 50 « | 0,48 кВтч в час | 0,06 $ в час | |
| ЖК-дисплей | |||
| 40 «–49» | 0.012 кВтч в час | Менее 0,01 USD в час | |
| > 50 « | 0,016 кВтч в час | Менее 0,01 USD в час | |
| Устройства записи / воспроизведения видео | |||
| Кабельная коробка | 139 кВтч в год | 18 долларов.07 в год | |
| Року | 26,2 кВтч в год | 3,41 доллара в год | |
| Тонкий клиент | 52,6 кВтч в год | 6,84 долл. США в год | |
| Игры | |||
| Nintendo Switch | 157.7 кВтч в год | 20,50 долларов в год | |
| Xbox One | 233 кВтч в год | 30,29 долл. США в год | |
| PlayStation 4 | 181 кВтч в год | 23,53 долл. США в год | |
| Wii U | 37 кВтч в год | $ 4.81 в год | |
| Компьютеры | |||
| Настольный компьютер | 0,06 – кВтч в час | 0,01–0,03 доллара в час | |
| Настольный компьютер в спящем / ждущем режиме | 0.001–0,006 кВтч в час | Менее 0,01 USD в час | |
| Ноутбук | 0,02–0,05 кВтч в час | Менее 0,01 USD в час | |
| Монитор — ЭЛТ 17 дюймов | 0,08 кВтч в час | 0,01 $ в час | |
| Монитор — 17-дюймовый ЖК-дисплей | 0.04 кВтч в час | Менее 0,01 USD в час | |
| Другое | |||
| Динамики (25 Вт x 2) нормальной громкости | 0,05 кВтч в час | Менее 0,01 USD в час | |
| Стерео | 0.05 кВтч в час | Менее 0,01 USD в час | |
| Радио, проигрыватель компакт-дисков | 0,02 кВтч в час | Менее 0,01 USD в час | |
| Планшет | 12 кВтч в год | 1,56 $ в год | |
Освещение | |||
| Компактный люминесцентный (CFL) / светодиодный | |||
| CFL / LED (8 Вт) эквивалент лампы накаливания 25 Вт | 0.008 кВтч в час | Менее 0,01 USD в час | |
| CFL / LED (11 Вт) эквивалент лампы накаливания 40 Вт | 0,01 кВтч в час | Менее 0,01 USD в час | |
| CFL / LED (15 Вт) эквивалент лампы накаливания 60 Вт | 0,015 кВтч в час | Менее 0,01 USD в час | |
| CFL / LED (20 Вт) эквивалент лампы накаливания 75 Вт | 0.02 кВтч в час | Менее 0,01 USD в час | |
| CFL / LED (27 Вт) эквивалент лампы накаливания 100 Вт | 0,027 кВтч в час | Менее 0,01 USD в час | |
| CFL / LED (38 Вт) эквивалент лампы накаливания 150 Вт | 0,038 кВтч в час | Менее 0,01 USD в час | |
| Тепловая лампа | 0.04 кВтч в час | Менее 0,01 USD в час | |
Галоген | |||
| Галоген (300 Вт) | 0,3 кВтч в час | 0,04 $ в час | |
Прачечная | |||
| Сушилка для белья (легкая загрузка vs.тяжелая нагрузка) | 2,5–4 кВтч на нагрузку | 0,33–0,52 доллара за загрузку | |
| Не соответствует требованиям ENERGY STAR | 2,28 кВтч на нагрузку | 0,30 $ за загрузку | |
| Сертификат ENERGY STAR | 1,90 кВтч на нагрузку | 0,25 USD за загрузку | |
| Осушитель с тепловым насосом | 0.54 кВтч на нагрузку | 0,07 USD за загрузку | |
| Теплая стирка, холодное полоскание | 2,3 кВтч на нагрузку | 0,30 $ за загрузку | |
| Горячая стирка, теплое полоскание | 6,3 кВтч на нагрузку | 0,82 $ за загрузку | |
Хозтовары | |||
| Пылесос | 0.75 кВтч в час | 0,10 $ за час | |
| Пылесос Dyson | 0,23 кВтч в час | 0,03 $ в час | |
| Утюг | 1,08 кВтч в час | 0,14 $ в час | |
| Часы | 2–4 кВтч в месяц | 0 руб.26–0,52 доллара в месяц | |
| Ночник (4 Вт, 12 часов в день) | 1,44 кВтч в месяц | 0,19 $ в месяц | |
| Электрическое одеяло: Twin | 0,5 кВтч / ночь | 0.07 $ / ночь | |
| Электрическое одеяло: Double / Queen | 0,75 кВтч / ночь | 0 руб.10 / ночь | |
| Электрическое одеяло: King | 1 кВтч / ночь | $ 0.13 / ночь | |
| Аквариум | 0,05–1,21 кВтч в час | 0,01–0,16 USD в час | |
| Робот-пылесос | 0,007 кВтч в час | Менее 0 долларов США.01 в час | |
Ванная | |||
| Фен | 1,5 кВтч в час | 0,20 $ за час | |
| Щипцы для завивки | 0,15 кВтч в час | 0,02 $ в час | |
| Гидромассажная ванна | 1.8 кВтч в час | 0,23 $ за час | |
Бассейн | |||
| Подметальный насос (3/4 л.с.) | 0,56 кВтч в час | 0,07 $ в час | |
| Фильтр-насос (1/2–1 л.с.) | 1,12 кВтч в час | 0 руб.15 в час | |
| Фильтр-насос (2 л.с.) | 1,5 кВтч в час | 0,20 $ за час | |
| Насос односкоростной | 0,54 кВтч в час | 0,07 $ в час | |
| Двухскоростной насос | 0,29 кВтч в час | 0,04 $ в час | |
| Насос регулируемый | 0.12 кВтч в час | 0,02 $ в час | |
Спа / гидромассажная ванна | |||
| Электронагреватель (1500 Вт) | 1,5 кВтч в час | 0,20 $ за час | |
Медицинское оборудование | |||
| Небулайзер | 1 кВтч в час | 0 руб.13 в час | |
| Кислородный концентратор | 0,46 кВтч в час | 0,06 $ в час | |
| Аппарат для апноэ сна (CPAP) | 0,2 кВтч в час | 0,03 $ в час | |
| * Расчетное потребление энергии основано на средних условиях эксплуатации. Индивидуальное использование может отличаться. | |||
| ** Ориентировочная стоимость указана из расчета 0,13 доллара США за кВтч | |||
| *** COP = коэффициент полезного действия. Электрический резистивный нагреватель имеет КПД 1 | |||
| GPM — Галлонов в минуту | |||
| SEER — Сезонный коэффициент энергоэффективности (эффективность центрального кондиционирования воздуха) | |||
| EER — Коэффициент энергоэффективности (КПД оконных / настенных кондиционеров) | |||
Как подключить интеллектуальные устройства к приложению SmartHQ
Подключение холодильника
Умные холодильники Café бывают двух типов: сенсорные ЖК-панели, кнопочные или емкостные сенсорные панели управления.Если вы не уверены, какой у вас тип, откройте приложение SmartHQ и войдите в свою учетную запись. На главном экране нажмите знак «плюс» (+), чтобы открыть экран «Добавить устройство». Нажмите на восклицательный знак (!) Рядом с «ЖК-дисплеем холодильника» или «Холодильник (с сенсорным экраном)», чтобы просмотреть изображение каждой панели управления.
Когда вы узнаете, какой у вас тип управления, подключите устройство, следуя этим инструкциям:
Для ЖК-дисплея:
Войдите в приложение SmartHQ.
- Выберите вариант ЖК-дисплея.
- На холодильнике нажмите «WiFi» на дисплее, а затем нажмите «Включить». Убедитесь, что на ЖК-дисплее мигает значок Wi-Fi.
- На дисплее холодильника отобразятся идентификатор сети и пароль. Введите пароль с дисплея в поле «Пароль» в приложении. Выберите «Далее» в приложении.
- Вы будете перенаправлены к настройкам WiFi вашего телефона и подключитесь к сети, указанной на информационной этикетке. Если вы не знаете, как перейти к настройкам Wi-Fi, нажмите «Покажи мне, как» в приложении.
- На телефонах Android вы можете увидеть «Отключить интеллектуальный сетевой коммутатор» в инструкциях к приложению. Нажмите «Покажи мне, как», чтобы получить инструкции по отключению этой функции. Вариант может отличаться по телефону; поищите другие варианты, такие как «Автоматическое переключение сети», «Проверить подключение к Интернету» или «Избегать плохих сетей».
После подключения к сети вернитесь в приложение и нажмите «Далее». Это запустит связь между приложением и холодильником.
После успешного подключения к сети вы увидите экран «Выберите домашнюю сеть».Найдите в списке имя своей домашней сети Wi-Fi и введите пароль, чтобы снова подключить устройство к домашней сети.
Если вы не видите свою домашнюю сеть в списке сетей Wi-Fi, выберите вариант «Другое» и введите имя сети и пароль самостоятельно.
После ввода сети и пароля приложение и устройство подключатся, и в приложении отобразится сообщение «Поздравляем! Наслаждайтесь подключенным устройством!»
Для кнопочного управления:
- Войдите в приложение SmartHQ.
- Выберите опцию касания крышки.
- Нажмите и удерживайте одновременно «Вода» и «Свет», пока на дисплее не начнет мигать значок WiFi.
- На дисплее холодильника отобразятся идентификатор сети и пароль. Введите пароль с дисплея в поле «Пароль» в приложении. Выберите «Далее» в приложении.
- Вы будете перенаправлены к настройкам WiFi вашего телефона и присоединитесь к сети, указанной на ярлыке «Информация». Если вы не знаете, как перейти к настройкам Wi-Fi, нажмите «Show Me How» в приложении.
- На телефонах Android вы можете увидеть «Отключить интеллектуальный сетевой коммутатор» в инструкциях к приложению. Нажмите «Покажи мне, как», чтобы получить инструкции по отключению этой функции. Вариант может отличаться по телефону; поищите другие варианты, такие как «Автоматическое переключение сети», «Проверить подключение к Интернету» или «Избегать плохих сетей».
- После подключения к сети вернитесь в приложение и нажмите Далее. Это запустит связь между приложением и холодильником.
2, контакты 5.1 разомкнуты) и рабочую обмотку 4.1 электродвигателя мотор-компрессора 4. Поскольку двигатель не вращается, ток, протекающий через его рабочую обмотку, в несколько раз превышает номинальный. Пусковое реле 5 устроено таким образом, что при превышении номинального значения тока замыкаются контакты 5.1, подключая к цепи пусковую обмотку электродвигателя, который начинает вращаться, в результате чего, ток в рабочей обмотке снижается, контакты пускового реле размыкаются, но двигатель продолжает работать в нормальном режиме за счет рабочей обмотки. При достижении заданной температуры, контакты терморегулятора размыкаются и электродвигатель компрессора останавливается. Для отключения электродвигателя при опасном повышении силы тока предназначено реле тепловой защиты. С одной стороны оно защищает электродвигатель от перегрева и поломки, а с другой от пожара. Реле состоит из биметаллическое пластины 3.2., которая при опасном повышении силы тока нагревается и, изгибаясь, размыкает контакты 3.
1. После остывания биметаллической пластины контакты снова замыкаются.