Свч принцип работы: Принцип работы микроволновки простыми словами — Ваша техника
Как работает микроволновая печь :: Класс!ная физика
История изобретения.
Изобретение микроволновой печи — это изобретение совершенно нового способа приготовления пищи.
В 30-х годах 20-го века одновременно в разных странах велись работы
над получением мощных радиоволн сверхвысокочастотного диапазона. Эти радиоволны прежде всего научились использовать
в радиолокаторах. Совершенно
случайно в 1932 году сотрудники одной из лаборатории в США поджарили
без огня две сосиски, поместив их около мощного генератора СВЧ.
В 1945 году американский инженер Спенсер экспериментировал с магнетроном — радиолампой, генерирующей радиоволны в
СВЧ-диапазоне. Спенсер взял несколько зёрен кукурузы и поместил
их возле магнетрона, через несколько минут из зёрен получился попкорн. То же самое он проделал
с сырым яйцом. Сырое яйцо, оставшееся снаружи холодным, в середине
почти мгновенно вскипело под действием электромагнитных
волн.
В октябре 1945 года фирма, в которой работал Спенсер, получила
патент на микроволновую печь и начала выпускать устройства под
названием «радарная печь» — большие
шкафы, набитые радиолампами, трансформаторами и охлаждающими вентиляторами.
Пространство, куда следовало помещать пищу, было не больше обычной
кухонной духовки. Использовали эти микроволновые печи для разморозки
стратегических запасов продуктов.
В 1952 году японцы купили патент и наладили производство микроволновых
печей для дома.
А ещё через пятнадцать лет в магазинах появились наши отечественные
микроволновые печи.
Постепенно СВЧ-печи стали комбинированными и были оснащены грилем, конвектором,
«криспом» и другими дополнительными функциями, при помощи
которых готовка еды упростилась, а вкусовые качества сравнялись
с блюдами, приготовленными традиционным способом.. Микроволновка
может готовить еду пятью разными способами: простыми СВЧ; грилевым излучением; одновременно СВЧ и грилем;
грилем с использованием конвекции; СВЧ с конвекцией.
Откуда берутся микроволны ?
В бытовых микроволновых печах используются микроволны, частота
которых составляет 2450 МГц. Такая
частота установлена для микроволновых печей специальными международными
соглашениями, чтобы не создавать помех работе радаров и иных устройств, использующих микроволны.
Источником излучения является высоковольтный вакуумный
прибор — магнетрон. На нить накала магнетрона необходимо
подавать высокое напряжение — около 3–4 кВ. Сетевого напряжения
питания (220 В) магнетрону недостаточно, и питается он через специальный высоковольтный трансформатор.
Мощность магнетрона составляет примерно 700–850 Вт. Для
охлаждения магнетрона рядом с ним имеется вентилятор, непрерывно обдувающий его воздухом. Вентилятор обеспечивает принудительную
конвекцию воздуха в полости печи с одновременным его подогревом,
что способствует равномерному пропеканию продуктов.
Микроволны с магнетрона поступают в печь по волноводу — каналу с металлическими стенками, отражающими
СВЧ-излучение.
Сложную конструкцию имеет дверца
микроволновки. Она должна обеспечивать возможность обзора (что
происходит внутри) и исключать выход микроволн
наружу. Это многослойный «пирог» из стеклянных или пластмассовых
пластин.
Между пластинами обязательно есть сетка из перфорированного металлического листа. Металл отражает
микроволны назад, в полость печи, а маленькие отверстия перфорации
(менее 3мм) не пропускают СВЧ-излучение. По периметру дверцы вмонтирован уплотнитель из диэлектрического
материала.
Для микроволнового приготовления пищи совершенно
непригодна металлическая посуда. Микроволны не
проникают сквозь металл, они отражаются от него. Это может вызвать электрический
разряд (дугу) и нанести вред печи.
Кроме того, отражённые микроволны могут проходить
через стекло дверцы, что небезопасно для здоровья.
Как микроволны нагревают пищу ?
Чтобы нагреть пищу с помощью микроволн, необходимо присутствие
в ней дипольных молекул, то есть
таких, на одном конце которых имеется положительный электрический
заряд, а на другом — отрицательный. Таких молекул в пище много — это молекулы жиров, сахаров и воды. В электрическом
поле они выстраиваются строго по направлению силовых линий поля,
«плюсом» в одну сторону, «минусом» в другую. Стоит полю поменять
направление на противоположное, как молекулы тут же переворачиваются на 180°. Поле волны, в котором находятся эти молекулы,
меняет полярность 4 900 000 000 раз в секунду!
Под действием микроволнового излучения молекулы поворачиваются
с бешеной частотой и трутся одна
о другую. Выделяющееся при этом тепло и служит причиной разогрева
пищи.
Нагрев продуктов происходит за счёт прогрева микроволнами поверхностного
слоя и дальнейшего проникновения тепла в глубину пищи за счёт
теплопроводности.
Закипание воды в микроволновке происходит не так, как в чайнике, где тепло подводится к воде только
снизу. Микроволновый нагрев идет со всех сторон. В микроволновке
вода дойдёт до температуры кипения, но пузырьков
не будет. Зато когда вы достанете стакан из печи, всколыхнув
его при этом, — вода в стакане запоздало забурлит, и кипяток может
ошпарить вам руки.
Если вы хотите довести воду в стакане или ином высоком узком сосуде
до кипения, не забудьте опустить в него чайную ложечку перед тем,
как поставить стакан в печь.
Как нельзя поступать ?
Нельзя включать пустую
печь, без единого предмета, который поглощал бы микроволны.
Не встречая на своём пути никаких препятствий, микроволны будут
многократно отражаться от внутренних стенок полости печи, а сконцентрированная
энергия излучения может вывести печь
из строя.
В качестве минимальной загрузки необходимо ставить
в неё хотя бы стакан воды.
Опасны ли микроволны ?
Микроволны не оказывают никакого радиоактивного воздействия на биологические ткани и продукты
питания.
Приготовление пищи при помощи микроволн требует очень небольшого
количества жиров, поэтому приготовленная с помощью микроволн пища полезнее для здоровья и не представляет для человека никакой
опасности.
Конструкцией печи предусмотрены жёсткие меры для предотвращения
выхода излучения наружу. Хотя непосредственное воздействие микроволн
может вызвать ожог, риск при правильном
использовании исправной микроволновки полностью
отсутствует.
Микроволны очень быстро затухают в
атмосфере. И уже на расстоянии полуметра от микроволновки излучение
становится в 100 раз слабее. Достаточно отойти от печи на расстояние
вытянутой руки, и можно чувствовать себя в
полной безопасности.
Всем приятного аппетита!
Журнал «Наука и жизнь»
как выбрать свч-печь
История создания и принцип работы микроволновой печи? Как выбрать СВЧ печь?
В нашем современном мире, где каждый второй человек попросту не имеет свободного времени, микроволновая печь стала неотъемлемым бытовым прибором, экономящим наше время. Разогрев пищи на обычной плите отбирает в несколько раз больше времени, нежели обычная микроволновая печь. К тому же, огромный плюс — это удобные таймеры, которые оповестят Вас о том, что еда готова в необходимый момент времени, не вынуждая стоять Вас рядом, как в случае с кухонной плитой. Из-за такого существенного отличия возникают вопросы:
В чем разница? И как же это работает?
Микроволновая печь в разобранном виде будет представлять собой три главные составляющие всего процесса: трансформатор, волновод и магнетрон. Магнетрон — это вакуумное устройство, генерирующее высокочастотные волны, являющиеся основой, необходимой для работы микроволновой печи.
Но для их генерации магнетрону не хватает стандартного напряжения в 220В, поэтому питается устройство посредством трансформатора. И, по скольку, такие процессы повлекут за собой высокие температуры и, как следствие, перегрев техники, в схему добавлен вентилятор, который осуществляет непрерывное охлаждение магнетрона. Волновод — это следующий «пункт» приема волн, который представляет собой канал с металлическими стенками, способными отражать излучение. После прохода через него волны отправляются в короб микроволновой печи предварительно пройдя через слюду. Слюда — это, практически, фильтр СВЧ печи, защищающий всю электронику от воздействия пара и жира, который неизбежно возникает во время использования микроволновки. Это довольно сложный физический принцип, который, конечно же, и был придуман физиком.
История создания микроволновой печи:
В 1942 году берет начало история создания принципа работы всех микроволновых печей. Принадлежит открытие американскому физику Перси Спенсеру.
Именно он обнаружил, что микроволны обладают тепловым воздействиям. Правда, каким именно образом — доподлинно неизвестно. Существует два разных предположения, одно, из которых гласит о том, что во время работы с излучателем сверхвысокочастотных волн, как это бывает со всеми заработавшимися людьми, физик опрометчиво положил свой бутерброд на устройство. Позже, прервавшись на обеденный перерыв, Спенсер с удивлением обнаружил, что его бутерброд нагрелся. По другой же версии у физика в кармане была шоколадная плитка, которая растаяла в последствии работы все с тем же излучателем СВЧ волн. Спустя более трех лет после такого открытия, физик получил патент на использования микроволн для приготовления пищи. А через два года в военных столовых появились первые микроволновые печи. Конечно, первые СВЧ печи были не сильно похожи на современные модели микроволновых печей. Размер первой микроволновой печи достигал роста человека, вес равнялся около 340 кг., а цена за современную громадину доходила до нескольких тысяч долларов.
Большого ажиотажа и спроса микроволновая печь не вызвала, что повлекло за собой последующую борьбу за её оптимизацию и эргономичность, чем и занимались всевозможные производители и инженеры последние полвека, благодаря чему на сегодняшний день мы имеем великое многообразие моделей СВЧ печей, от которого зачастую разбегаются глаза и возникает вопрос:
Как выбрать микроволновую печь?
Как и любую другую бытовую технику — по наиболее главным, присущим ей, критериям:
Объём:
- Малый:19 литров и меньше. Рекомендуется для разморозки и подогрева пищи;
- Средний: 20-25 литров. Удачный вариант для семьи из трех-четырех человек. Многие модели с таким объемом оснащены грилем, позволяющем приготовить блюда с хрустящей корочкой;
- Большой: Для семьи от пяти человек и больше. Могут быть оснащены конвекцией и грилем;
Мощность:
Мощность является отнюдь немаловажным фактором. Чем выше мощность, тем быстрее Ваше блюдо будет готово.
Так же показатели мощности прямо пропорционально зависят от объема камеры: чем больше объем — тем выше должна быть мощность. Но не стоит забывать об энергорасходе, который так же увеличивается с показателями мощности;
Покрытие:
От покрытия зависит не только внешний вид, а еще удобство использования и вкус пищи. Виды покрытий делятся:
- эмалевое покрытие: распространенные вид, за счет того, что его довольно просто отмыть;
- керамическое покрытие: ударопрочное, так же легко удалить жир и остатки пищи;
- нержавеющая сталь: долговечность, имеет устойчивость к резким сменам температуры, поэтому такое покрытие часто встречается в печах с грилем и конвекцией. Более тяжело отмыть;
Эти параметры дают базу для того, чтобы будущий пользователь без труда составил свое мнение о том, какая именно CВЧ печь ему будет наиболее полезна еще до похода в магазин. Так же стоит обратить внимание на возможности СВЧ печи (гриль, конвекция) и режимы (защита от детей, автоматическая очистка или приготовление, и т.
д.).
В нашем интернет-магазине Вы можете выбрать простые микроволновые печи соло.
Принцип работы промышленных и бытовых СВЧ установок резонаторного типа
СВЧ-установки нашли широкое применение в машиностроении,
пищевой промышленности и бытовой технике. Эта технология позволят создавать сравнительно
недорогие установки, сфера применения которых будет увеличиваться по мере повышения
мощности СВЧ-установок.
При закалке (или отжиге) стальных мембран в цилиндрическом резонаторе с медным корпусом, охлаждаемым водой, КПД резонатора, определяемый как относительная доля СВЧ-мощности, поглощаемой в торцевых стенках камер, тем больше, чем меньше проводимость торцевых стенок проводимости корпуса. Расчетные значения показывают, что для реализации процесса СВЧ-закалки хорошо подходит сочетание медного корпуса и стальных стенок в резонаторной камере.
Бытовые СВЧ-печи резонаторного типа
Наибольшее распространение получили устройства СВЧ-энергетики в области приготовления пищи: бытовые СВЧ-печи имеют серийное производство и являются типичными представителями резонаторных СВЧ-устройств.
Рабочая камера печи имеет кубическую или призматическую форму, передняя стенка выполнена в виде дверцы, имеющей высококачественный пружинный контакт по всей поверхности. На дне камеры устанавливается полка из кварцевого стекла, на которой располагаются продукты для подогрева на небольшом расстоянии от нижней поверхности камеры.
Объем рабочей камеры составляет от 50 до 80 л в бытовых печах и от 100 до 100 до 200 л в печах на предприятиях общественного питания. Высококачественные рабочие камеры выполняются из листов нержавеющей стали, имеющей высокую коррозийную стойкость относительно пищевых продуктов, в более доступных печах стенки выполнены из обычной стали, покрытой стойкой посудной эмалью.
Использование магнетрона непрерывного режима действия
Питание рабочей камеры происходит от магнетрона непрерывного режима действия, мощность которого составляет 0,5 – 1 кВт, а рабочая частота 2400 – 2500 МГц. Обычно магнетрон и камера связаны индуктивной диафрагмой, прорезанной в стенке камеры в месте ее соединения с подводящим прямоугольным волноводом.
Вентилятор с мощностью двигателя 30 – 50 Вт охлаждает воздушный радиатор магнетрона, а нагретый магнетроном воздух проводится через рабочую камеру и дополнительно греет продукты, и также участвует в реализации конвективного массообмена испаряемой воды или удалении водяного пара, образующегося при кипении.
Воздушная система СВЧ-печи, предназначенной для приготовления блюд из мяса с обжаренной поверхностью (гриль), должна иметь калорифер, выполненный в виде спирального нагревательного элемента, включенного в тракт перед входом воздуха в резонатор. Мощность калорифера должна нагревать продуваемый воздух от 60 – 80°C до температуры в 250 – 300°С, обеспечивающей обжаривание поверхности мяса, мясного фарша или изделий из теста типа пончиков.
Магнетроны бытовых СВЧ печей
Питание магнетрона бытовой СВЧ-печи осуществляется от сети 220В через таймер и концевой выключатель, срабатывающий одновременно с защелкой запора дверцы камеры. С помощью таймера устанавливается оптимальный для каждого блюда режим работы печки: время облучения СВЧ-мощностю и уровень мощности относительно максимального значения.
Например, при выборе времени приготовления пищи 10 мин при 50%-ном режиме работы печи анодное напряжение магнетрона подается импульсно, продолжительность импульсов и пауз между ними составляет 66 – 67 с. Если установить 100% режим работы, анодное напряжение магнетрона будет подаваться в течение всего времени при максимальной мощности облучения. Обеспечение безопасности пользователей от СВЧ-облучения из камеры печи осуществляется за счет концевого выключателя дверцы, защитной сетки смотрового окна, защитными сетками каналов подсветки и продувки камеры. Сетки представляют собой отверстия диаметром 2 мм в стенках камеры, перекрывающие примерно 50% площади поперечного сечения соответствующих каналов.
Электробезопасность бытовых СВЧ-печей
Электробезопасность бытовых СВЧ-печей достигается размещением рабочей камеры и всех источников питания, включая магнетрон, в общем металлическом корпусе с декоративным наружным покрытием. Важнейшим элементом конструкции СВЧ-печей является устройство связи магнетрона с рабочей камерой.
Это может быть, например, индуктивная диафрагмой, расположенная на торцевом короткозамыкателе волновода. Необходимо рассчитать размеры индуктивного окна связи и место его расположения. Оно может находиться на задней или верхней стенке камеры, но в любом случае там, где оно пересекается максимальным магнитным полем рабочего типа колебаний.
Воздушное охлаждение магнетрона
Еще одним важным моментом при конструировании бытовых и промышленных СВЧ печей является определение параметров системы воздушного охлаждения магнетрона. Методика расчета воздушного охлаждения магнетрона основана на определении коэффициента конвективной теплопередачи.
При тепловом расчете СВЧ-печей необходимо определить температуру воздуха после обдува магнетрона. Это позволит определить конвективный массообмен в камере или мощность калорифера для дополнительного нагрева воздуха перед подачей в камеру. Промышленная СВЧ-печь является наукоемким устройством высокой потребительской стоимости.
Учитывая привлечение к ней технологических, экспериментальных и дизайнерских знаний, разработка новых образцов является перспективной и престижной областью работы для специалистов по СВЧ-энергетике.
Наши контакты
Раб. тел/факс: (812) 493-20-71
Электронная почта: [email protected]
Открыть контакты и реквизиты компании
принцип работы, устройство, интересные факты Как правильно пользоваться микроволновой печью
Которая в большинстве случаев упрощает повседневную жизнь большинства людей, особенно тех, которые не любят долго возиться на кухне, и любят комфорт во всех его деталях, а именно — микроволновой (СВЧ) печи
, или как говорят в народе – микроволновке
. В этой статье Вы узнаете: что такое СВЧ
, какие бывают виды микроволновой печи, как выбрать микроволновую печь
, и остальных нюансах, которые касаются этой техники. Итак…
Микроволновая печь
.
или
СВЧ-печь
(
англ.
Microwave oven
)
— бытовой электроприбор, предназначенный для быстрого приготовления или быстрого подогрева или приготовления пищи, размораживания продуктов, а также использующийся в производственных целях для разогрева некоторых материалов, например — клея.
В отличие от классических печей (например, духовки или русской печи), разогрев продуктов в микроволновой печи происходит не с поверхности, а по всему объёму продукта, содержащему полярные молекулы (например, воды), так как радиоволны проникают достаточно глубоко почти во все пищевые продукты. Это сокращает время разогрева продукта.
История открытия микроволновой печи
Подобно многим другим открытиям, существенно повлиявшим на повседневную жизнь людей, открытие теплового воздействия микроволн произошло случайно. В 1942 году американский физик Перси Спенсер работал в лаборатории компании «Райтеон» с устройством, излучавшим сверхвысокочастотные волны.
Разные источники по-разному описывают события, случившиеся в тот день в лаборатории. По одной версии, Спенсер положил на устройство свой бутерброд, а сняв его через несколько минут, обнаружил, что бутерброд прогрелся до середины. По другой версии, разогрелся и растаял шоколад, который был у Спенсера в кармане, когда он работал возле своей установки, и, осененный счастливой догадкой, изобретатель кинулся в буфет за сырыми кукурузными зернами. Поднесенный к установке попкорн вскоре с треском начал лопаться…
Так или иначе эффект был обнаружен. В 1945 году Спенсер получил патент на использование микроволн для приготовления пищи, а в 1947-м на кухнях госпиталей и военных столовых, где требования к качеству пищи были не столь высоки, появились первые приборы для приготовления пищи с помощью микроволн. Эти изделия фирмы «Райтеон» высотой в человеческий рост весили 340 кг и стоили 3000 долларов за штуку.
Понадобилось полтора десятилетия, чтобы «довести до ума» печь, в которой пища готовится с помощью невидимых волн.
В 1962 году японская фирма «Sharp» выпустила в продажу первую серийную микроволновую печь, которая, впрочем, поначалу не вызвала потребительского ажиотажа. Этой же фирмой в 1966 году был разработан вращающийся стол, в 1979-м впервые применена микропроцессорная система управления печью, а в 1999-м разработана первая микроволновая печь с выходом в Интернет.
Опыт применения миллионов микроволновых печей во многих странах в течение последних десятилетий доказал неоспоримые удобства этого способа приготовления пищи — быстроту, экономичность, простоту пользования. Сам механизм приготовления пищи с помощью микроволн, с которым мы познакомим вас ниже, предопределяет сохранение молекулярной структуры, а значит, и вкусовых качеств продуктов.
Принцип работы микроволновой печи, или каким образом пища нагревается с помощью СВЧ
В состав продуктов питания входят многие вещества: минеральные соли, жиры, сахар, вода. Чтобы нагреть пищу с помощью микроволн, необходимо присутствие в ней дипольных молекул, то есть таких, на одном конце которых имеется положительный электрический заряд, а на другом — отрицательный.
К счастью, подобных молекул в пище предостаточно — это молекулы и жиров и сахаров, но главное, что диполем является молекула воды — самого распространенного в природе вещества.
Каждый кусочек овощей, мяса, рыбы, фруктов содержит миллионы дипольных молекул. В отсутствие электрического поля молекулы расположены хаотически. В электрическом поле они выстраиваются строго по направлению силовых линий поля, «плюсом» в одну сторону, «минусом» в другую. Стоит полю поменять направление на противоположное, т.е. сменить полярность, как молекулы тут же переворачиваются на 180 о.
Итак, частота микроволн, которую используют почти все СВЧ-печи — 2450 Мгц. Один герц — это одно колебание в секунду, мегагерц — один миллион колебаний в секунду. За один период волны поле меняет свое направление дважды: был «плюс», стал «минус», и снова вернулся исходный «плюс». Значит, поле, в котором находятся наши молекулы, меняет полярность 4 900 000 000 раз в секунду! Под действием микроволнового излучения молекулы кувыркаются с бешеной частотой и в буквальном смысле трутся одна о другую при переворотах.
Выделяющееся при этом тепло и служит причиной разогрева пищи.
Продукты нагреваются под действием микроволн примерно так же, как нагреваются наши ладони, когда мы быстро трем их друг о друга. Сходство состоит и еще в одном: когда мы трем кожу одной руки о кожу другой, тепло проникает в глубь мышечной ткани. Так и микроволны: они работают только в относительно небольшом поверхностном слое пищи, не проникая внутрь глубже, чем на 1-3 см. Поэтому нагрев продуктов происходит за счет двух физических механизмов — прогрева микроволнами поверхностного слоя и последующего проникновения тепла в глубину продукта за счет теплопроводности.
Отсюда сразу следует рекомендация: если нужно приготовить в микроволновке, например, большой кусок мяса, лучше не включать печь на полную мощность, а работать на средней мощности, но зато увеличить время пребывания куска в печи. Тогда тепло из наружного слоя успеет проникнуть в глубь мяса и хорошо пропечет внутреннюю часть куска, а снаружи кусок не подгорит.
Из тех же соображений жидкие продукты, например супы, лучше периодически помешивать, вынимая время от времени кастрюльку из печи. Этим вы поможете проникновению тепла в глубь емкости с супом.
Хочу отметить, что частота излучения в некоторых производственных СВЧ-печах (так называемые англ. variable frequency microwave, VFM) может варьироваться, и не составлять 2450 МГц
Устройство микроволновой печи
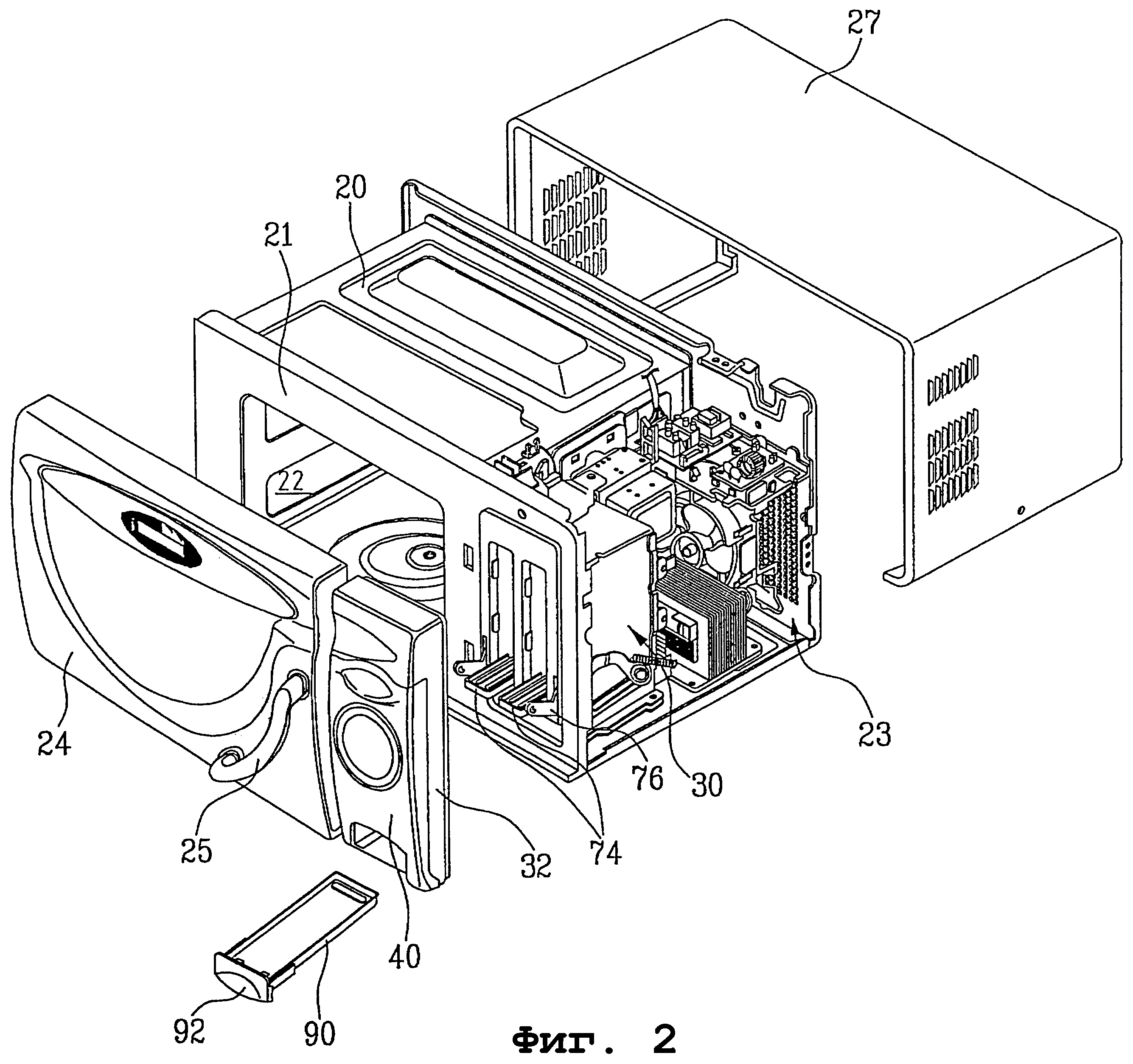
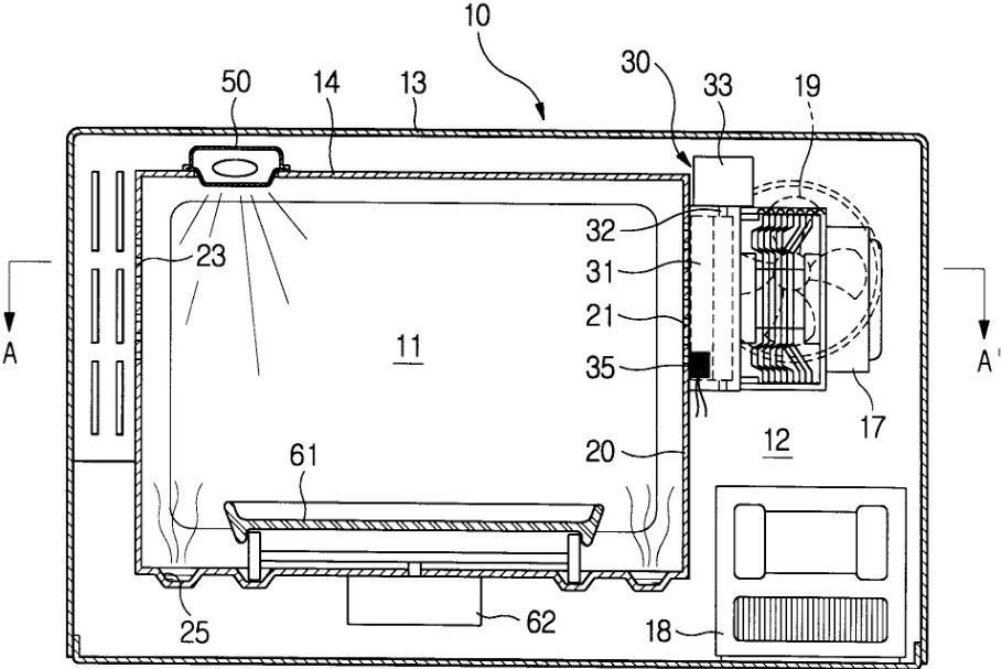
Основные компоненты магнетронной микроволновой печи:
— металлическая, с металлизированной дверцей, камера (в которой концентрируется сверхвысокочастотное (СВЧ) излучение), куда помещаются разогреваемые продукты;
— трансформатор — источник высоковольтного питания магнетрона;
— цепи управления и коммутации;
— непосредственно СВЧ-излучатель — магнетрон;
— волновод для передачи излучения от магнетрона к камере;
Вспомогательные элементы:
— вращающийся столик — необходим для равномерного разогрева продукта со всех сторон;
— схемы и цепи, обеспечивающие управление (таймер) и безопасность (блокировки режимов) устройства;
— вентилятор, охлаждающий магнетрон и проветривающий камеру.
Вред от микроволновой печи
Собственно говоря обширный вопрос, но у каждого должно быть по этому поводу свое мнение. В сети нашел кучу информации как «За», так и «Против» использования микроволновых печей. Но лично я все-таки склоняюсь к тому, что микроволновка опасна не более, а возможно и менее, чем кинескопный телевизор. Поэтому писать еще сотню строк не решил. По конце статьи, Вы можете прочесть еще пару строк на эту тему, в «Мифах о микроволновых печах».
Единственное, на что обратил внимание, и что в основном два «лагеря» сторонников и противников соглашаются, что в микроволновой печи нельзя подогревать грудное молоко, и потом поить ним ребенка, т.к. в какой-то степени немного меняется формула этого молока.
Вот кстати по этому поводу нашел фото, на котором изображена дальность вредного влияния СВЧ-печи. По нему видно, насколько неопасно нахождение СВЧ в доме.
Меры предосторожности
— Микроволновое излучение не может проникать внутрь металлических предметов, поэтому невозможно приготовить еду в металлической посуде.
Металлическая посуда и металлические приборы (ложки, вилки), находящиеся в печи в процессе нагревания, могут вывести её из строя.
— Нельзя нагревать в микроволновой печи жидкость в герметично закрытых ёмкостях и целые птичьи яйца — из-за сильного испарения воды внутри них создаётся высокое давление и, вследствие этого, они могут взорваться. Из этих же соображений нежелательно сильно разогревать сосисочные изделия, обтянутые полиэтиленовой плёнкой.
— Разогревая в микроволновке воду, также следует соблюдать осторожность — вода способна к перегреванию, то есть, к нагреванию выше температуры кипения. Перегретая жидкость способна почти мгновенно вскипеть от неосторожного движения. Это относится не только к дистиллированой воде, но и к любой воде, в которой содержится мало взвешенных частиц. Чем более гладкой и однородной является внутренняя поверхность сосуда с водой, тем выше риск. Если у сосуда узкое горлышко, то велика вероятность, что в момент начала кипения перегретая вода выльется и обожжёт руки.
— Нежелательно помещать в микроволновую печь посуду с металлическим напылением («золотой каёмочкой») — даже этот тонкий слой металла сильно нагревается вихревыми токами и это может разрушить посуду в области металлического напыления.
А теперь давайте обратим внимание на характеристики СВЧ, которые нужно принять к сведению при выборе микроволновки.
Типы микроволновки
Хотите хорошего настроения? Посмотрите юмористический ролик о «говорящей» микроволновке
Ну вот, вроде как все. Желаю Вам приятной покупки, и пусть Вам достанется именно та микроволновая печь, которая подойдет именно Вам!
Сегодня практически в каждой квартире есть такое «чудо враждебной техники», как микроволновая печь. Этот гаджет существенно облегчает жизнь современному человеку, экономя при этом немало времени. В основном, люди используют микроволновую печь для быстрого разогревания пищи, а в редких случаях готовят с её помощью целые блюда.
Но наверняка многие даже не догадываются о том, что микроволновку можно использовать не только для этих целей.
Представляем вашему вниманию 25 бесценных советов, которые помогут вам в использовании микроволновой печи в своих интересах.
Шинкуем лук без слез
Вы можете раз и навсегда покончить со слезами при шинковке лука, просто срезав оба конца луковицы и поместив ее в микроволновую печь. Нагревайте лук на полной мощности в течение 30 секунд, и поры, выделяющие сок, подсохнут. Вкус и все полезные вещества останутся на месте, а вот провоцирующие слезоотделение энзимы испарятся, и лук будет легко нашинковать, не пролив ни слезинки.
Возвращаем аромат долго хранившимся специям
Специям, орехам и приправам можно вернуть былой аромат после долгого хранения. Для этого достаточно нагреть их в микроволновке в течение 15 секунд на полной мощности.
Растапливаем маргарин
Маргарин или масло можно растопить в микроволновой печи при высокой температуре в течение одной минуты. Это лучше, чем оставлять его на открытом воздухе в течение нескольких часов или топить его на плите, рискуя тем, что он загорится.
Возвращаем к жизни картофельные чипсы
Желающие восстановить хрустящие свойства чипсов могут легко сделать это с помощью микроволновки. Положите в нее вместе с чипсами несколько одноразовых бумажных полотенец, и излишняя влага при тепловой обработке будет ими полностью впитана. Даже короткое нагревание легко вернет к жизни ваши хрустящие чипсы.
«Реанимируем» зачерствевшие крекеры
Не только чипсам можно вернуть их «хрусткость» — черствые крекеры и хлопья также значительно улучшат свои качества благодаря такому же фокусу! В этом случае в бумажных полотенцах нет необходимости. Просто нагревайте крекеры в течение тридцати секунд в микроволновой печи, и они приобретут вкус свежеиспеченных.
Возвращаем свежесть черствому хлебу
Зачерствевший хлеб можно успешно «освежить», обернув ломтики влажной салфеткой и нагрев в микроволновке в течение 10 секунд на полной мощности. При необходимости операцию можно повторить до достижения желаемой мягкости хлеба.
Приготовление чипсов из бекона в микроволновой печи гораздо быстрее и полезнее, чем в обычных условиях. Положите бумажные полотенца на тарелку, сверху поместите несколько ломтиков бекона и во избежание жирных брызг накройте такими же полотенцами. Установите время от 3 до 5 минут на большой мощности, и вы получите вкусные чипсы без излишнего жира.
Обычно замороженные сэндвичи и выпечка становятся сырыми и вялыми при разогревании. Этого можно избежать, обернув их бумажным полотенцем. Вы увидите, что влага впитается в салфетки, вместо того чтобы остаться на поверхности продукта.
В микроволновой печи можно поджарить кешью или миндаль гораздо быстрее, чем в обычной печи. Просто рассыпьте орешки на блюде, подходящем для обработки в микроволновке, установите таймер на 1 минуту при высокой мощности. Повторите эту операцию 4-5 раз, в перерывах перемешивая орешки.
Если вам необходимо испытать пластиковый контейнер на предмет безопасности обработки в микроволновке, поместите в него кружку с холодной водой и нагрейте в течение одной минуты.
Если вода окажется горячей, а контейнер при этом останется холодным — все в порядке. Если контейнер нагревается, от него придется отказаться.
В микроволновке можно приготовить вкусную яичницу за 3 минуты. Разбейте яйца в чашку, добавив при этом соль, сыр и зелень по желанию, установите высокую мощность. Когда вы услышите сигнал готовности, вас ждет удивительное открытие — вкусное блюдо получается почти мгновенно!
Мед кажется вам слишком густым? Если он кристаллизовался, поставьте банку без крышки в микроволновку на 2 минуты при низкой мощности. Мед снова станет текучим и полностью сохранит свой волшебный вкус.
Микроволновка может помочь ускорить размачивание чечевицы или фасоли, которое обычно занимает целую ночь. Поместите продукты в специальную миску, залейте водой, добавьте щепотку соды и нагревайте в течение 10 минут. Затем оставьте остывать на 30-40 минут, и вы получите фасоль, готовую к дальнейшей обработке.
Вам наверняка пригодится быстрый способ приготовления горячего шоколада без комков.
Измельчите плитку как можно тщательнее и поместите кусочки шоколада в специальной чаше в микроволновку на 15 секунд. Затем повторяйте эту операцию, в перерывах слегка помешивая продукт до достижения желаемого результата.
Для правильного высушивания трав воспользуйтесь следующим советом. Нагрейте их в емкости в течение 2-4 минут на высокой мощности, переложив предварительно бумажными салфетками. Затем следует слегка помять салфетки с травой, повторить операцию и извлечь готовые высушенные растения.
В спешке велик риск передержать коричневый сахар, после чего он превращается в окаменелость, с которой сложно что-либо сделать. Если это произошло, положите его в миску с ломтиком хлеба, сбрызните водой и поставьте на 30-45 секунд в микроволновую печь. Отсыревший сахар тоже можно спасти. Положите сахар в чашку и поставьте в микроволновку на 20-30 секунд.
Чтобы приготовить рыбное филе в микроволновке, необходимо прежде обязательно обсушить его как следует. Размещая филе на тарелке, проследите, чтобы хвосты пересеклись, образовав такую же общую толщину, как на остальной поверхности блюда.
Извлекать рыбу необходимо, когда она еще сохраняет частичную прозрачность. Это может показаться вам странным, но дело в том, что процесс готовки продолжается еще некоторое время после выключения печи. А вот оставив рыбу готовиться еще на несколько секунд, вы легко можете ее пересушить.
Любители шоколадного кекса могут легко получить его за одну минуту и сорок секунд. Нужно смешать сахар, какао, соль, корицу и муку в чаше. После получения однородной смеси сухих ингредиентов нужно по очереди влить жидкие: воду, ванильное мороженое и растительное масло. Еще раз смешиваем все до полного исчезновения комков и нагреваем в микроволновке на высокой мощности, предвкушая скорое наслаждение.
Представьте, можно сделать лимоны или лаймы более сочными и легко «выжимаемыми», поместив их в микроволновую печь на 10-20 секунд на высокой мощности. Затем нарежьте лимоны, положите в соковыжималку, и вы будете удивлены, насколько более сочными, чем обычно, они окажутся.
Вы можете приготовить замечательные яйца-пашот в микроволновке, разбив яйца в специальную чашу с кипящей водой и капелькой белого уксуса.
Необходимо вставить в желток пару зубочисток, накрыть чашу пищевой пленкой и только после этого поставить все в микроволновку. Блюдо готовится на максимальной мощности в течение 30 секунд. После этого яйцо осторожно поворачивают и повторяют операцию в течение 20 секунд, достигая полной готовности продукта.
Очистка зубков чеснока от кожуры может быть хлопотной процедурой, особенно если вы спешите. Проблема имеет простое решение — поставьте головку чеснока в микроволновку и нагрейте в течение 15 секунд на полной мощности. Шелуха станет влажной, и ее можно будет легко удалить.
Поставьте контейнер с мороженым в микроволновую печь и нагревайте на большой мощности с промежутками в 10 секунд. На литр емкости в среднем уходит 30 секунд.
Отрежьте нижнюю часть початка и поместите кукурузу в микроволновую печь. Нагрейте початок на высокой мощности в течение 30 секунд. После того как закончите, возьмите верхний конец початка и стряхните, и вы заметите, что кукуруза с легкостью выскальзывает из шелухи.
Нужны взбитые сливки для горячих напитков? Просто налейте сливки в контейнер вашего миксера, наполнив его до половины. Закройте крышку и взбейте их до появления пены. Затем снимите крышку и поставьте контейнер в микроволновку на 30 секунд при высокой мощности. Все готово — можно взять пену ложечкой и поместить в чашки с горячими напитками.
Нелегкая задача, не правда ли, очистить от кожуры помидоры или, скажем, персики? И здесь снова микроволновка может оказать бесценную помощь! Просто нагрейте фрукты в течение 30 секунд на высокой мощности и оставьте на пару минут остынуть. Вы станете свидетелем маленького чуда: кожура начнет сама отставать прямо у вас на глазах, и ваша цель будет достигнута без усилий.
Микроволновые печи уже давно стали таким же привычным предметом обихода, как холодильник или газовая печь, причем популярность их со временем нисколько не снижается. Причина этого в том, что с их помощью можно подогревать и размораживать продукты, в них легко и просто готовить различные блюда, так как при верно установленных времени и режиме приготовления за ними даже не нужно следить.
И хотя микроволновка не заменит полностью духовую печь и кухонную плиту, она является очень ценным к ним дополнением. Однако, далеко не все знают как пользоваться микроволновкой
, что может привести к поломке или, не дай бог, к еще худшим последствиям. Для того чтобы восполнить этот пробел и написана данная статья.
Продукты в микроволновой печи подогреваются не снаружи, как при обычных способах приготовления пищи, а изнутри. Микроволны, испускаемые печью, проникают на два-четыре сантиметра и вызывают колебания молекул. Слой, доступный для микроволн, нагревается, а дальше тепло передается в зависимости от теплопроводности продукта.
Обычно мощность микроволновых печей составляет от 600 до 1200 Вт, и имеют несколько режимов готовки. Самыми распространенными являются печи с мощностью от 600 до 650 Вт и пятью режимами обработки пищи:
Low – низкая мощность – используется для подогрева нежных продуктов;
Medium Low – мощность ниже средней – используется для размораживания и разогрева продуктов, размягчения сыра, масла, меда, шоколада;
Medium – средняя мощность – предназначена для запекания и тушения мяса, варки супов, блюд из морепродуктов и рыбы, а также молочных продуктов;
Medium High – мощность выше средней – применяется для разогревания блюд и приготовления блюд из птицы, а также различных запеканок;
High – максимальная или высокая мощность – необходима для блюд из фруктов и овощей, напитков.
Чтобы микроволновка работала безотказно и долго, необходимо правильно за ней ухаживать, не нарушать правил приготовления продуктов и использовать специальную посуду.
Ухаживать за микроволновой печью несложно – нужно регулярно чистить ее камеру, удалять мягкой тряпочкой остатки пищи и крошки, жирные пятна, смывая сначала мыльным раствором, а затем водой. Нельзя использовать абразивные материалы – они могут повредить покрытие печки.
В микроволновой печи ни в коем случае нельзя использовать металлическую посуду или посуду, имеющую элементы металлического декора. Дело в том, что металл отражает микроволновую энергию и может спровоцировать электрический пробой, который может привести печь в полную негодность. Умея же правильно пользоваться микроволновкой
, вы никогда конечно не допустите таких ошибок!
В микроволновых печах лучше всего использовать специально изготовленную для них посуду (маркируется как Suitable for Microwave (”Пригодно для микроволновой печи”) или Microwave Oven Safe (”Безопасно для микроволновой печи”)), либо обычную посуду из стекла, керамики, фаянса, фарфора, бумаги, картона или пластмассы.
Стеклянная посуда удобна тем, что легко пропускает микроволны и позволяет следить за процессом приготовления пищи. Кроме этого, посуда из стекла пригодна для всех видов тепловой обработки. Единственно, нужно следить, чтобы стекло не было слишком тонким, так как из-за сильного нагрева оно может лопнуть.
Фаянс и керамика удобны тем, что в них можно сразу подавать блюда на стол, не перекладывая в другую посуду. Нужно только следить за тем, чтобы на покрове такой посуды не было трещин, иначе при мытье в них может попасть вода и из-за нагрева вызвать раскол.
Фарфоровую посуду можно использовать в микроволновой печи только в том случае, если на ней нет металлических украшений (ободков, рисунков и так далее). Помимо этого следует помнить, что фарфор очень сильно нагревается, поэтому вынимать его из печи следует осторожно, чтобы не получить ожог.
Пластмассовая посуда, используемая в микроволновой печи, должна быть жаростойкой. В противном случае вы можете в итоге получить не только деформированную тарелку, но и настоящий «коктейль» из продукта и пластмассы.
Деревянную и бумажную посуду в микроволновую печь можно ставить лишь на непродолжительное время и класть в нее продукты, не содержащие большого количества жира и сахара.
Таковы основные правила пользования микроволновой печью. Но не следует пренебрегать и инструкцией по применению, так как в ней производители прописывают буквально все, что можно, и что нельзя делать с микроволновой печью. К примеру, сушить кошек, как рассказывал Михаил Задорнов.
Еще затрагивая тему как пользоваться микроволновкой
хотелось бы сказать, что ни в коем случае не жарьте семечки, попкорн, орешки – это равносильно включению пустой камеры!
Микроволновая печь, или микроволновка, является почти непременным атрибутом любой российской кухни. Почему этот бытовой прибор настолько распространен? Дело в его быстроте — время разогрева в микроволновой печи измеряется в секундах, тогда как на плите это займет куда больше времени. Удобство тоже играет немаловажную роль — микроволновка невелика по размерам и поместится даже в самой маленькой «хрущевке».
А если плиты нет и нет возможности ее поставить? Микроволновка во многом может ее заменить!
Как микроволновка появилась на свет
«Отцом» микроволновой печи по праву считается американский физик Перси Спенсер. Он разрабатывал излучатели сверхвысоких частот, и во время своих экспериментов обратил внимание, что органика под воздействием СВЧ разогревается. Как именно это произошло, история умалчивает, однако есть две наиболее распространенные версии: по одной из них, он по рассеянности забыл на включенном приборе бутерброд, а когда вспомнил о нем, он уже был сильно разогрет. Вторая версия утверждает, что Спенсер носил в кармане шоколадку, которая закономерно растаяла под влиянием сверхвысоких частот.
Использование в быту
Так или иначе, обнаружив «продовольственные» свойства СВЧ-излучения в 1942 году, уже в 45 физик получил на свое изобретение патент. А уже через два года, в 1947-м, американские военные разогревали в микроволновой печи свои завтраки, обеды и ужины.
Что бы ни делала микроволновка, принцип работы ее механизма военных не волновал — главное, что она давала быстрый результат. Правда, микроволновка в 40-е была еще «не та» — вес прибора превышал 300 килограмм!
Далее за дело принялась фирма Sharp — уже в 62-м она выпустила «в народ» первую модель потребительской микроволновой печи. Особенного всплеска интереса она не вызвала, потому что покупателей отпугивало использование СВЧ-излучения. В дальнейшем этой же компанией была изобретена «вращающаяся тарелка», а в 79-м — система электронного управления.
Из чего состоит СВЧ-печь?
Микроволновая печь состоит из нескольких обязательных деталей:
- Трансформатор.
- Магнетрон в микроволновке — собственно, излучатель
- Волновод, за счет которого происходит передача излучения к изолированной камере.
- Металлизированная камера — место, где и разогреваются продукты.
Дополнительными элементами микроволновки являются: для более равномерного разогревания пищи, электроника для управления различными режимами, таймером, вентилятор.
Каким образом микроволновка греет пищу?
Несмотря на кажущуюся «магию», которой обладает микроволновка, принцип работы абсолютно научен и логичен. Практически в любой пище содержится молекулы воды и других элементов, имеющих как положительный, так и отрицательный заряд. При отсутствии магнитного поля заряды в молекулах располагаются произвольно, хаотически. Сильное же магнитное поле мгновенно организует электрические заряды — они становятся направлены строго в соответствии с ходом линий магнитного поля.
Особенность СВЧ-излучения в том, что оно «переворачивает» дипольные молекулы не просто быстро, а невообразимо — почти 5 миллиардов раз в секунду! Молекулы перемещаются в соответствии со сменой магнитного поля, а высочайшая скорость «переключения» буквально создает эффект трения. Именно благодаря этому продукты в микроволновой печи разогреваются за несколько секунд.
Типы микроволновых печей
Какие же бывают микроволновки и чем они между собой различаются:
- Соло-печь, или микроволновка обыкновенная.
Относится к самым бюджетным моделям и предназначена только для размораживания и подогрева пищи. Как правило, такие СВЧ-печи имеют механическое управление и довольно надежны, поскольку ломаться особо нечему. - СВЧ с грилем и конвекцией. Эти функции микроволновки идут как вместе, так и порознь. Гриль представляет собой дополнительный нагревательный элемент, который расположен чаще всего под потолком камеры, и вращающийся вертел. Конвекция — это циркуляция горячего воздуха внутри камеры, что обеспечивает дополнительный и более равномерный разогрев пищи. Такие микроволновки, как правило, относятся к средней ценовой категории и работают как на механическом, так и на электронном управлении.
- Многофункциональные СВЧ-печи. Множество режимов, само собой, конвекция и гриль, функция пароварки, а также еще целый набор кулинарных решений для вашей кухни. Разумеется, такие серьезные бытовые приборы относятся к категории дорогих и управляются с помощью сложной электроники.
Несмотря на отличие в деталях, СВЧ-печь за 20 долларов и за 200 — это все та же микроволновка.
Принцип работы тот же.
Чем еще отличаются друг от друга микроволновки?
- Объемом. Бытовые СВЧ-печи друг с другом разнятся, но не слишком сильно. А вот промышленные микроволновки совсем другие — в них можно разогревать сразу несколько десятков порций.
- Тип гриля. Он может быть керамическим, кварцевым или тэновым. При одинаковой смысловой нагрузке различаются между собой деталями: например, кварцевый гриль разогревает равномерней и тратит меньше электричества, но тэновый может работать интенсивнее, а также его проще отмывать.
- Способ покрытия внутренних стенок. Их тоже несколько — покраска под эмаль, прочная эмаль и специальные покрытия (биокерамика и антибактериальное). Покраска — самое дешевое и недолговечное, эмаль уже получше, хотя длительное и интенсивное использование также приводит его в негодность. Специальные покрытия можно назвать вечными. К недостаткам относятся высокая цена и хрупкость по отношению к ударным нагрузкам. И да, есть еще нержавейка — отличный вариант для тех, кто не готов слишком сильно раскошеливаться ради микроволновки.
Прочное, надежное, прекрасно выглядящее покрытие с легкостью выдерживает длительные и интенсивные нагревания. К недостаткам нержавейки следует отнести сложности в отмывании — несколько чисток абразивными средствами создают на ее поверхности сеточку микроцарапин, в которые пригоревший жир «вцепляется» всеми своими молекулами. - Виды управления. Их всего три — механика, кнопки, Механика дешева, проста в использовании, надежна, недостаток — точность выставления времени. Кнопки чуть чаще ломаются, но зато время можно выставить секунда в секунду. К недостаткам можно отнести скапливающуюся на элементах управления грязь, что требует дополнительного времени для оттирания. Сенсор — красиво, стильно, грязь не скапливается, можно программировать процесс приготовления еды. Недостатки — ломается чаще других, стоит ощутимо дороже. Ремонт микроволновок, особенно дорогих, услуга недешевая, поэтому стоит подумать: а стоит ли брать с сенсором?
- Режимы работы СВЧ-печи. Их может быть от 3-4 в дешевых моделях, до 10-12 в самых дорогих.
Из основных режимов можно выделить следующие: полный режим — жарка мяса, запекание овощей. Средне-высокий, 3/4 мощности — быстрое разогревание нетребовательных продуктов. Средний — варка супов, приготовление рыбы. Средне-низкий, 1/4 мощности — разморозка продуктов, «мягкий» разогрев продуктов. Самый малый, около 10% мощности, предназначен для размораживания «капризных» продуктов вроде томатов, и поддержания в теплом виде уже горячих продуктов.
Допфункции СВЧ-печей
Одной из самых интересных дополнительных функций для микроволновой печи является подача горячего пара. Это дополнение не дает продуктам пересыхать, а также они готовятся значительно быстрее. Сюда же можно добавить проветривание камеры — несмотря на кажущуюся незначительность, для многих хозяек эта функция стала спасительной — теперь у них овощи не пахнут рыбой, а рыба — яблоками.
Разделители камеры. Различные решетки позволяют готовить несколько порций одновременно. К недостаткам этой функции можно отнести отсутствие вращение, что делает разогрев пищи менее равномерным.
«Крисп» — специальная тарелка для микроволновки, позволяет готовить в ней так же, как на сковородке. Изготовленная из она «держит» температуру до 200 градусов.
Слюда. Зачем слюда в микроволновке? Она оберегает волновод от различных загрязнений, и увеличивает срок службы прибора.
Функция двойного излучения. Как работает такая микроволновка? Устройство и принцип работы такой СВЧ-печи отличаются только наличием двух источников высокочастотного излучения. Это позволяет добиться более качественного и равномерного прогревания пищи.
Встроенная кулинарная книга. Недешевая функция, но для тех, кто любит вкусно поесть, не тратя на это больших временных и интеллектуальных затрат, это самое оно.
Необходимые правила безопасности при использовании СВЧ-печи
Довольно часто обывателей волнует вопрос о том, не опасна ли для здоровья микроволновка. Принцип работы ее, конечно, основан на СВЧ-излучении. Но бояться этого не нужно.
Полностью исправная микроволновая печь представляет не большую опасность для потребителя, чем компьютер или телевизор.
Вопреки стойким мифам, излучение от микроволновки не является радиоактивным или канцерогенным, и микроволновка после пары месяцев работы не начинает «фонить».
СВЧ-излучение в действительно может нанести серьезный ожог, но чтобы добиться этого от своей домашней микроволновки, придется попотеть — даже самые дешевые модели оснащаются многоуровневой защитой. И, например, засунуть руку во включенный прибор не получится — автоматика сразу же отключит питание.
Какую посуду стоит использовать в своей микроволновой печи
Лучше всего, если тарелка для микроволновки, которую вы собираетесь использовать в СВЧ-печи, будет специализированной, с соответствующей маркировкой. К ней относятся, например, наборы посуды из жаропрочного стекла. Если же у вас под рукой нет такой, то обратите внимание на следующие рекомендации:
- Стекло. Отличный материал для микроволновки, если он не слишком тонкий, и отсутствуют трещины и сколы.
- Фарфор и фаянс. Подходящие материалы, в том случае, если они полностью покрыты глазурью и не покрашены металлизированной краской.
Опять же, фарфоровая или не должна иметь механических повреждений. - Бумага. Подходящий материал, но с допущениями — бумага должна быть плотной, не окрашенной, и лучше не использовать ее в течение долгого времени.
- Пластик. Да, но только специализированный. Сегодня многие фирмы выпускают целые линейки пластиковых контейнеров для разогрева в микроволновых печах. Идеальный вариант для офисного работника, который не хочет разоряться на бизнес-ланчи и походы в кафе.
Самая неподходящая тарелка для микроволновки — металлическая. От высокочастотного излучения она начинает искрить, а это вскоре отправит вас искать заведение, где осуществляют ремонт микроволновок.
Как ухаживать?
В этом вам поможет инструкция к микроволновке. В ней указано, какими специальными моющими средствами ее следует чистить. Недостатка в них нет, а покупать их стоит сразу, с микроволновкой. Не стоит затягивать с уборкой — многократно нагретый и спрессованный жир на стенках камеры вам придется мучительно долго оттирать, проклиная все на свете, а ежедневная уборка будет сводиться к нескольким легким движениям тряпкой.
Если вы все же добились образования «древних отложений», то перед мытьем поставьте в печь стакан воды на минуту и включите максимальный режим. Жир и грязь набрякнут и отмоются в разы легче.
Немного юмора…
Одна дама в США выиграла судебное дело после того как «посушила» в микроволновой печи свою кошку. В исковом заявлении она указала, что не знала о том, что «нельзя сушить кошек в микроволновке».
Несмотря на о том, что сырые куриные яйца в микроволновке взрываются, энтузиасты по всему миру стараются придумать способ обойти эту проблему — проколоть дырку в скорлупе, завернуть в специальную пленку. Но, несмотря на все их усилия, яйца все равно взрываются.
Недавно взорвало интернет фейковое сообщение о том, что новую модель айфона можно подзарядить от микроволновки. Неизвестно, сколько владельцев смартфонов повелось на этот розыгрыш, но десятки фото с раскуроченными айфонами говорят сами за себя.
В наше время микроволновая печь есть практически у каждого человека в доме.
С помощью неё удобно разогревать пищу, осуществлять разморозку, можно готовить интересные блюда и даже делать мясо на гриле. Однако, не всем известно, как пользоваться микроволновкой, чтобы она прослужила максимально долго, а еда получалась качественной.
Инструкция по использованию
Приобретя свою первую или новую микроволновку, прежде всего, следует прочесть инструкцию. В ней можно узнать о предназначении кнопок и обо всех её возможностях, к примеру, о функции гриль в приборе. Только после этого можно приступать к эксплуатации.
Как включить микроволновку?
Это первое, о чём задумываются люди. Краткая инструкция по активации устройства:
- Для начала её нужно поставить на ровную поверхность, к примеру, на стол.
- Затем вставить в розетку, так как прибор не может работать без электрического тока.
- После этого может понадобиться нажать на кнопку «Старт» или «Cook». На некоторых устройствах можно обойтись без кнопок. Достаточно покрутить таймер времени приготовления.
После всех этих действий печь должна заработать.
Что касается таймера, то это важный элемент, так как именно он регулирует время приготовления. Сейчас можно встретить разные виды таймеров, какой из них лучше – сложно сказать. Наиболее распространённым считается циферблат, который нужно поворачивать по часовой стрелке до тех пор, пока не высветится на экране нужное время. Также бывает цифровая клавиатура, на которой требуется вводить секунды и минуты.
Необходимо точно знать, сколько нужно разогревать или готовить конкретные продукты, чтобы они не испортились. Информация зачастую находится на упаковке продукта.
Какая нужна посуда?
Разобравшись с тем, как включить микроволновку и выставить время, необходимо определиться с посудой, которую можно помещать в СВЧ. В печь не рекомендуется загружать металлические миски и объекты, которые могут расплавиться. Также нежелательно класть тарелки, способные сильно нагреваться. Идеально подойдёт посуда, созданная специально для микроволновой печи.
Она отвечает всем требованиям и не принесёт микроволновке вреда.
Если требуется разогреть продукты, имеющие свойство разбрызгиваться или лопаться, то их следует накрывать специальным пластиковым колпаком. Это могут быть помидоры, яблоки, сосиски, гороховый суп и т.п.
Функция разморозки
Каждая микроволновка имеет режим разморозки, который предназначен для замороженных продуктов. Его следует использовать перед тем, как готовить ледяное мясо. Обычно требуется от 15 до 30 минут на то, чтобы разморозка была полностью проведена.
Узнав о том, как пользоваться микроволновкой, необходимо позаботиться об уходе за ней.
Правила ухода:
- Её нужно регулярно чистить, предварительно отключив от сети.
- Для достижения лучшего результата следует вытащить решётки, поворотный столик и другие подобные предметы.
- Их нужно промывать в тёплой воде с жидким мылом, а затем давать самостоятельно высохнуть.
- Саму микроволновку нужно чистить едва влажной тряпкой, убирая все крошки и пятна жира, какие присутствуют на поверхности.

- Важно не использовать воду, так как она может привести к неисправности прибора. О том, как правильно ухаживать за техникой, расскажет статья – Как почистить микроволновку?
- Когда СВЧ станет чистой, то можно вернуть решётки, поворотный столик и другие предметы на место.
Теперь можно снова пользоваться микроволновкой.
Сколько лет можно использовать?
Задаваясь вопросом, сколько лет можно пользоваться микроволновкой, необходимо помнить о качестве устройства.
Дорогие СВЧ печи способны без сбоев прослужить 5-8 лет, а вот дешёвые могут сломаться и через 3 года.
Также продолжительность эксплуатации зависит от того, сколько раз в неделю человек использует микроволновку и как хорошо за ней ухаживает. Бывают случаи, когда СВЧ нормально работает и спустя 11 лет. Хотя специалисты не советуют пользоваться такими старыми устройствами. Они могут быть опасны для здоровья, так как защитный слой на экране истощается, и вредные излучения начинают влиять на человека.
Кроме того, прибор устаревает и начинает хуже работать. Чтобы он дольше прослужил, надо знать, как правильно пользоваться устройством.
Из этого можно понять, что вопрос, сколько можно пользоваться СВЧ, сугубо индивидуальный. Обычно владелец сам понимает, когда устройство пора заменить, так как прибор через определённый промежуток времени становится неудобен в использовании.
Есть ли вред от микроволновки?
Практически каждый человек мог слышать или читать о том, что микроволновки опасны для здоровья. Однако, несмотря на подобные высказывания, приборы продолжают продавать, а многие люди не прекращают в них готовить. Вредно ли пользоваться микроволновкой – вот, что должен знать каждый владелец подобного устройства.
Всех, кто готовит в СВЧ, можно сразу же успокоить. Микроволновки не опасны для человека и не отравляют продукты.
Да, СВЧ-излучения сами по себе вредны, но от них надёжно защищает корпус прибора. Если он цел, то беспокоиться не о чем.
А вот если стекло дверцы разбито или имеется другая неисправность, то тогда устройство следует сдать в ремонт или выбросить. Пользоваться в этом случае им нельзя, так как оно становится действительно опасным.
При исследованиях, призванных ответить на вопрос, можно ли использовать микроволновку, не было отмечено отрицательного влияния на еду. Даже напротив, продукты, которые готовились в СВЧ печи, сохраняют около 90% витаминов, а те, для которых использовались традиционные кулинарные методы, оставляют только 40-60% витаминов. Из этого можно сделать вывод, что если знать, как именно следует пользоваться микроволновкой, то от неё будет только польза.
Функция гриль – что это?
Гриль в микроволновке – вполне обычная функция, которую поддерживают многие приборы. Однако, не все люди знают, можно ли с помощью неё готовить вкусную пищу или нельзя. Безусловно, это возможно, особенно, если модель СВЧ печи качественная и дорогостоящая. В ней можно сделать аппетитные овощи, курицу, мясо и другие продукты.
Понять, как пользоваться грилем в микроволновке, не всегда просто. С первого раза редко удаётся приготовить продукт, так как ещё непонятно, какую температуру и время выставлять. К тому же, гриль бывает тэновый и кварцевый, а их функции сильно различаются.
Чтобы приготовить, к примеру, курицу, потребуется:
- Положить её на решётки или нанизать на шампур, если таковой имеется.
- Включить функцию гриль и выставить время около 30-40 минут. Хорошо, если имеется кварцевый нагреватель, так как он качественнее готовит продукты.
- Подождать заданное количество времени.
В итоге курица должна получиться полностью прожаренной и с хрустящей корочкой в приборе с грилем. Если она за 40 минут не приготовится, то время следует увеличить на 15-20 минут. То же самое можно проделывать и с другими продуктами, так как функция гриль в приборе действительно универсальная и полезная.
Видео-инструкция
Современные микроволновки часто могут показаться непонятными в использовании, поэтому рекомендуется посмотреть видео, в котором на примере одной из них рассказывается о включении, выставлении таймера и обо всех функциях прибора.
Удачного приготовления!
Вконтакте
Физика в нашем доме. Принцип работы микроволновой (СВЧ) печи
1. Физика в нашем доме
Принцип работы микроволновой
(СВЧ) печи
Микроволновая печь или СВЧ-печь –
бытовой электроприбор, предназначенный для
быстрого приготовления или быстрого подогрева
или приготовления пищи, размораживания
продуктов, а также использующийся в
производственных целях для разогрева
некоторых материалов.
В отличие от классических печей (например,
духовки или русской печи), разогрев продуктов в
микроволновой печи происходит не с
поверхности, а по всему объёму продукта,
содержащему полярные молекулы (например,
воды), так как радиоволны проникают достаточно
глубоко почти во все пищевые продукты. Это
сокращает время разогрева продукта.
4. История создания
Американский инженер Перси
Спенсер впервые заметил
способность сверхвысокочастотного
излучения к нагреванию продуктов и
запатентовал микроволновую печь.
Спенсер работал в компании
занимающейся изготовлением
оборудования для радаров. По
легенде, когда он проводил
эксперименты с очередным
магнетроном, Спенсер заметил, что
кусок шоколада в его кармане
расплавился.
Так или иначе эффект был обнаружен. В
1945 году Спенсер получил патент на
использование микроволн для
приготовления пищи, а в 1947-м на
кухнях госпиталей и военных столовых,
где требования к качеству пищи были не
столь высоки, появились первые
приборы для приготовления пищи с
помощью микроволн. Эти изделия
фирмы «Райтеон» были высотой в
человеческий рост весили 340 кг.
6. Устройство микроволновой печи. Основные компоненты :
металлическая, с металлизированной дверцей,
камера (в которой концентрируется СВЧ
излучение), куда помещаются разогреваемые
продукты;
трансформатор — источник высоковольтного
питания магнетрона;
цепи управления и коммутации;
непосредственно СВЧ-излучатель — магнетрон;
волновод для передачи излучения от магнетрона
к камере;
7.
Принцип работы микроволновой (СВЧ) печи
В состав продуктов питания входят многие
вещества: минеральные соли, жиры, сахар, вода.
Чтобы нагреть пищу с помощью микроволн,
необходимо присутствие в ней дипольных
молекул, то есть таких, на одном конце которых
имеется положительный электрический заряд, а
на другом — отрицательный. К счастью,
подобных молекул в пище предостаточно — это
молекулы и жиров и сахаров, но главное, что
диполем является молекула воды — самого
распространенного в природе вещества.
Каждый кусочек овощей, мяса, рыбы, фруктов
содержит миллионы дипольных молекул. В
отсутствие электрического поля молекулы
расположены хаотически. В электрическом поле
они выстраиваются строго по направлению
силовых линий поля, «плюсом» в одну сторону,
«минусом» в другую. Стоит полю поменять
направление на противоположное, т.е. сменить
полярность, как молекулы тут же
переворачиваются на 180 градусов.
Частота микроволн, которую используют почти
все СВЧ-печи — 2450 Мгц. Один герц — это одно
колебание в секунду, мегагерц — один миллион
колебаний в секунду. За один период волны поле
меняет свое направление дважды: был «плюс»,
стал «минус», и снова вернулся исходный
«плюс». Значит, поле, в котором находятся наши
молекулы, меняет полярность 4 900 000 000 раз в
секунду! Под действием микроволнового
излучения молекулы кувыркаются с бешеной
частотой и в буквальном смысле трутся одна о
другую при переворотах. Выделяющееся при
этом тепло и служит причиной разогрева пищи.
Продукты нагреваются под действием микроволн
примерно так же, как нагреваются наши
ладони, когда мы быстро трем их друг о друга.
Сходство состоит и еще в одном: когда мы
трем кожу одной руки о кожу другой, тепло
проникает в глубь мышечной ткани. Так и
микроволны: они работают только в
относительно небольшом поверхностном слое
пищи, не проникая внутрь глубже, чем на 1-3
см.
Поэтому нагрев продуктов происходит за
счет двух физических механизмов — прогрева
микроволнами поверхностного слоя и
последующего проникновения тепла в глубину
продукта за счет теплопроводности.
11. Спасибо за внимание;)
Опасна ли СВЧ-печь? | УО «Гомельский государственный медицинский колледж»
Микроволновая печь — неотъемлемый атрибут современной кухни. В большей или меньшей степени её используют в каждом доме. Простота в обращении и экономия времени способствуют ее популярности.
При этом отношение к этому кухонному прибору очень неоднозначно. О вреде микроволновой печи ходит много разговоров, но данный вопрос так до конца и не изучен учеными. Что на самом деле таит изобретение ХХ века?
Итак, согласно официальной точке зрения, микроволновки «вне закона» официально никто пока не объявлял. Вместе с тем, ученые признают, что вопрос о применении микроволновых печей неоднозначный и требует дальнейшего изучения.
Важно помнить! Различные производители техники гарантируют нам безопасную работу техники на протяжении от двух до десяти лет.
Средний срок безопасной службы печи определяется на уровне 6 лет.
Он зависит от надёжности приобретённой вами модели микроволновки, её состояния и соблюдения вами правил эксплуатации.
Какой же принцип работы микроволновой печи.
Важнейшей частью работы любой микроволновой печи является магнетрон, который преобразует электрическую энергию из сети в высокочастотное электрическое поле. Микроволны этого поля взаимодействует с молекулами воды в подогреваемой пище. Эти волны очень короткие – перемещаются в пространстве со скоростью света и используются не только для быстрого приготовления пищи, но также для телефонной связи, передачи телевизионных программ, работы интернета.
Когда мы включаем микроволновую печь, микроволны от магнетрона проникают в продукты и вызывают электромагнитные колебания молекул воды со сверхвысокой частотой. В связи с этим возникает трение, температура повышается и пища готовится.
Есть ли вред от разогретого продукта?
– Во время приготовления пищи в микроволновой печи никаких существенных изменений в самом продукте не происходит.
Воздействие СВЧ-излучения влияет только на температуру продукта, а не на его состав. Продукт может испортиться, только если переусердствовать и перегреть его сверх нормы.
Вредные вещества могут появиться, если разогревать пишу в непригодной для этого посуде: пластике или полиэтиленовых пакетах. Дело в том, что эти материалы могут частично разложиться из-за воздействия высокой температуры, тогда вредные продукты разложения перейдут в пищу.
Правила безопасного использования микроволновой печи.
Правил немного, но все очень важные:
• используйте микроволновку строго по инструкции и не используйте, если у нее вышел срок эксплуатации;
• когда микроволновка в действии, отойдите от нее на расстояние не менее 1,5 метра;
• помните, что еда и особенно жидкости в микроволновке нагреваются неравномерно, поэтому не обожгитесь;
• если вы готовите сырые животные продукты, то имейте в виду, что в некоторых местах они могут оказаться приготовленными не до конца, так как микроволны распространяются по микроволновке неравномерно;
• для приготовления и разогрева пищи в микроволновой печи рекомендуется использовать прозрачную стеклянную посуду, она лучше всего пропускает микроволны.
При этом нельзя пользоваться посудой с позолоченным или посеребренным рисунком, тарелками из дерева и метала, из стали, чугуна, алюминия и меди, а также из пластмассы – она нетермостойкая и легко деформируется, если только на ней нет надписи «термоустойчивость до 140 градусов»;
• перед разогреванием не забывайте также удалять металлические проволочки, зажимы и др., которые могут использоваться в полуфабриках. Нужно помнить, что металл не пропускает микроволны, металлические предметы способны образовывать электрическую дугу и выводить печь из строя, а также могут привести к возгоранию в печи;
• если же вы готовите продукты, которые покрыты кожицей, например картофель в мундирах, лучше проколоть его в нескольких местах вилкой или ножом. Таким образом, вы предотвратите растрескивание продукта;
• ни в коем случае нельзя включать пустую микроволновую печь: магнетрону будет не с чем взаимодействовать и он может выйти из строя.
Влияние на организм человека этого гаджета продолжают изучать ученые.
И пока они не вынесли окончательный вердикт, лучше готовить пищу на плите, а в микроволновке только разогревать или размораживать продукты. Также следует отходить подальше от включенной печки и не допускать к ней детей, следить за исправностью микроволновки и не пытаться ее ремонтировать самостоятельно.
Помните, что наше здоровье зависит только от нас самих,
а выбор остается за нами!
Социолог отделения общественного здоровья
Гомельского городского ЦГЭ
Ирина Дрозд
Микроволновые печи: принцип работы, виды, параметры
Микроволновая печь – это бытовая техника, предназначенная для разогрева, разморозки и приготовления водородосодержащих продуктов методом облучения молекул сверхвысокочастотными, электромагнитными колебаниями — движение молекул (трение) приводит к разогреву продукта на глубине до 5 см. от его поверхности (зависит от мощности магнетрона).
Чем мощнее магнетрон в микроволновке, тем глубже проникновение электромагнитных волн в продукты, следовательно быстрее и разогрев.
Устройство и принцип работы
По элементу управления магнетроном, создающим магнитные волны, разделяют трансформаторные и инверторные микроволновые печи.
Микроволновая печь конструктивно состоит из:
- Магнетрон, который непосредственно излучает микроволны.
- Повышающий трансформатор или инвертор — подает высокое напряжение на магнетрон.
- Металлический корпус (рабочая камера), в котором происходит разогрев пищи.
- Охлаждающий вентилятор.
- Волновод, обеспечивающий передачу излучения в камеру от магнетрона.
- Вращающийся стеклянный столик.
- Панель управления с кнопками и регуляторами.
Нагрев продукта в микроволновой печи основан на принципе дипольного сдвига – преобразования электромагнитного излучения в тепловую энергию. Под действием магнитного поля, которое вырабатывает магнетрон, полярные молекулы, содержащиеся в продукте, начинают сдвигаться, выстраиваясь согласно силовым линиям.
Поскольку поле переменное меняется и направление движения.
Раскачиваясь и сталкиваясь между собой, молекулы увеличивают кинетическую энергию тела, что приводит к повышению его температуры.
Нагрев в результате диполярного сдвига зависит от свойств молекул и особенностей межмолекулярного взаимодействия. Частота излучения магнетрона 2,450 ГГц оптимально подобрана для воздействия молекул воды в жидком состоянии.
Отдельно можно отметить устройства, совмещающее в себе духовой шкаф. Подобное сочетание позволяет существенно экономить место на кухне.
Преимущества встроенной духовки с микроволновкой — большой выбор моделей и количество функций.
Существуют пользователи, которые считают, что СВЧ и микроволновка имеют разницу — микроволны и сверхвысокие частоты это одно и тоже.
Виды микроволновок
По типу конструкции микроволновки делятся на несколько видов:
- Соло-модели.
Это модели обладающие только функцией СВЧ, без дополнительных программ — предназначены только для разогрева и разморозки продукта. - С грилем. В камере установлен нагреватель (кварцевый или металлический ТЭН). Микроволновые печи с грилем способны не только разогревать пищу, но и запекать её как в обычной духовке. Количество, расположение и мощность нагревателей зависит от функциональных особенностей конкретной модели.
- С конвекцией. В заднюю стенку внутренней камеры вмонтирован вентилятор, разгоняющий горячий воздух по всему объёму, обеспечивая равномерное запекание продукта.
- Со встроенной пароваркой. Модели комплектуются контейнером, в который заливается вода. Внутри камеры микроволновки она разогревается до кипения и превращается в пар.
- Инверторные печи. В таких СВЧ- печах трансформатор заменён электронной платой. В результате мощность снижается или повышается плавно, а не скачкообразно, как в традиционных моделях.
Особенности встраиваемых микроволновок описаны в этой статье.
Особенности эксплуатации
При эксплуатации микроволновой печи придерживайтесь следующих мер безопасности:
- Не включайте пустую СВЧ печь.
- Не включайте в розетку с повреждённым проводом.
- Во избежание возгораний внутри камеры следите, чтобы продукты не перегревались.
- Разогревайте продукты только в предназначенной для этого посуде: стеклянной, фарфоровой, изготовленной из термоустойчивого пластика. Металлическими ёмкостями разрешается пользоваться только в режиме гриля.
- Вскрывайте герметичную упаковку, чтобы она не взорвалась внутри камеры — требуется отток скопившегося пара, чтобы снизить давление.
После готовки или разогрева пищи в микроволновой печи протирайте внутренние стенки влажной губкой. В противном случае остатки жира могут воспламениться при последующих включениях. Внешнюю и внутреннюю поверхность камеры протирайте влажной тряпкой без использования агрессивных чистящих средств, чтобы влага не попала в вентиляционное отверстие.
Параметры
Объём внутренней камеры
Все микроволновки в зависимости от объёма внутренней камеры условно делятся на три категории:
- Объёмом до 20 литров. Отличаются небольшими габаритами и подходят для 1-2 пользователя. Курицу или индюшку целиком в такой печи не приготовить.
- От 20 до 28 литров. Подходят для семьи из 3-4 человека. В камеру микроволновки такого объёма войдёт широкое блюдо и курица целиком.
- Свыше 28 литров. Подойдёт для семьи из 5 человек и более. Модель оптимальна, если требуется готовить или разогревать одновременно большой объём пищи.
Гриль
С помощью гриля продукты готовят, а не просто их подогревают. Например, запекают овощи или жарят рыбу с корочкой.
Существует 2 основных типа гриля:
ТЭНовый. Это металлическая трубка с нагревательным элементом внутри, размещённый в верхней части камеры.
Достоинства:
- Простота.
- Надёжность.
- Равномерный нагрев продукта.
Чтобы усилить мощность гриля и увеличить скорость приготовления пищи, внутри камеры может быть установлено несколько ТЭНов. В зависимости от конструкции они могут быть подвижными и неподвижными. Подвижные могут менять своё положение, обеспечивая равномерный прогрев продукта во время приготовления, и упрощая процесс уборки.
Кварцевый. Это кварцевая трубка с нагревательным элементом внутри, закрытая металлической решёткой. По сравнению с ТЭНовым грилем у него есть ряд преимуществ:
- Не занимает рабочее пространство камеры, поскольку скрыт в её потолке.
- Экономичен.
- Прост в уходе.
При этом кварцевый гриль не меняет положение и не обеспечивает равномерный прогрев продукта. В некоторых моделях встречается нижний гриль – встроенный в дно камеры инфракрасный нагреватель. СВЧ-печь с грилем стоит дороже соло-моделей, поэтому приобретать её стоит только, если владелец планирует готовить, а не просто разогревать пищу.
Внутреннее покрытие
Существует три основных вида покрытия внутренней камеры: эмаль, керамика, нержавейка. Они отличаются друг от друга трудоёмкостью в очистке и долговечностью.
- Эмаль. Самое бюджетное покрытие. При длительном использовании эмаль желтеет, на ней могут появиться трещины и сколы. Покрытие трудоёмкое в уходе, требует специальных чистящих средств.
- Керамика или биокерамика. Прочное, долговечное и доступное по цене покрытие. Легко чистится мягкими моющими средствами.
- Нержавеющая сталь. Самое долговечное и дорогостоящее из всех видов покрытий в микроволновках — устойчиво к механическим повреждениям. Требует тщательного ухода – на глянцевой поверхности после готовки остаются брызги и капли жира. Такое покрытие нежелательно чистить абразивными веществами, оставляющие царапины.
Панель управления
Существует 3 типа управления СВЧ-печью:
- Механическое. Представляет собой 2 регулятора: один задаёт мощность, другой время разогрева.
Достоинства такого типа управления – простота и низкая стоимость. Недостаток – нельзя точно выставить время приготовления. В моделях с механическим типом управления легко перегреть блюдо. - Кнопочное. В моделях с кнопочным типом управления устанавливают дисплей, на котором отображается точное время приготовления. Такие СВЧ-печи могут не только разогревать, но и готовить разные блюда. Кнопочное управление уступает в надёжности механике, но превосходит сенсор.
- Сенсорное. Самый современный и востребованный тип управления. Отличается большим выбором программ по разогреву и приготовлению продукта, даёт возможность точно выставить время работы печи. Кнопки и выступающие части отсутствуют, поэтому за панелью легко ухаживать. Единственный недостаток – высокая цена.
Человеку, приобретающему СВЧ печь просто для разогрева пищи стоит обратить внимание на бюджетные модели с механическим управлением. Если цель приобретения готовка, лучше остановить свой выбор на модели с кнопочной панелью.
Мощность
Мощность – это одна из базовых характеристик микроволновой печи. Именно от неё зависит, как быстро разогреется и приготовится блюдо. Мощность соло-моделей колеблется в диапазоне 500 – 1100 Вт. Чем выше этот показатель – тем быстрее разогреется продукт. У моделей с грилем мощность увеличивается до 1500 Вт.
В режиме гриля устройство потребляет больше всего электроэнергии. В СВЧ-печах с конвекцией этот показатель достигает 2 кВт. Чем выше мощность – тем выше цена модели и затраты по электроэнергии.
Дополнительные функции и приспособления
Именно они определяют возможности микроволновой печи. Выделим самые известные:
- Автоприготовление. Программа, которая подбирает время приготовления и мощность в зависимости от веса и наименования продукта.
- Контейнер-пароварка. Бюджетный аналог встроенной пароварки. В контейнер с двойным дном заливается вода, которая закипает во время приготовления и превращается в пар.

- Блокировка от детей. Встречается в моделях с сенсорным и кнопочным управлением. При включённой блокировке панель управления не реагирует на нажатие кнопок.
- Вертел. Металлический штырь, который вращается внутри камеры. На вертеле запекают большие куски мяса, шашлык, овощи.
- Очистка паром — облегчает процесс ухода за внутренней камерой, размягчает засохшие пятна жира и грязи.
- Отложенный старт — поможет приготовить или разогреть блюда к нужному времени.
- Отключение звуковых сигналов – функция актуальна для пользователей, кому мешают громкие звуки, например, если спит маленький ребенок.
Не будут лишними и дополнительные аксессуары, идущие в комплекте – вертела, колпаки, чаши для пара, посуда для запекания, многоуровневые подставки и т.д.
Самая частая неисправность микроволновок
Практически все модели часто подвержены одной неисправности. В определенный момент микроволновка не реагирует на нажатие кнопок или повороту рычагов.
Как правило, происходит это из-за засорения или выхода из строя микропереключателей, предназначенных для защиты от случайного включения при открытой дверце: на дверце присутствуют язычки, которые замыкают/размыкают минимум 3 микропереключателя, соединенных последовательно.
Повреждение одного не даст сработать остальным. Чаще это просто засорение, и в домашних условиях легко диагностируется резким захлопыванием дверцы. Если после резкого захлопывании дверцы микроволновки управление реагирует на нажатие — требуется заменить микропереключатель или очистить прилегающий к нему механизм (обычно загрязняется жиром).
Но возможен и другой вариант, при котором микропереключатели не повреждены, засорения нет — сломан пластиковый язычок, давящий на группу переключателей. Это относиться к моделям, у которых дверца защелкивается на замок и чтобы открыть ее требуется надавить на кнопку-рычаг сбоку от дверцы. Часто, язычок еще не сломан до конца, но дужки на которых он держится изгибаются при надавливании.
Производители
Выделим несколько производителей, чья продукция занимает лидирующие позиции на рынке сбыта:
- LG. Широкий модельный ряд и доступная цена обеспечивают популярность потребителей.
- Samsung. Устройства, выпускаемые под этим брендом, отличаются разнообразным дизайном, надёжностью и практичностью.
- Panasonic. Это первая компания, выпустившая микроволновую печь с инвертором. Продукция отличается надёжностью и функциональностью.
- Bosh. Немецкий бренд производит технику премиум-класса. Отличительные черты – современный дизайн и надёжность.
Будем рады оценке «Понравилось» или «Не понравилось» и комментарию, о том, что именно не понравилось в статье. Если оценили материал отрицательно и прокомментировали, мы постараемся его улучшить — нам важно знать Ваше мнение!Понравилось2Не понравилось
Микроволновые печи | Как они работают?
Микроволновые печи | Как они работают? — Объясните этот материал
Реклама
org/Person»> Криса Вудфорда. Последнее обновление: 22 декабря 2021 г. Как бы любили наши предки
микроволновые печи! Вместо того, чтобы часами сидеть у дымящихся дров, варя буйволиное рагу для своих
Друзья каменного века, они могли просто выбросить все в
микроволновке, нажал несколько кнопок, и еда была готова через минуту или
два.Конечно, у них не было электричества, что могло
какая-то проблема…
Когда в 1970-х годах стали популярны микроволновые печи, они подняли
бытовое удобство на новый уровень. Обычная духовка разогревает пищу
очень медленно снаружи внутрь, но микроволновая печь использует крошечные,
мощные радиоволны для приготовления пищи
более равномерно (грубо говоря, мы иногда говорим, что он пропекается «изнутри наружу» — хотя
это не совсем правильно). Вот почему микроволновая печь может приготовить кусок мяса примерно в шесть раз быстрее, чем обычная духовка.Микроволновые печи также экономят энергию, потому что вы можете готовить сразу, не дожидаясь, пока духовка сначала нагреется до высокой температуры.
Давайте поближе
посмотрите как они работают!
Что готовит?
Микроволновые печи такие быстрые и эффективные, потому что они направляют тепловую энергию
непосредственно к молекулам (мельчайшим частицам) внутри пищи. Микроволны нагревают пищу так же, как солнце нагревает ваше лицо — за счет излучения.
Микроволны очень похожи на электромагнитные волны, которые распространяются по воздуху из
Телевизионные и радиопередатчики.Это невидимый электрический узор вверх и вниз.
и магнетизм, который мчится по воздуху со скоростью света (300 000
км или 186 000 миль в секунду).
Хотя радиоволны действительно могут быть очень длинными
(некоторые измеряют десятки километров или миль между одним гребнем волны и другим),
они также могут быть крошечными: микроволны — это фактически самые короткие радиоволны, а длина микроволн, которые готовят пищу в вашей духовке, составляет всего 12 см (примерно 5 дюймов). (Подробнее об электромагнитных волнах вы можете прочитать в нашей статье
на электромагнитном спектре.
)
Фото: Микроволны для приготовления пищи имеют длину около 12 см (~ 5 дюймов) — длину этой ручки.
Несмотря на свои небольшие размеры, микроволновые печи несут в себе огромное количество
энергия. Одним из недостатков микроволн является то, что они могут повредить живые клетки и
ткань. Вот почему микроволны могут быть вредны для людей и почему микроволновые печи
окружены прочными металлическими ящиками, которые не дают волне уйти.
При нормальной эксплуатации микроволновые печи совершенно безопасны. Несмотря на это,
Микроволны могут быть очень опасны, так что никогда не обманывайтесь.
рядом с микроволновой печью.Микроволны также используются в сотовых телефонах (мобильных телефонах), где они передают ваш голос вперед и назад по воздуху, а также в радарах.
Фото: «Варочная камера» типичной микроволновой печи. Этот прочный металлический ящик предотвращает утечку вредных микроволн. Микроволны генерируются устройством, называемым
магнетрон, который находится за перфорированной металлической сеткой на
с правой стороны (сразу за лампой, которая освещает духовку
внутри).
Если вы посмотрите через сетку, вы сможете увидеть горизонтальное охлаждение.
плавники на магнетроне (которые выглядят как стопка параллельных, горизонтальных
металлические пластины).Обратите также внимание на поворотный стол, который поворачивает еду, чтобы микроволны готовили ее.
это равномерно. Тыльная сторона двери покрыта защитным металлом
марля, чтобы предотвратить выход микроволн.
Как в микроволновке готовят еду?
Как микроволновка превращает электричество в тепло? Так!
- Внутри прочного металлического ящика находится микроволновый генератор, называемый магнетроном. Когда ты начнешь
приготовление пищи, магнетрон берет электроэнергию из розетки и
превращает его в мощный, 12см (4.7 дюймов) радиоволны. - Магнетрон направляет эти волны в отделение для пищевых продуктов через канал, называемый волной.
гид. - Еда лежит на вращающемся подносе, который медленно вращается, чтобы микроволны приготовили ее равномерно.
- Микроволны отражаются назад и вперед от отражающих металлических стенок пищевого отсека,
как свет отражается от зеркала.
Когда микроволны достигают самой еды, они не просто отскакивают от нее. Только что
поскольку радиоволны могут проходить прямо через стены вашего дома, поэтому
микроволны проникают внутрь продуктов.Проходя по ней, они
заставить молекулы внутри него вибрировать быстрее. - Вибрирующие молекулы обладают теплом, поэтому чем быстрее вибрируют молекулы, тем горячее
еда становится. Таким образом, микроволны передают свою энергию на
молекулы в пище, быстро нагревая ее.
Готовят ли микроволны изнутри наружу?
В обычной духовке тепло должно проходить от электрических ТЭНов.
(или газовые горелки), расположенные на дне и по бокам плиты, в еду, которая готовится в основном за счет
проводимость снаружи вовнутрь — от наружных слоев к внутренним.Вот почему пирог, приготовленный в обычной духовке, может подгореть по краям и вообще не пропечься в середине.
Люди иногда говорят, что микроволновые печи готовят пищу «изнутри наружу», что немного глянцево.
и не совсем правильно.
Когда люди говорят это, на самом деле они имеют в виду, что микроволновые печи
одновременно возбуждают молекулы прямо через пищу, так что обычно
готовить быстрее и равномернее, чем в противном случае.
Работа: Микроволны (оранжевые) готовят пищу, в основном заставляя молекулы воды (красные и синие) «вибрировать».
внутри него.
То, как пища готовится в микроволновой печи, во многом зависит от того, из чего она сделана. Микроволны сильнее возбуждают жидкости в продуктах, поэтому что-то вроде фруктового пирога (с более высоким содержанием жидкости в центре) действительно будет готовиться изнутри наружу, потому что внутри самое высокое содержание воды. Вы должны быть очень осторожны, съев яблоко, приготовленное в микроволновке.
пирог, потому что внутри может быть кипяток, а снаружи корочка едва теплая. С другими продуктами, в которых содержание воды распределено более равномерно, вы, вероятно, обнаружите, что они готовятся снаружи внутрь, как в обычной духовке.
Поскольку они работают за счет возбуждения молекул воды, микроволны также имеют тенденцию высушивать пищу больше, чем обычные духовки.
Еще одним важным фактором является размер и форма того, что вы готовите. Микроволны не могут проникнуть глубже, чем на сантиметр или два.
(возможно, на дюйм или около того) в пищу. Подобно пловцам, ныряющим в воду, они теряют энергию с того момента, как они входят в пищу, и после этого первого сантиметра или около того у них не остается достаточно энергии, чтобы проникнуть глубже. Если вы готовите что-то большое (скажем, кусок мяса в большой микроволновой печи), только внешний слой «кожи» будет приготовлен самими волнами; салон будет вариться снаружи внутри методом кондукции.К счастью, большинство блюд, которые люди готовят в маленьких микроволновых печах, имеют диаметр не более пары сантиметров (вспомните мясной или фруктовый пирог, который можно приготовить в микроволновой печи). К сожалению, так как еда внутри и снаружи готовится по-разному и с разной скоростью, легко получить что-то, что приготовлено снаружи и не прожарено внутри.
или пережаренный снаружи и приготовленный прямо в середине. Как и любой другой способ приготовления пищи, микроволновая печь имеет свои недостатки и требует некоторого привыкания.
Вы заметите, что для обедов, которые можно приготовить в микроволновой печи, указывается «время приготовления» в несколько минут, за которым следует «время выдержки».
это часто так же долго (когда вы оставляете приготовленную пищу в покое, прежде чем съесть ее). В этот период питание
эффективно продолжает готовить: более горячие части пищи передают тепло за счет теплопроводности более холодным частям,
мы надеемся, обеспечивая равномерное приготовление пищи повсюду.
То, как микроволновые печи распределяют свои микроволны, также может готовить блюда необычным образом, так как
Зло Безумный
Ученые Лаборатории узнали об этом, когда пытались приготовить индийские закуски в различных микроволновых печах.
Рекламные ссылки
Кто изобрел микроволновую печь?
Как и многие великие изобретения, микроволновые печи появились случайно.
открытие. Еще в 1950-х годах американский инженер-электрик Перси Спенсер (1894–1970) проводил эксперименты с магнетроном в производственной компании Raytheon, где он работал. В то время
Основное применение магнетронов было в радарах: способ использования радиоволн для помощи
самолеты и корабли ориентируются в плохую погоду или в темноте.
Однажды у Перси Спенсера была плитка шоколада.
кармане, когда он включил магнетрон. К его удивлению, бар
быстро расплавился из-за тепла, выделяемого магнетроном. Это дало
ему пришла в голову мысль, что магнетрон можно использовать для приготовления пищи. После
успешно приготовив попкорн, он понял, что может развить
микроволновая печь для приготовления любых блюд. Он получил ряд патентов на
эта идея в начале 1950-х годов, в том числе идея для приготовления кофе в микроволновой печи
пивовар (патент США 2 601 067, выдан 17 июня 1952 г.) и тот, который я проиллюстрировал здесь (патент США 2 495 429 «Метод обработки пищевых продуктов»
24 января 1950 г.
), на котором показана основная работа микроволновой печи.В этом патенте вы можете найти краткое изложение самого Спенсера о том, как работает его изобретение:
«…используя длины волн, попадающие в микроволновую область электромагнитного спектра… Таким образом,
длина волны энергии становится сравнимой со средним размером пищевого продукта, подлежащего приготовлению,
и в результате тепло, выделяемое в пищевых продуктах, становится интенсивным, затрачиваемая энергия становится
минимум, и весь процесс становится эффективным и коммерчески осуществимым».
Раннее оборудование Спенсера было относительно грубым по сравнению с современными микроволновыми печами, которые легко протирать.
1.5 метров (5 футов) в высоту! С тех пор микроволновые печи стали намного компактнее, и их было продано миллионы по всему миру.
Изобретение Спенсера легко списать на «просто» счастливую случайность, но дело было не только в этом: оно требует
правильный вид изобретательского ума, чтобы ухватиться за открытие и сделать что-то из него.
как читатель
Дайджест журнала позже
Как сообщается, Спенсер «продемонстрировал, что ничто не выходит за рамки понимания человека, который хочет знать, что происходит, и чувствует ответственность за то, чтобы что-то предпринять по этому поводу.Об этом свидетельствуют 130 патентов, которые он получил за свою жизнь.
и его изобретательской способности претворять научные идеи в жизнь.
Иллюстрация: один из оригинальных патентных рисунков Перси Спенсера для микроволновой печи.
духовой шкаф. Я раскрасил его здесь, чтобы вы могли видеть его более четко и понять, насколько он похож на микроволновку, которую я купил.
описан выше. Слева (красный) у нас есть входящая электроэнергия. Это заставляет пару магнетронов (синие) генерировать микроволны, которые направляются по линиям передачи (желтые) и волноводу (оранжевые) к приготовлению пищи.
отсек (зеленый).Работа предоставлена Управлением по патентам и товарным знакам США.
Насколько эффективны микроволновые печи?
Вы можете ожидать, что микроволновая печь будет намного эффективнее, чем другие формы приготовления пищи: другими словами,
вы ожидаете, что больше энергии, поступающей от силового кабеля, будет преобразовано в тепло в вашей пище и меньше будет потрачено впустую
другими способами.
В целом правильно: готовить в микроволновке дешевле и быстрее, чем в обычной
духовке, потому что вам не нужно разогревать саму духовку, прежде чем вы сможете готовить.
?
Но это еще не все. Если вы хотите разогреть лишь небольшое количество еды (или чашку горячей воды), микроволновая печь
духовка не обязательно лучшая вещь для использования. Когда вы что-то готовите в микроволновой печи, вы не только наполняете пищу энергией, но и заряжаете ее энергией.
электродвигатель, вращающий относительно тяжелый стеклянный поворотный стол.
Хотя для приготовления пищи в духовке не нужно нагревать отделение для продуктов, микроволновая печь на самом деле достаточно
теплый после того, как он был включен в течение некоторого времени, так что есть некоторые потери тепла.Магнетрон не совсем эффективен при преобразовании
электричество в микроволновки: будет жарко. И вы также должны питать электронную схему, дисплей таймера и, возможно, охлаждающий вентилятор. В совокупности все эти факторы делают микроволновую печь менее эффективной, чем она могла бы быть.
Насколько менее эффективно? Физик Том Мерфи недавно
сравнил энергоэффективность различных способов кипячения воды и обнаружил (возможно, к удивлению), что эффективность составляет всего около 40 процентов, что примерно вдвое меньше.
как при использовании электрического чайника.
Безопасны ли микроволновые печи?
Вы беспокоитесь о том, что стоите слишком близко к своей микроволновой печи, когда она гудит, жужжит и взрывается, что
замороженный блок в дымящийся вкусный ужин? Не надо! Полости для приготовления пищи в микроволновых печах представляют собой герметичные металлические контейнеры: используйте микроволновую печь в обычном режиме, и волны не могут просочиться наружу. Если вы внимательно посмотрите на внутреннюю часть стеклянной двери, то обнаружите, что к задней ее части приклеена металлическая сетка; те отверстия, которые вы видите в нем, слишком малы, чтобы пропускать микроволны.Другая функция безопасности (называемая блокировкой) сохраняет вас в целости и сохранности: если вы попытаетесь открыть дверь, магнетрон немедленно перестанет жужжать; большинство микроволновых печей на самом деле имеют две независимые блокировки на случай, если одна из них выйдет из строя.
Конечно, все же стоит соблюдать меры предосторожности. Вы не хотите, чтобы микроволны вытекали из вашей духовки, поэтому, если дверца не закрывается должным образом (возможно, из-за того, что она заклеена пролитой едой), если сетка на задней части стекла начала ржаветь и отслаиваться, если блокировки не работает, или машина дает вам основания думать, что она может протекать, немедленно отремонтируйте или замените ее.
Фото: Микроволновая печь имеет защитную металлическую решетку на внутренней стороне дверцы. Вы можете заглянуть в духовку, когда дверца закрыта, потому что свет может проникать через отверстия в марле.
Микроволны, однако, намного больше, чем световые волны, поэтому они слишком велики, чтобы пройти через отверстия и оставаться надежно «запертыми» внутри.
Даже если ваша микроволновка «течет», это вряд ли причинит вам вред. Хотя микроволновые печи могут производить внутри очень большую мощность (до 1000 Вт в типичной большой печи), мощность очень быстро падает по мере удаления.
Вне камеры для приготовления пищи и на некотором расстоянии даже негерметичная микроволновая печь будет производить лишь незначительное количество электромагнитного излучения — меньше, чем вы уловили бы от мобильного телефона. По данным Управления по санитарному надзору за качеством пищевых продуктов и медикаментов США, на расстоянии около 5 см (2 дюйма) мощность, которую может утечь микроволновая печь, составляет около 5 милливатт на квадратный сантиметр, что «намного ниже уровня, который, как известно, вредит людям». на расстоянии около 50 см (20 дюймов) это снова примерно на 1 процент. Даже если вы стоите рядом с протекающей микроволновой печью, вам нужно гораздо дольше подвергаться воздействию гораздо более высоких уровней радиации, чтобы возник какой-либо реальный риск для вашего здоровья.Всемирная организация здравоохранения успокаивает по этому поводу: «термические повреждения могут возникнуть только при длительном воздействии очень высоких уровней мощности, намного превышающих те, которые измеряются вокруг микроволновых печей».
Другими словами, просто слишком мало энергии, чтобы нагреть ткани вашего тела настолько, чтобы причинить вред.
И если вы когда-нибудь задавались вопросом, почему вы не можете разогреть свой ужин с помощью мобильного телефона (который, помните, использует волны аналогичного размера), объяснение точно такое же: не хватает мощности. Даже если вы поставите свой мобильный телефон прямо на замороженный обед, он не выделит достаточно энергии для выработки тепла, необходимого для приготовления пищи, независимо от того, как долго вы оставите его там.
Рекламные ссылки
Узнать больше
На этом сайте
Книги
- Что Эйнштейн сказал своему повару , Роберт Вольке, Нортон, 2002 г. Это остроумное и очень легко читаемое введение в кулинарию (в основном химию) включает длинный раздел о различных аспектах приготовления пищи в микроволновой печи («Глава 8: Эти загадочные микроволны»). Он также охватывает науку, стоящую за многими другими темами, связанными с едой.

Артикул
- Факты о микроволновых печах Джона Р.Free, Popular Science, февраль 1973 г. Это может быть старая статья, но это отличное введение в микроволновые печи и то, какими революционными они были, когда только появились.
Здоровье и безопасность
Эти официальные источники должны заверить вас, что микроволновые печи действительно безопасны:
Патенты
Если вы более технически подкованы, возможно, вам стоит прочитать патенты Перси Спенсера. Их довольно много — и вот
три, чтобы начать вас:
- Патент США 2 495 429: Способ обработки пищевых продуктов Перси Спенсером, выдан 24 января 1950 г.Оригинальный патент Спенсера на микроволновую печь, показанный выше.
- Патент США 2,601,067: Приготовление кофе Перси Спенсером, выдан 17 июня 1952 года. Микроволновая печь, которая может варить кофе!
- Патент США 2 408 235: Высокоэффективный магнетрон Перси Спенсера, 24 сентября 1946 г. Типичный резонаторный магнетрон военного времени.

Пожалуйста, НЕ копируйте наши статьи в блоги и другие веб-сайты
Статьи с этого веб-сайта зарегистрированы в Бюро регистрации авторских прав США. Копирование или иное использование зарегистрированных произведений без разрешения, удаление этого или других уведомлений об авторских правах и/или нарушение смежных прав может повлечь за собой серьезные гражданские или уголовные санкции.
Авторские права на текст © Chris Woodford 2006, 2020. Все права защищены. Полное уведомление об авторских правах и условия использования.
Подписывайтесь на нас
Сохранить или поделиться этой страницей
Нажмите CTRL + D, чтобы добавить эту страницу в закладки на будущее или рассказать о ней своим друзьям:
Цитировать эту страницу
Вудфорд, Крис. (2006/2020) Микроволновые печи. Получено с https://www.explainthatstuff.com/microwaveovens.html. [Доступ (вставьте дату здесь)]
Больше информации на нашем веб-сайте.
..
Что такое микроволновая печь и как она работает? Как микроволновки готовят еду?
Что такое микроволновая печь и как она работает?
Что такое микроволновая печь? Теперь микроволновая печь стала необходимостью в каждом доме. Когда дело доходит до кухни, как мы можем забыть микроволновую печь. Хотя многие из нас умеют ею пользоваться, но знаете ли вы, что такое микроволновка? Как это работает и для чего используются эти микроволновые печи и т. д.
Будучи пользователем микроволновой печи, вы должны знать о ее принципе работы, потому что, пока мы не поймем, как работает микроволновая печь, мы не узнаем о фактическом использования микроволновой печи.
Микроволновая печь преобразует электромагнитную энергию низкой частоты в электромагнитную энергию высокой частоты, которая легко поглощается пищевыми продуктами, а затем преобразуется в тепло.
Поскольку многие люди спрашивали меня о том, что такое микроволновая печь и как она работает? поэтому сегодня я подумал, почему бы вам не предоставить полную информацию о том, что такое микроволновая печь, чтобы вы могли иметь некоторое представление об этом и не иметь сомнений.
Итак, не долго думая, приступим и узнаем о микроволновой печи.
Микроволновая печь – очень популярный кухонный прибор, служащий для разогрева и приготовления пищи. Для этого процесса используется микроволновое излучение электромагнитного спектра, которое за очень короткое время нагревает вкусную и питательную пищу.
Кроме того, он сохраняет питательные вещества, присутствующие в пище. Микроволновые печи используются для разогрева предварительно приготовленной пищи, а также различных продуктов.
Кроме того, они также используются для быстрого нагрева продуктов медленного приготовления, таких как горячее масло, жиры и шоколад.
Материалы для микроволновой печи, содержащие воду, они быстро поглощают микроволновую энергию, которая затем преобразуется в тепло. Микроволновая печь готовит пищу в шесть раз быстрее, чем традиционная духовка. Микроволновая печь экономит много энергии за счет быстрого приготовления.
Кто первым запустил микроволновку?
Компания Tappan впервые выпустила микроволновую печь для домашнего использования в 1955 году, а микроволновая печь была впервые представлена корпорацией Amana в 1967 году.
Что такое микроволновая печь?
Микроволны представляют собой форму электромагнитных волн с длиной волны от 1 метра до 1 миллиметра и частотой 300 МГц и 300 ГГц. Микроволновые сигналы всегда распространяются прямолинейно и редко подвергаются влиянию тропосферы. Тогда как в верхних слоях атмосферы они также не преломляются и не отражаются от ионизированных областей.
Использование микроволн
Открытие микроволн — большое благо для нашей цивилизации.Потому что он используется во многих местах по всему миру. Итак, давайте узнаем больше об этих микроволновых приложениях.
Микроволны чаще используются в двухточечных каналах связи, таких как беспроводные сети, микроволновые радиорелейные сети, радарная, спутниковая и космическая связь.
Почему микроволновая печь используется для приготовления пищи?
Эти микроволны представляют собой чрезвычайно высокочастотные радиоволны, и они создаются с использованием различных типов передатчиков.
Они помогают молекулам воды и жира вибрировать, нагревая вещество, поэтому микроволновые печи используются для приготовления многих видов пищи в микроволнах.
Микроволны также используются в мобильных телефонах, изготовленных из небольших антенн. Микроволны также используются в Wi-Fi.
Микроволны также используются в стационарных камерах контроля скорости движения, а также в качестве радаров многих самолетов, кораблей и синоптиков.
Микроволны также используются в космической связи, что означает, что микроволны используются для передачи большей части мировых данных, телевизионных и телефонных сообщений на большие расстояния между наземными станциями и спутниками связи.Микроволны также используются в микроволновых печах и радиолокационной технике.
Как работает микроволновая печь?
Многие люди используют дома микроволновые печи. Очень немногие люди имеют некоторое представление о работе микроволновой печи, поэтому давайте узнаем о работе микроволновой печи:
Принцип работы микроволновой печи основан на микроволновом излучении.
Микроволновая печь изготовлена из алюминиевого металлического ящика, через который не проходит излучение, и в ней используется магнетрон, который является микроволновым генератором.
Когда пользователь включает микроволновую печь для приготовления пищи, магнетрон получает электричество из розетки и преобразует его в мощные радиоволны.
Эта микроволновая печь оснащена волноводом, поворотным столом и таймером. Когда пища попадает в камеру и включается таймер, он посылает команду магнетрону послать микроволны на поворотный стол, который, следовательно, начинает вращаться. Эти микроволны нагревают пищу, содержащую молекулы воды.
Итак, когда духовка включена и эти микроволны касаются этих молекул воды, эти молекулы воды начинают вибрировать с высокой скоростью, выделяя тепло.Поворотный стол вращается внутри духовки, и пища готовится медленно.
Можно ли заменить зеркало в микроволновой печи?
Зеркало для микроволновой печи очень полезно, так как с его помощью пользователь может видеть, как готовится пища внутри микроволновой печи, а также предотвращает выход микроволн наружу.
А если зеркало вашей микроволновой печи разбито, вы можете легко заменить его и использовать новое, но для этого вам может понадобиться правильный специалист.
Использование микроволновой печи
Одной покупки микроволновой печи недостаточно, если вы не знаете о ее использовании.Ниже я постарался рассказать о некоторых применениях, которые вы точно можете использовать:-
1) Разогрев – Где разогреть в традиционной духовке было не так просто, потому что есть проблема пригорания пищи в ней. В такой ситуации вы можете использовать микроволновую печь для разогрева очень удобно. В этом случае вам просто нужно заполнить контейнер с едой в духовке, и через несколько секунд ваша еда будет разогрета.
Микроволновая печь используется для разогрева пищи без намокания пищи и сохранения ее почти в первоначальном виде.Вот почему микроволновые печи все чаще используются в домах и пекарнях для разогрева различной выпечки, тортов и других продуктов питания.
2) Для выпечки — Вы можете использовать микроволновую печь для выпечки тортов и кусочков хлеба. Он очень прост в использовании и очень быстро можно приготовить лепешки вкуснейших сортов. Торты в этом одинаково мягки и хороши для еды.
3) Для разморозки – Микроволновая печь используется для разморозки замороженных овощей и мяса. Там, где раньше приходилось тратить излишнюю промывку, слив и воду.Это также очень эффективно, потому что помогает поддерживать пищу в ее первоначальной форме и питательных веществах.
4) Для жарки — Вы можете быстро поджарить чеснок, кусочки хлеба, попкорн и т. д., используя микроволновую печь. Процесс обжаривания пищи очень распространен во всех домах.
5) Для бланширования – Бланширование в микроволновой печи намного лучше традиционных методов бланширования. Это потому, что питательная ценность фруктов и овощей в нем неплохая, и это также делается в очень короткие сроки.
6) Варка и приготовление на пару – Варка – очень важный способ приготовления пищи. Микроволновая печь равномерно проваривает продукты за несколько минут, в то время как традиционные методы варки тратят много энергии и времени. Кроме того, приготовление на пару овощей вместо этого сохраняет питательные вещества пищи, а потери незначительны.
7) Сохраняет питательную ценность — Питательные вещества очень важны для пищевых продуктов, потому что они обеспечивают нас правильным питанием для роста и развития нашего тела.Многие питательные вещества в пище теряются в традиционных процессах. В то время как в микроволновой печи это помогает сохранить эти витамины и минералы в пище.
Какая трубка используется в микроволновой печи?
Магнетронная трубка используется в микроволновой печи.
В чем разница между микроволновой печью и конвекционной печью?
Волны излучения используются в микроволновой печи для нагревания влаги в пище, что в конечном итоге приводит к ее приготовлению.
В то время как в конвекционной печи для нагрева пищи используется вентилятор, который циркулирует горячий воздух вокруг пищи.
Если вам понравилась эта статья или вы узнали из нее что-то новое, поделитесь этим постом в социальных сетях, таких как Facebook, Twitter и т. д.
Спасибо!
Счастливого обучения!
Хорошего дня!
Введение в применение электродвигателей в микроволновых печах_Новости отрасли_Новости__Jeamo Motor Co., Ltd.
Микроволновые печи являются обычными бытовыми приборами в повседневной жизни, также используются двигатели. Бытовые микроволновые печи — это кухонные приборы, использующие для разогрева пищи электромагнитные волны с частотой 2450 МГц.Принцип работы микроволновой печи заключается в том, что при движении электронов, испускаемых с полюса магнетрона к аноду, постоянный магнит в магнетроне создает аксиальное магнитное поле, так что электроны движутся циклоидально под двойным действие силы электрического поля и силы магнитного поля.
Он колеблется в резонаторе, генерируя микроволны с частотой 2450 МГц, которые вводятся в полость духовки через волновод для нагревания пищи.
Мотор вентилятора
Магнетрон сильно нагревается во время работы, и ему нужен вентилятор для охлаждения и снижения температуры для нормальной работы.Вентилятор состоит из однофазного асинхронного двигателя с расщепленными полюсами и вентилятора. Вентилятор не только охлаждает магнетрон, но и охлаждает трансформатор, а также направляет горячий воздух в полость духовки для нагрева пищи, что улучшает коэффициент использования тепловой энергии, а также отводит пар и дым из полости духовки.
Мотор мешалки
Мешалка предназначена для создания однородного микроволнового поля в камере печи, чтобы продукты нагревались равномерно.
Мешалка изготовлена из пластинчатого сплава с хорошей электропроводностью и высокой прочностью.Он приводится во вращение однофазным асинхронным двигателем с расщепленными полюсами. Угол отражения микроволн постоянно меняется, чтобы улучшить распределение микроволнового поля в полости печи, благодаря чему пища прогревается равномерно.
В некоторых микроволновых печах также имеется небольшой вытяжной вентилятор внутри камеры для вытяжки и перемешивания.
Мотор для поворотного стола
В некоторых микроволновых печах не используется мешалка, но они оснащены поворотным столом на дне камеры. Поворотный стол заставляет еду вращаться, относительно изменяя распределение микроволнового поля, так что сама еда нагревается равномерно.Поворотный стол приводится в движение однофазным синхронным двигателем с постоянными магнитами через редуктор, а общая скорость составляет 5-10 об/мин.
Двигатель для таймера
В большинстве микроволновых печей используются электрические таймеры и однофазные синхронные двигатели с постоянными магнитами с редуктором.
Мотор для контроллера мощности
Контроллер мощности и таймер некоторых микроволновых печей используют однофазный синхронный двигатель с постоянными магнитами. Ручка регулятора мощности приводит в действие распределительный вал и другие механизмы для управления замыканием переключателя регулятора мощности, обеспечивая выбор различных уровней мощности.
Принцип работы микроволнового барьерного реле уровня
Бесконтактное определение предельного уровня сыпучих продуктов
Во многих случаях, когда контактные методы ограничены, подходящим решением являются микроволновые барьеры.
Они не заедают, показывают уровни точек, решают задачи позиционирования и подсчета, обеспечивают бесконтактное измерение и, таким образом, не изнашиваются.
Типичными измеряемыми продуктами являются древесная стружка, бумажная и картонная стружка, известь, галька, песок или даже мешки и полные коробки.
Микроволновый барьерный датчик
определяет верхний и нижний пределы бункера, бункера и т. д. Микроволновая система обеспечивает бесконтактное обнаружение и простоту обслуживания.
Кроме того, монтажные позиции можно легко определить, поскольку обнаружение работает, когда скопление материала блокирует прямую линию между передатчиком и приемником.
Принцип
Микроволны могут проходить сквозь стены, сделанные из изоляторов с низкой диэлектрической проницаемостью, таких как пластик, стекло, кирпич, дерево и керамика.
Микроволновый барьерный выключатель может обнаруживать наличие или отсутствие материалов внутри контейнеров, изготовленных из материалов с низкой диэлектрической проницаемостью, без какого-либо контакта с реальными материалами внутри.
Поглощение микроволн используется для контроля предельных значений в микроволновых барьерах. Микроволновый излучатель и приемник образуют радиационный барьер. Узкий луч проходит через резервуар на контролируемом уровне.
Как только среда попадает в зону излучения, микроволновый сигнал затухает, так что лишь малая часть достигает приемника.Это распознается и используется для запуска сигнала переключения.
Принципиально верно:
Высокая плотность = высокое демпфирование
Низкая плотность = низкое демпфирование
Преимущества
- Регулируемая чувствительность
- Скрытый монтаж, бесконтактное измерение
- Отсутствие износа и технического обслуживания с длительным сроком службы
- Простота установки и ввода в эксплуатацию
Приложения:
Источник статьи : matsushima-m-tech
Физика микроволновых печей
Физика микроволновых печей
Микроволновые печи являются неотъемлемой частью современной кухни благодаря их способности быстро и легко разогревать еду и напитки.
На этой странице объясняется, как они работают, и исследуются некоторые физические концепции, связанные с их работой.
Содержание
Производство микроволн в магнетроне
Рисунок 1: Электроны, испускаемые катодом, совершают криволинейное движение к аноду (Nave 2005).
Для разогрева пищи в микроволновой печи микроволны должны проходить через нее. Микроволны — это электромагнитные волны с частотой около 2,45 ГГц и длиной волны около 12.2 см; в электромагнитном спектре они опережают инфракрасный свет, но после радиоволн (Heckert 2007). В микроволновой печи микроволны производятся устройством, называемым магнетроном. Это устройство имеет форму полой трубки с цилиндрическим катодом, проходящим через центр и внешнюю часть трубки с несколькими полостями, выступающими в качестве анода (Gallawa 2008). Таким образом, в зазоре внутри трубки существует электрическое поле. Эта структура показана на рисунке 1.
Постоянное магнитное поле существует перпендикулярно электрическому полю и параллельно длине трубки.
Электроны в катоде выбрасываются в электрическое поле из-за термоэлектронной эмиссии (высокая температура в катоде вызывает возбуждение и высвобождение электронов) (Nave 2005). Они ускоряются по направлению к аноду снаружи трубки из-за силы, приложенной к ним электрическим полем. Однако на их пути магнитное поле также прикладывало к ним силу, искривляющую их движение. Итоговые пути, по которым могут двигаться некоторые электроны, показаны на рисунке 1.
Рисунок 2: Электроны заставляют избыточный отрицательный заряд выталкиваться обратно в резонатор, создавая микроволновые колебания (Nave 2005).
Из-за криволинейного движения электроны выталкиваются в область, где в аноде имеется избыточный отрицательный заряд (одна сторона полости). Этот избыточный отрицательный заряд выталкивается обратно вокруг полости, создавая колебания электрического и магнитного полей. из-за движущегося заряда (Nave 2005). Частота, на которой возникает этот резонанс, соответствует частоте микроволн; поскольку электрические и магнитные поля излучаются перпендикулярно друг другу и перпендикулярно направлению движения на этой частоте, микроволны эффективно излучаются.
Этот процесс показан на рисунке 2.
Разогрев пищи с помощью микроволн
Рисунок 3: Движение микроволн внутри микроволновой печи (Riaz 2007).
Микроволны, создаваемые магнетроном, направляются на вращающийся пропеллер из металла. Одним из свойств микроволн является то, что они отражаются от металла, поэтому они отражаются от «вентилятора мешалки» и попадают в камеру духовки. Камера печи облицована металлом, так что микроволны продолжают отражаться в камере, пока не будут поглощены (Heckert 2007).На рис. 3 показано основное движение микроволн внутри микроволновой печи.
Микроволны поглощаются некоторыми химическими веществами в пищевых продуктах, наиболее оптимальным из которых является вода. Это связано с тем, что молекулы воды полярны, а это означает, что распределение заряда внутри молекулы несимметрично; одна сторона молекулы слегка положительна, а другая слегка отрицательна. Таким образом, в присутствии составляющей электрического поля микроволны к обоим диполям молекулы будет приложена сила, которая заставит ее вращаться (Heckert 2007).
На рисунке 4 показаны две молекулы воды в положениях, где сила на их диполях, обусловленная электрическим полем волны, минимальна.
Рисунок 4: Вращение молекул воды под действием составляющей электрического поля в электромагнитной волне. (Черные стрелки обозначают электрическое поле.)
Поскольку электрическое поле постоянно колеблется, молекулы воды постоянно вращаются. Частота микроволн (2,45 ГГц) является оптимальной, поскольку время, необходимое электрическому полю для колебаний, согласуется со временем, которое требуется молекуле воды, чтобы повернуться на 180° (Heckert 2007).Таким образом, молекулы воды вращаются максимально быстро.
При вращении молекулы воды сталкиваются с другими молекулами, окружающими их, и передают часть своей кинетической энергии. Согласно кинетической теории частиц, если частицы в пище имеют большую кинетическую энергию, то пища будет более горячей.
Посмотрите это в действии! (Интерактивный Java-апплет от PhET.)
Ограничения и последствия использования микроволнового нагрева
Конструктивное и деструктивное вмешательство
Конструктивная и деструктивная интерференция микроволн может привести к неравномерному нагреву пищи.
В каждой точке камеры печи есть несколько микроволн, мешающих друг другу, а это означает, что результирующее электрическое поле в этой точке является суммой их соответствующих электрических полей. Если интерференция носит конструктивный характер, результирующее электрическое поле в этой точке будет больше, и, таким образом, частицы в пище получат больше кинетической энергии, и пища будет более горячей. Если интерференция является деструктивной, результирующего электрического поля может не быть, поэтому в этот момент пища останется холодной (Heckert 2007).Поскольку микроволны отражаются от металлических внутренних стенок камеры духовки, они могут какое-то время отражаться, прежде чем поглотятся, что увеличивает вероятность возникновения конструктивных и деструктивных помех (Heckert 2007).
Поскольку длина волны микроволн составляет около 12,2 см, расстояние между этими двумя крайними значениями обычно составляет всего несколько сантиметров, что может создавать проблемы при разогреве пищи (Heckert 2007).
Вращающиеся поворотные столы включены в большинство микроволновых печей и перемещают пищу, пытаясь распространить эффект нагрева «горячих точек» на всю пищу; эффект конструктивного и деструктивного вмешательства не локализован в определенных точках пищи (Heckert 2007).
Вращение молекул
Принцип нагревания пищи в микроволновой печи основан на способности молекулы вращаться. Это накладывает определенные ограничения на виды продуктов, которые можно разогревать. Например, лед — твердое тело, поэтому его молекулы не могут вращаться так легко, как в жидкой воде. Таким образом, лед не так эффективно нагревается микроволнами и должен нагреваться посредством обычной теплопроводности (Heckert 2007). В результате замороженные продукты нагреваются неравномерно и менее эффективно.Предметы, содержащие минимальное количество воды, также будут нагреваться дольше, поскольку будет меньше вращающихся молекул воды и, следовательно, меньше кинетической энергии будет передаваться пище. Хотя это может быть выгодно для таких вещей, как пластик и стекло (чтобы их можно было использовать в качестве контейнеров), микроволновый нагрев более сухих продуктов не так эффективен.
Воздействие на металлы
Распространено мнение, что нагревание любого металла внутри микроволновой печи может быть опасным («Сегодняшние микроволны могут работать с металлическими предметами», 2007 г.).Микроволны имеют тенденцию отражаться от металлов, что полезно для предотвращения выхода микроволн из камеры печи. Однако, если в качестве контейнера для разогреваемой пищи используется металл, микроволны будут отражаться, а не поглощаться пищей; еда остается холодной. Это может быть проблематично, поскольку, когда микроволны не поглощаются, они накапливаются и могут в конечном итоге отражаться обратно в магнетрон, что потенциально может повредить его (Chemistryquestion.com 2003). Однако современные магнетроны сконструированы так, чтобы обрабатывать большое количество микроволн, поэтому обычно это микроволновое отражение относительно безвредно («Сегодняшние микроволны могут обрабатывать металлические объекты», 2007).
Кроме того, поскольку микроволны состоят из электрического поля, мобилизованные электроны на поверхности металла движутся в соответствии с колебаниями электрического поля.
В толстом металлическом предмете тепло, создаваемое этим трением, может рассеиваться, но тонкий предмет очень быстро нагревается (Chemistryquestion.com 2003). Металлические предметы с острыми концами (такие как вилки) могут накапливать сильный электрический заряд на концах, вызывая ионизацию частиц воздуха и, таким образом, позволяя избыточному заряду перескакивать на ближайший проводник, вызывая искрение (Heckert 2007).Однако это явление также в основном безвредно для пищи и микроволновой печи («Сегодняшние микроволновые печи могут обрабатывать металлические предметы», 2007 г.).
Каталожные номера
Gallawa, J 2008, Магнетронная трубка, используемая в микроволновых печах, просмотрено 31 августа 2010 г.,
Heckert, P 2007, Как работают микроволновые печи?, Suite101, просмотрено 31 августа 2010 г.,
Heckert, P 2007, Микроволновые печи нагревают пищу неравномерно, Suite101, просмотрено 31 августа 2010 г.
,
Heckert, P 2007, Почему в микроволновых печах нет металла?, Suite101, просмотрено 7 августа 2010 г.,
Маккалоу, Дж., Принцип суперпозиции и интерференция, просмотрено 7 августа 2010 г.,
Nave, R 2005, The Magnetron, просмотрено 31 августа 2010 г.,
Riaz, R 2007, How Products Made: Microwave Oven, Advameg, просмотрено 7 августа 2010 г.,
Томлет, Дж. 2000, «Микроволновая печь; Анатомия Как это работает», Sydney Morning Herald, 02 марта, с. 38, просмотрено 7 августа 2010 г., eLibrary.
«Сегодняшние микроволновые печи могут работать с металлическими предметами», 2007 г.
, Wisconsin State Journal, 05 апреля, с.B1, просмотрено 7 августа 2010 г., eLibrary.
Почему нельзя нагревать металл в микроволновке? 2003, Chemistryquestion.com, просмотрено 7 августа 2010 г.,
[1910.05217] Принцип работы и демонстратор микроволнового мультиплексирования для микрокалориметров эксперимента HOLMES
[Отправлено 11 октября 2019 г.]
Авторы: Д.Т. Беккер, Д.А. Беннетт, М. Биасотти, М. Боргези, В. Чериале, М. Де Жерон, М. Фаверзани, Э. Ферри, Дж.В. Фаулер, Г. Галлуччи, Дж. Д. Гард, А. Джакеро, Дж. П. Хейс-Веле, Г. К. Hilton, J.A.B Mates, A. Nucciotti, A. Orlando, G. Pessina, A. Puiu, C.D. Реинцема, Д.Р. Шмидт, Д.С. Шветц, Дж.Н. Уллом, Л. Р. Вейл
Скачать PDF
Аннотация: Определение массы нейтрино является открытым вопросом в современной теории частиц.
физики и астрофизики. Прямое измерение массы является единственным
не связанный с теорией экспериментальный инструмент, способный исследовать такую величину.2$. Чтобы получить большую необходимую статистику,
сохраняя вклад наложения как можно меньше, 1024 переходных фронта
будут использоваться датчики (ТЭС) с высоким энергетическим и временным разрешением.
Микрокалориметрические и болометрические решетки на основе датчика переходной кромки с
тысячи пикселей разрабатываются для нескольких космических и
наземные приложения, включая астрофизику, ядерную физику и
физика и материаловедение. Общей необходимой задачей является разработка
практические методы мультиплексирования для упрощения криогеники и
системы считывания.Несмотря на различные варианты мультиплексирования, которые
были успешными, необходимы новые подходы, позволяющие масштабировать
большее количество пикселей и более быстрые датчики, как это требуется для HOLMES, что также снижает
стоимость и сложность считывания. Очень новая техника, отвечающая всем
эти требования основаны на сверхпроводящих микроволновых резонаторах, связанных с
радиочастотные сверхпроводящие квантовые интерференционные устройства, в которых
изменение входного тока ТЭС преобразуется в изменение фазы
микроволновый сигнал.В этой работе мы знакомим с основами этой техники,
проектирование и разработка первой двухканальной системы считывания и ее
выступления с первыми детекторами TES, специально разработанными для HOLMES. В
в последней части мы объясняем, как расширить этот подход масштабирования до 1024 пикселей.
История отправки
От: Andrea Giachero Dr [просмотреть адрес электронной почты]
[v1]
Пт, 11 октября 2019 г. 14:37:02 UTC (3,929 КБ)
Как работает микроволновая печь? | Объяснение работы микроволновой печи
Это самое простое объяснение того, как работает микроволновая печь.Мы постарались сделать сложные вещи более понятными для вас. Но все же, вот пара ответов на вопросы, которые продолжают крутиться в голове у читателя.
1. Разрушают ли микроволны питательные вещества в пище?
Современная микроволновая печь очень эффективна, поскольку не только быстрее готовит пищу, но и сохраняет ее питательную часть.
Это потому, что им не требуется много тепла или воды для приготовления.
Принимая во внимание, что традиционное приготовление требует много воды и больше тепла, что может снизить питательную ценность пищи.По сравнению с традиционными методами приготовление пищи в микроволновой печи считается очень безопасным и не портит питательные вещества пищи.
Тем не менее, существуют некоторые правила и нормы обращения с микроволновой печью, которые необходимо соблюдать при ее использовании. Вы не можете использовать ту же сталь или любую другую встроенную посуду внутри микроволновой печи. Вот правильное научное объяснение этого утверждения.
2. Почему нельзя использовать стальную посуду в микроволновой печи?
Микроволны высокой частоты не проходят через стальную посуду.Это означает, что металл также подвергается воздействию той же частоты и сильно нагревается. Можно обжечь пальцы, если дотронуться до него голыми руками и вынуть из духовки.
Кроме того, поскольку микроволны не проходят через него, пища внутри контейнера не нагревается за счет частоты.
Вот почему вы не можете использовать одну и ту же традиционную посуду при работе с микроволновой печью.
3. Какие безопасные контейнеры можно использовать в микроволновой печи?
У каждой проблемы есть решение, и угадайте, почему для микроволновки созданы особые контейнеры.Большинство брендов предоставляют необходимые компоненты для микроволновых печей, такие как микроволновые сейфы и контейнеры, входящие в их стартовый комплект.
Эти микроволновые сейфы в основном изготавливаются из стекла, пластика или керамики. Генерируемые микроволны могут легко проходить через эти материалы и абсолютно безопасны для использования. Но вот еще одна вещь, которую вы должны иметь в виду.
4. Почему нельзя использовать пластиковые контейнеры в микроволновой печи?
Микроволны на самом деле не нагревают эти контейнеры, так как волны легко проходят сквозь них.Но тем не менее, по мере того, как пища внутри готовится и нагревается, она также может повышать температуру контейнера.
Относится к самым бюджетным моделям и предназначена только для размораживания и подогрева пищи. Как правило, такие СВЧ-печи имеют механическое управление и довольно надежны, поскольку ломаться особо нечему.
Прочное, надежное, прекрасно выглядящее покрытие с легкостью выдерживает длительные и интенсивные нагревания. К недостаткам нержавейки следует отнести сложности в отмывании — несколько чисток абразивными средствами создают на ее поверхности сеточку микроцарапин, в которые пригоревший жир «вцепляется» всеми своими молекулами.
Из основных режимов можно выделить следующие: полный режим — жарка мяса, запекание овощей. Средне-высокий, 3/4 мощности — быстрое разогревание нетребовательных продуктов. Средний — варка супов, приготовление рыбы. Средне-низкий, 1/4 мощности — разморозка продуктов, «мягкий» разогрев продуктов. Самый малый, около 10% мощности, предназначен для размораживания «капризных» продуктов вроде томатов, и поддержания в теплом виде уже горячих продуктов.
Опять же, фарфоровая или не должна иметь механических повреждений.
После всех этих действий печь должна заработать.
Это модели обладающие только функцией СВЧ, без дополнительных программ — предназначены только для разогрева и разморозки продукта.
Достоинства такого типа управления – простота и низкая стоимость. Недостаток – нельзя точно выставить время приготовления. В моделях с механическим типом управления легко перегреть блюдо.


В этой работе мы знакомим с основами этой техники,