Принцип работы кофемашины капсульной: Что нужно учитывать при выборе капсульной кофемашины
Что нужно учитывать при выборе капсульной кофемашины
Для кофеманов, которые не хотят заваривать бодрящий напиток из зерен или молотого кофе, подойдет капсульная кофеварка. Она функционирует по тому же принципу, что и остальные виды данного прибора, только использовать нужно специальную капсулу с кофейным порошком. Принцип работы капсульной кофемашины в том, что горячая вода проходит через фольгу, предварительно проколотый иглой. Далее жидкость постепенно наполняет капсулу и забирает из кофе аромат, цвет и вкусовые качества, в результате чего получается бодрящий напиток.
Критерии выбора
У моделей такого типа есть ряд преимуществ, среди которых компактные размеры, низкий шум работы, легкость управления. Но при покупке капсульной кофемашины нужно обратить внимание на несколько моментов:
- Желательно выбирать модели от проверенных и популярных производителей (Capitani, Cino, Bosch, Nespresso, Lavazza).
- Прибор должен иметь такие функции, как регулировки температуры, крепости кофе и размера его порции.

- Первое включение не должно занимать много времени.
- Лучше покупать модель, у которой на нагрев воды требуется не более 30 сек.
- Аппараты премиум-класса имеют функцию запоминания рецепта. Это особенно необходимо для семьи, в которой каждый предпочитает разные виды кофе.
Тип капсул
В большинстве моделей для приготовления кофе используется только 1 вид капсул. Хотя в продаже имеются универсальные приборы.
Для кофемашины применяют следующие варианты капсул:
- Nespresso;
- Dolce Gusto;
- Tassimo;
- Lavazza BLUE;
- LEP.
Также есть еще 2 варианта капсул:
- Одноразовые. Пользуются широким спросом, так как большинство кофемашин рассчитаны на одноразовые капсулы.
- Многоразовые. Это пластиковые капсулы, которые придется самостоятельно очищать, ремонтировать и заполнять. Так как они не закрываются плотно, то качество напитка будет ниже, чем при использовании одноразовых капсул.

Технические характеристики и опции
Покупая капсульную кофемашину в интернет-магазине, стоит обратить внимание на следующие критерии:
- Мощность. Именно от этого параметра зависит скорость приготовления кофе. Чем выше мощность, тем меньше времени потребуется на приготовление бодрящего напитка. В зависимости от выбранной модели мощность может составить 950-1700 Вт.
- Давление подачи воды в капсулу. От него зависит насыщенность вкуса напитка. Большинство моделей рассчитано на 15-19 бар, но есть приборы (например, Bosch), которым достаточно 3,3 бар.
- Объем кофемашины. Благодаря ему можно определить количество сваренного кофе без долива воды. Объем может быть в пределах от 600 мл до 2 л.
Если вы любите латте или капучино, то кофемашина должна быть оснащена капучинатором. В зависимости от выбранной модели получить молочную пенку можно 2 способами: автоматически и вручную. В первом варианте молоко заливают в специальный отсек, а по гибкой трубке оно попадает в кофемашину.
При выборе ручного способа необходимо налить молоко в питчер и направить в нее паровую трубу. Далее придется потренироваться, прежде чем получится взбивать ее содержимое в пышную пену. Только потом получившуюся консистенцию можно перелить в чашку с кофе.
инструкция по применению и отзывы
Вот уже несколько лет подряд капсульные кофемашины Бош Тассимо занимают лидирующие позиции на рынке. И это несмотря на то, что компания начала выпускать кофемашины капсульного типа сравнительно недавно – только в 2011году. Стоит отметить, что принцип работы кофемашин от Бош существенно отличается от аналогов компаний-конкурентов.
Кофемашина Bosch Tassimo
Как работает капсульная кофемашина Bosch Tassimo Vivy
Для приготовления ароматного напитка в агрегатах от Бош используются специальные герметичные капсулы, на поверхность которых нанесено несколько штрих-кодов. Один из этих кодов несет исключительно служебную информацию – кофемашины автоматически определяет, какой именно напиток ей предстоит приготовить, а именно, до какой температуры надо подогреть воду в специальном резервуаре, а также, сколько воды потребуется на одну порцию.
Отзывы пользователей кофемашиной от Бош утверждают, что после завершения автоматического приготовления напитка агрегат переходит в ручной режим управления, что позволяет добавить в чашку с напитком дополнительное количество воды тем самым регулируя крепость и насыщенность вкуса свежезаваренного кофе.
Интересно, что капсульная кофемашина Bosch Tassimo 2002, как и остальные модели кофемашин от этого производителя, работают с максимальным давлением в 3.3Бар. Большинство кофелюбителей считают, что такого низкого давления недостаточно для того, чтобы заварить действительно вкусный кофе. Однако это не так. Капсульные кофемашины Bosch Tassimo 2002, 2001, 1201, 1253 и другие, заваривают напиток, используя специальные Т-образные капсулы, в которых находиться не спрессованный кофе.
Капсульная кофемашина Bosch Tassimo 1201 – особенности модели
Капсульная кофемашина Bosch tas 1201 Tassimo — это новая компактная модель, которая дает возможность пользователю приготовить бодрящий напиток (чай или кофе разных видов) за считанные минуты.
Как и остальные кофемашины от этого производителя (2001, 1253, 2002), Бош Тассимо 1201 готовит напитки в полностью автоматическом режиме при использовании специальных Т-образных герметичных капсул. Проанализировав отзывы потребителей можно выделить целый ряд неоспоримых преимуществ, которыми обладают эти капсульные кофемашины:
- Прежде всего, потребители выделяют компактный размер агрегата Bosch Tassimo Vivy, который позволяет поместить оборудование даже на самой маленькой кухне.
- Капсульные кофемашины Бош Тассимо могут готовить самые разнообразные напитки – чай, кофе, капучино и многие другие. Все зависит от типа капсул, которые вставляются в агрегат.
- Инструкция к Tas1253 Red (еще одной популярной модели кофемашин от Бош) позволяет варьировать размер порции напитка на усмотрение пользователя. После окончания приготовления кофе или чая благодаря удобному ручному режиму пользователь может добавить в чашку с напитком столько воды, сколько посчитает нужным.
Несмотря на такие неоспоримые преимущества, капсульные кофемашины Bosch Tassimo Vivy обладают и не менее существенными недостатками.
Практически все отзывы пользователей указывают на то, что инструкция, которая входит в комплект прибора, состоит исключительно из картинок, в которых не очень легко разобраться. Также к недостаткам модели многие пользователи относят и небольшой контейнер для воды (всего 0.7л). Однако этого количества воды вполне достаточно для одновременного приготовления трех больших порций напитка.
Самые популярные модели капсульных кофемашин Bosch Tassimo
Одной из самых популярных капсульных кофемашин от Bosch Tassimo является модель TAS 4011. Признание потребителей этот агрегат обрел благодаря вместительному баку для воды емкостью в 2л, удобному управлению и доступной стоимостью. А еще цвет корпуса этой модели (серебристо-черный) идеально вписывается практически в каждое интерьерное решение кухни.
Капсульная кофемашина Bosch Tassimo 2001 пользуется особой популярностью благодаря вместительному резервуару для воды (1.5л). Инструкция к этой кофемашине предполагает возможность регулировки объема напитка, а также контроль крепости кофе.
А еще неоспоримым преимуществом этой модели является автоматическое отключение агрегата сразу после открытия механизма заваривания.
Самая компактная модель, которой представлены капсульные кофемашины Bosch Tassimo (1253) пользуется особой популярностью у потребителей. Особенно у тех, кто ценит гармоничный вкус и аромат свежезаваренного кофе, который готовиться в считанные секунды. Ведь у этого агрегата рекордно короткое время приготовления напитков самых разных видов из всех моделей, которыми представлены капсульные кофемашины Bosch Tassimo и агрегаты от других производителей.
Устройство и принцип работы кофемашин разных видов
Многие любители кофе по достоинству оценили возможность приготовления любимого напитка в кофемашинах. Это действительно быстро, удобно и просто. Для тех, кому интересно, как кофейный автомат может приготовить чашечку кофе всего за 1-2 минуты, ниже расскажем, как устроены и работают приборы различных видов.
Общий принцип работы
Чтобы приготовить кофе вручную, для начала нужно обжарить и помолоть зерна.
При использовании кофемашины все эти шаги можно пропустить. Чтобы понять, как устроена кофемашина, рассмотрим пошагово, как она делает кофе.
- Для приготовления кофейного напитка нужна горячая вода, но ни в коем случае не кипящая. Машина сама нагревает воду до оптимальной температуры 80-90 0С.
- Кофе для напитка используется молотый или в специальных герметичных капсулах (уже обжаренный и помолотый). За счет своей герметичности капсулы сохраняют его вкус и аромат на протяжении долгого времени.
- Внутри машины два этих ингредиента совмещаются и превращаются на выходе в бодрящий ароматный напиток.
В случае, когда нужно приготовить капучино или латте, потребуется добавление еще одного ингредиента – молока, чтобы украсить напиток «шапкой» из густой пены.
Устройство
Общие схемы всех кофейных устройств идентичны и состоят примерно из такого набора составляющих:
- Нагревательный элемент.
- Резервуар с крышкой.
- Предохранительный клапан, для контроля давления в приборе.
- Фильтр, на который поступает пар.
- Колба для приготовленного кофе.
Схема устройства кофемашины
В зависимости от производителя этот набор может меняться. Например, фирмой DeLonghi изготавливаются кофемашины, имеющие два нагнетательных насоса, с помощью которых можно одновременно готовить и капуччино, и эспрессо. К тому же, если рассматривать электрическую схему действия кофемашин фирмы DeLonghi, то можно заметить что в них не всегда присутствуют нагревательные элементы. Иногда (в более простых моделях), чтобы сделать кофе, используют пар, образующийся от кипячения воды.
Виды кофемашин и принцип их действия
Для приготовления кофейных напитков в домашних условиях можно выбрать один из следующих видов кофеварок:
- капельные;
- гейзерные;
- капсульные;
- рожковые;
- автоматические.

Рассмотрим подробнее устройство и принцип работы каждого типа.
Капельная кофеварка
Устройство самое простое в конструктивном плане: в таких приборах кофе варится без давления пара или кипятка. Позволяет варить крепкий кофе «американо». Внутри корпуса машины находится ТЭН, резервуар для воды и фильтровальный отсек для засыпки молотого кофе. Снизу устанавливается емкость с ручкой и мерной шкалой (кофейник). Принцип работы аппарата состоит в капельном проходе нагретой воды через фильтр. В результате просочившаяся через фильтр вода, насытившись вкусом, ароматом и цветом, стекает в стеклянный или пластиковый кофейник.
В зависимости от мощности кофеварки различается время приготовление напитка.
В среднем, в капельной кофеварке кофе готовится около 5 минут.
Уход состоит в периодическом очищении/замене фильтра. В моделях могут использоваться одноразовые или многоразовые фильтры. Выбирая для дома такое устройство, стоит обращать внимание на следующие моменты.
- Мощность – для получения слабого кофе нужно выбирать прибор с большей мощностью, а для крепкого кофейного напитка стоит покупать устройство с небольшой мощностью.
- Материал колбы (стекло или пластик). Стекло не впитывает запахи, а пластик более долговечен.
- Размеры колбы, которые зависят от необходимого количества заваренного кофе.
- Фильтры, которые бывают трех видов: одноразовые; золотые – для долгого использования; нейлоновые фильтры, которыми можно пользоваться до 60 раз заваривания.
Гейзерная кофеварка
Эти приборы бывают как электрические, так и не электрические, которые можно ставить прямо на варочную поверхность или просто на открытый огонь.
В отличие от предыдущей кофемашины, здесь принцип действия прямо противоположный. Вода в этих приборах подается снизу вверх, идентично гейзеру и заливает кофе. После этого она, насыщенная кофе, выливается в специальную колбу.
Объем гейзерных кофеварок невелик. По виду они похожи на фарфоровые кофейники. Что замечательно, кофе из прибора «не убегает» как из джезвы, но присматривать за ним, конечно нужно.
Состоит гейзерная кофеварка из двух емкостей, соединенных между собой наподобие песочных часов. В центральном районе, в узком канале располагается отсек для кофе. Когда вода в нижнем отсеке закипает, она поднимается, и по узкому проходу пробирается вверх, заваривая по пути кофе. В верхней емкости находится уже практически готовый напиток.
Капсульная кофемашина
Устройство готовит напиток из молотого кофе, заключенного в специальную пищевую оболочку, так называемой капсулы. В конструкции аппарата предусмотрены резервуар для воды, помпа, подающая воду в бойлер с капсулой кофе, нагревательный элемент и контейнер, в который отбрасываются использованные капсулы.
Работает кофеварка следующим образом:
- помпа под давлением всасывает воду из бака в бойлер;
- в варочном отсеке проходит нагрев воды до температуры 85-90°С;
- горячая жидкость проникает через нижнее и верхнее отверстия в капсулу, насыщается ароматом кофе, приобретает темный оттенок;
- капсульная система обеспечивает заправку капсул в бойлер и выброс отработанного жмыха в контейнер.
Посредством блока управления, расположенного на корпусе аппарата, настраиваются функции дозирования порций напитка для больших и маленьких чашек. Уход за такой кофеваркой заключается в периодическом очищении контейнера с отработанными капсулами.
Рожковая кофеварка
Аппарат рожкового типа оборудован съемным холдером (рожком), куда засыпается молотый кофе. Рожковые модели кофемашин оснащаются индикаторами и кнопками управления процессом приготовления кофе. Также многие модели оснащаются насадкой — капучинатором для взбивания молочной пенки при приготовлении капучино.
От пользователя требуется некоторая сноровка для утрамбовки засыпанного в холдер порошка кофе в таблетку при помощи темпера. Кофеварка легко справляется с приготовлением кофе эспрессо. Суть работы рожкового аппарата состоит в следующем.
- Под давлением горячая вода (пар) по трубке подается в холдер.
- Проходя через кофейный брикет и фильтр, жидкость вбирает в себя экстракты кофе.
- Готовый напиток направляется в подставленную под кран чашку.
Крепость напитка зависит от степени помола и утрамбовки порошка. Чем мельче помол и больше утрамбован кофе, тем крепче получается напиток. Показателем качества сваренного кофе является густая, устойчивая, насыщенная пузырьками газа пена. Чем гуще пенка, тем медленнее остывает напиток.
На качество сваренного кофе влияет материал, из которого изготовлен холдер. В рожке из металла напиток получается густым, с пышной и насыщенной пенкой. В пластиковом холдере консистенция напитка получается водянистая, пенка светлая, а вкус кисловатый, вне зависимости от используемого сорта кофе.
Происходит так потому, что сырье в пластмассовом холдере прогревается слабее, чем в металлическом аналоге.
Рожковые кофеварки бывают двух видов, в зависимости от давления в них.
- До 4 бар, в которых кофе варится медленно и получается крепким и насыщенным.
- До 15 бар, в которых кофе готовится быстро и получается мягким и нежным.
Уход за устройством заключается в высвобождении рожка. Использованный кофейный брикет выбрасывается, а холдер обязательно промывается в проточной воде. В противном случае при варке следующей порции напитка оставшиеся частицы старого кофе могут существенно испортить вкус.
Автоматические кофемашины
Процесс приготовления кофе в автоматизированном аппарате не требует участия человека. Пользователь должен выполнить лишь одно нажатие кнопки, чтобы инициировать цикл приготовления напитка по выбранной программе. Автоматика самостоятельно управляет всеми этапами приготовления: от помола до подачи порции напитка в чашку.
Автомат способен выполнять более 10 функций, включая помол зерна, отброс гущи в специальный контейнер, взбивание молочной пенки, настройка объема порции, крепости напитка и другие. Машины комплектуются емкостью для зерна, встроенной кофемолкой, капучинатором, контейнером для сбора кофейного жмыха, отсеком утрамбовки молотого сырья в таблетку, раздаточным резервуаром. Внутри корпуса предусмотрены емкость для воды, помпа, теплообменная система, бойлер, трубки для подачи воды и пара.
Некоторые бытовые автоматы оснащаются удобным дисплеем, отражающим поэтапно процесс варки напитка. Отдельные производители дополняют приборы удобными функциями подогрева посуды, автоматического удаления накипи и другими.
При включении аппарата система проверят готовность всех технологических узлов к работе. Сигналом успешного завершения системного опроса является зеленый свет индикатора. Пользователю достаточно выбрать программу приготовления кофе: эспрессо, американо латте, капучино, и автомат запустит нужную технологическую цепочку.
Приготовленный напиток подается в чашку или стакан, после чего автомат остановится и будет ожидать новой команды.
Комбинированные кофемашины стоят недешево, зато процесс приготовления напитков в них полностью автоматизирован.
Рейтинг лучших брендов капсульных кофемашин на XCOFFEE.RU
Рассмотрим вопрос: «Капсульные кофеварки и что это такое?» Данное устройство создано для любителей кофе, которые не хотят тратить много времени на обслуживание аппарата и на приготовление напитка. При этом машина позволяет готовить разные виды: латте, капучино, эспрессо, макиато, есть капсулы без кофеина. Делонги и Крупс входят в рейтинг капсульных кофемашин как одни из лучших брендов. Они заслужили высокие позиции благодаря широкому модельному ряду и наличию дополнительных функций, облегчающих приготовление.
Главные особенности капсульной кофемашины:
- использование капсул с прессованным натуральным кофе;
- простота эксплуатации;
- возможность после первой чашки сразу приготовить вторую, с другим сортом кофе;
- быстрое приготовление напитка;
- ограничение разновидностей кофе выпускаемыми производителем капсулами.
Принцип работы кофемашин капсульного типа Делонги и Крупс заключается в пропускании горячей воды через капсулу под большим давлением, значение которого аналогично профессиональным аппаратам. Насыщенность напитка зависит от настраиваемой дозировки воды: можно получить крепкий или мягкий вкусовой оттенок. Равномерное распределение воды подчеркивает аромат и вкус продукта. В капсуле для бренда Крупс содержится натуральный кофе средней обжарки, данный производитель предлагает ограниченный набор вкусов. Более обширная линейка капсул у фирмы Делонге: они выпускают варианты без кофеина.
Как пользоваться капсульной кофемашиной?
Одно из главных преимуществ данных устройств – простое приготовление напитка.
Для этого достаточно установить капсулу в машину, подставить кружку и нажать на кнопку. Расход кофе в капсулах меньше, чем, если использовать другие способы приготовления: в кофеварке или турке (в пересчете на зерновой или молотый кофе).
Какую капсульную кофемашину выбрать?
Выбор капсульной кофемашины стоит производить исходя из ее параметров. Виды капсульных кофемашин отличаются:
- по наличию/отсутствию капучинатора;
- по давлению: лучшие капсульные кофемашины демонстрируют показатели от 15 бар;
- по мощности: чем больше мощность, тем выше скорость приготовления;
- по дополнительным функциям: автоочистка, подогрев чаши, энергосбережение, цветной дисплей;
- по наличию встроенного фильтра;
- по объему резервуара;
- по материалу корпуса: металл надежнее и долговечнее.
Обзор капсульных кофемашин
Какая капсульная кофемашина лучше: DELONGHI или KRUPS Каждый бренд имеет свои плюсы и минусы, выбор зависит от потребностей покупателя.
Кофемашины от DELONGHI имеют много разнообразных вкусов и дополнительных функций, которые облегчают эксплуатацию оборудования, они больше подходят для гурманов. Бренды KRUPS предлагают базовые функции, но более компактные размеры. Это вариант для неприхотливых покупателей. Аппараты от DELONGHI и KRUPS имеют стильный дизайн и гармонично вписываются в интерьер кухни на даче, дома и в офисе.
453419 from Video by product on Vimeo.
Как работает кофемашина Nespresso? (Вы будете удивлены!)
Nespresso заняла свою нишу в мире эспрессо, создав линейку кофемашин, которые готовят вкусный, насыщенный кофе без высоких цен и сложности традиционных эспрессо-машин. Кофе Nespresso не всегда является настоящим эспрессо, который имеет строгое определение, связанное с давлением, но он довольно близок по вкусу и ощущениям во рту.
Как ни назови, кофе Nespresso качественный, и многие пользуются их машинками из-за их простоты.
Даже самые заядлые поклонники Nespresso могут не осознавать, что кофемашины Nespresso коренным образом отличаются от других кофемашин. Большинство кофемашин используют одни и те же принципы работы с небольшими различиями между брендами, но Nespresso переворачивает игру с ног на голову и использует уникальный процесс для приготовления мягкого, ароматного кофе, который так любят поклонники бренда. Так как же работает Nespresso?
За кулисами: как работает Nespresso?
Все кофемашины требуют двух основных ингредиентов: кофе и воды.Экстракция – это процесс извлечения аромата из молотого кофе. Когда горячая вода контактирует с молотым кофе, химические соединения и масла, придающие кофе его аромат, растворяются и перемещаются вместе с водой, пока не окажутся в вашей чашке, где вы сможете насладиться ими.
Существует множество способов добычи. Существует иммерсионное заваривание, при котором кофейная гуща замачивается в воде, как во френч-прессе.
Существует перколяционное заваривание, когда вода проходит через молотый кофе, как при пуровере.Наконец, есть эспрессо, в котором используется чрезвычайно высокое давление, чтобы протолкнуть горячую воду через плотно упакованную кофейную гущу. Это наиболее часто используемые методы, но есть и менее известные варианты.
В машинах Nespresso VertuoLine
используется совершенно другой процесс, который они назвали «Центрифузия», который представляет собой объединение центрифуги и плавления. Центрифузия работает путем быстрого вращения молотого кофе и воды со скоростью 7000 оборотов в минуту для их равномерного смешивания.Результатом является чрезвычайно равномерная экстракция, которая может производить пенку, подобную эспрессо, без использования среды высокого давления.
Кофемашины Nespresso OriginalLine — это настоящие эспрессо-машины, в которых для приготовления настоящего эспрессо используется насос под давлением 19 бар. Машины OriginalLine не имеют технологии чтения капсул, которая есть у машин VertuoLine, о чем мы поговорим в следующем разделе.
Передняя часть
Знать, как кофемашина Nespresso вызывает в воображении утреннюю чашку, — интересная мелочь, но в конечном счете она исключается из пользовательского опыта.С практической точки зрения, то, как Nespresso работает на уровне клиента, также полезно знать, если вы ищете новую кофемашину и думаете о покупке ее у Nespresso.
Существует множество различных кофемашин Nespresso, каждая из которых имеет немного отличающийся набор функций. Несмотря на эти небольшие различия, все кофемашины Nespresso используют капсулы Nespresso, и эти капсулы являются основой бренда Nespresso.
Капсула Nespresso – это небольшой контейнер с кофе, но это еще не все.Капсулы Nespresso поставляются с напечатанными на них штрих-кодами, которые позволяют совместимым машинам Nespresso считывать инструкции по завариванию и автоматически регулировать параметры заваривания для оптимизации экстракции определенного кофе внутри.
Дизайн со штрих-кодом означает, что одним нажатием кнопки вы можете приготовить кофе, который не является универсальным рецептом, но является гибким.
Другими словами, вы можете приготовить самые разные сорта кофе, не мучаясь с настройкой параметров самостоятельно. Это огромное преимущество перед другими подобными однокнопочными кофеварками, которые имеют только один режим заваривания.Разные сорта кофе требуют разной температуры воды и соотношения кофе и воды, чтобы получить максимальную отдачу от них, и Nespresso сделает всю точную настройку за вас.
Кофе Неспрессо
Ранее мы упоминали, что кофе Nespresso технически не является эспрессо, но имеет похожий вкус. Чтобы кофе назывался эспрессо, его нужно варить под давлением не менее девяти бар. Почему девять баров? Не всегда, но чаще всего давление в девять бар — это минимальное давление, необходимое для стабильного получения пенки, бархатистого слоя микропузырьков, которого так жаждут любители эспрессо.
Машины VertuoLine от Nespresso не имеют нагнетательных насосов и вместо них используют технологию центрифузионной обработки. Если вы покупаете новую кофемашину и не уверены, подходит ли вам OriginalLine или VertuoLine, попробуйте решить, что для вас важнее: приготовление настоящего эспрессо или удобство технологии чтения капсул.
Если вы предпочитаете классический эспрессо, выбирайте OriginalLine. Если вам нравятся штрих-коды и автоматическая настройка параметров, обязательно купите кофемашину VertuoLine, поскольку кофемашины Nespresso OriginalLine не могут считывать штрих-коды капсул.
Заключение
Nespresso выделилась среди конкурентов, создав простые в использовании машины, которые готовят вкусный кофе без необходимости возиться со всевозможными ручками и рычагами. Nespresso VertuoLine представила машиночитаемые капсулы, которые упрощают быстрое и простое приготовление различных смесей. Если вам нужен доступ к впечатляющей линейке капсул Nespresso, но вы хотите получить настоящий эспрессо, вы можете приобрести кофемашину OriginalLine, чтобы получить настоящий эспрессо под высоким давлением.
СВЯЗАННЫЕ ЧИТАНИЯ:
Как работают кофемашины? Плюсы и минусы
Описание кофемашин
Если вы никогда не использовали кофемашины, скорее всего, вы даже не знаете, как работают эти кофемашины.
Что ж, основной принцип практически одинаков для всех различных кофемашин, доступных сегодня на рынке, поэтому вы получаете одну и ту же чашку кофе из каждой из них, таких как K-Cup, Tassimo, Nespresso, Senseo и Dolce. -Смак.Что происходит с каждой из этих капсульных машин, так это то, что вы начинаете с того, что они называют капсулой, в которой есть молотый кофе внутри пластикового контейнера, выстланного фильтровальной бумагой, а затем запечатанного в фольгу. Вы берете стручки и кладете их в машины для стручков, которые, в свою очередь, автоматически прорывают фольгу. Затем машины для чалд нагревают воду почти до кипения и пропускают воду под чрезвычайно высоким давлением через кофе, который находится в чалде, в вашу одноразовую порционную чашку. Почти как традиционная эспрессо-машина.
Самая популярная капсульная кофемашина на рынке
Кофеварка Keurig K55 (до 100 долларов США) Нажмите, чтобы узнать подробности
Основная работа Pod Machines выглядит примерно так:
- Налейте воду в бак, который находится в задней части стручковой машины.

- Затем насос в нижней части этих машин для капсул всасывает воду, а затем перекачивает ее через машины для капсул.
- После этого вода будет нагреваться до идеальной температуры, проходя через нагревательный элемент.
- Далее вода прокачивается через узкую иглу, что помогает увеличить необходимое давление для этих стручковых машин.
- Как только давление, необходимое для чалд-машин, достигается, горячая вода под высоким давлением прокачивает молотый кофе, находящийся в чалдах, и высвобождает аромат кофе. С машиной для капсул Tassimo вы обнаружите, что вода накачивается, а затем попадает в капсулу через маленькое узкое отверстие на краю, а затем снова капает вниз через гораздо большее отверстие в середине.
- Фильтровальная бумага в капсулах на дне — это то, что предотвращает выпадение молотого кофе в вашу чашку кофе.
- Наконец-то кофе капает в вашу кофейную чашку.
Водонагреватель этих чалд-машин может нагреть воду, достаточную для чашки кофе, температура которой может варьироваться от 70°F до 185°F менее чем за минуту, так что это отличная скорость для тех, кто спешит и находится в пути.
У них есть мощные насосы, которые могут перекачивать почти литр воды в минуту и работают примерно в один-два раза быстрее, чем нормальное атмосферное давление.Это может показаться большим давлением, исходящим от этих машин для капсул, но, хотите верьте, хотите нет, это намного меньшее давление, чем вы обнаружите, исходя из вашей обычной эспрессо-машины, которая работает примерно в 8-15 раз больше нормального атмосферного давления.
Воздушные компрессоры для всех чалд-машин работают после выдачи кофе, продувая сжатый воздух через машины, и обеспечивают чистоту всех трубок машин и готовность к приготовлению следующей чашки кофе.
Плюсы:
- Машины для кофе в чалдах чрезвычайно просты в использовании
- Приготовить приличную чашку кофе
- Быстро, удобно и без проблем
- Не нужно перемалывать зерна, утрамбовывать, отжимать и не беспокоиться о подходящей температуре воды
Минусы:
- Ассортимент кофе ограничен
- Отсутствие свежести, так как кофе не свежемолотый, а предварительно молотый кофе хранится в пластиковом контейнере
- Ограничивает возможность варьировать параметры вашего стиля приготовления кофе из-за полной автоматизации и отсутствия возможности запрограммировать его так, как вы хотите.
Невозможно настроить по своему вкусу - Не экологически чистый. Когда вы обрабатываете кофе с помощью чалд-машин, вы тратите впустую пластиковую чалду, металлическую фольгу и фильтровальную бумагу каждый раз, когда вы готовите одну чашку кофе в одной из этих машин.
Вот краткий список популярных стручковых кофемашин
(Нажмите на изображение для получения более подробной информации и последних цен)
1. Персональная чашка Hamilton Beach One Cup Pod Brewer
2.Персональная кофеварка Hamilton Beach Stay or Go
3. Новая и улучшенная оригинальная кофеварка Philips Senseo
4. Оригинальная кофеварка K Cup от Mixpresso
5. Кофеварка Black & Decker на одну чашку
6. Кофеварка Keurig K55
Кофе в капсулах против капельного кофе
Как пользоваться капсульной кофеваркой: видео
youtube.com/embed/yuWj1bysdhs» frameborder=»0″ allowfullscreen=»allowfullscreen»/>
Нужны последние цены на капсульные кофемашины? Используйте поиск Amazon ниже.
Как работает кофемашина
Кофемашина может приготовить кофе за 1-2 минуты. Пользователь может выбрать нужный рецепт любимого напитка. В этом случае нет необходимости измельчать зерна самостоятельно. В зависимости от типа заварочного устройства используются зерна или капсулы.
Прибор самостоятельно вскипятит воду до нужной температуры. Многих любителей кофе интересует, как кофемашина создает насыщенный ароматный напиток.
Принцип работы кофемашины
Содержание статьи
- Принцип работы кофемашины
- Устройство
- Устройство
- Общие принципы работы
- Как работает капучино в кофемашине?
- Как работает кофемашина: видео
- Как работает капсульная кофемашина?
Для качественного кофе используется кипяченая вода, которую аппарат самостоятельно нагревает.
Температура воды регулируется автоматически в диапазоне 80–120° в зависимости от вида выбранного напитка и особенностей аппарата.
Крепость кофе регулируется не во всех типах устройств. В рожковых моделях для большей насыщенности необходимо плотно спрессовать измельченное сырье в держателе. Большинство устройств оснащены кнопочным или сенсорным управлением, позволяющим выбрать нужное количество жидкости.
Устройство Устройство
Основным конструктивным элементом кофемашины является бак для воды со встроенным нагревательным элементом.Количество нагревательных элементов в разных агрегатах может различаться. Бойлер нагревает воду до заданной температуры.
Некоторые устройства нагревают напиток паром, поступающим от кипящей воды. Жидкость перемещается по специальным трубкам с помощью насоса. Поддон предотвращает растекание воды в случае случайного слива. Давление в устройстве контролируется предохранительным клапаном.
Для хранения и измельчения зерна в комбинированных моделях встроен специальный бак. Не все типы кофемашин поддерживают настройку разной степени помола. В случае поломки кофемолки требуют значительных затрат на ремонт. В капсульных моделях вместо отсека для кофейного порошка предусмотрен держатель для капсул или подушечек. Для разлива напитка имеется одна или несколько насадок со встроенной насадкой. Опция очистки и фильтрации воды необходима для защиты бака от накипи и отложений.
Общие принципы работы
Автоматические кофемашины проверяются на наличие неисправностей перед каждым запуском.Процесс тестирования сопровождается световой индикацией. Жидкость из бака перекачивается в котел.
В этом случае счетчик считает нужное количество жидкости. Зерна помещаются в бункер кофемолки и подбираются нужная степень помола и дозировка напитка. Далее агрегат автоматически нагнетает насосом нужное давление.
Внимание! Кофемолки Millstone изготовлены из керамики и металла.
Керамика малошумна, а металлические элементы более долговечны.
Измельченное сырье переносят в приемник, в котором его прессуют и заливают кипящей водой, достигшей температуры 95°. В большинстве устройств рабочее давление составляет 15 бар. В рожковых моделях минимальное давление составляет 3-4 бара. Готовый напиток переливается в чашку через носик-дозатор.
Использованное сырье переносится в специальный бак для отходов, после чего установка готова к дальнейшему использованию. Ручная очистка компонентов после приготовления кофе не требуется.По окончании варки отработанное сырье необходимо вынуть из емкости.
Важно! Давление влияет на продолжительность приготовления кофе, его вкус, крепость и аромат. Заваривание при давлении 3-4 бар позволяет получить крепкий напиток, при 15 бар он более мягкий и нежный с ярко выраженным ароматом.
Как работает капучино в кофемашине?
Капучинатор – устройство для эмульгирования молока.
Взбитая пена используется для приготовления эспрессо. Это устройство может быть встроено или прикреплено как насадка.
Молоко поступает в капучинатор по трубке из миски или пакета с молоком. Молоко нагревается паром внутри устройства. Через калибровочное отверстие в него подается немного воздуха. В процессе смешивания воздуха с молоком получается пена.
Как работает кофемашина: видео
Приготовление кофейного напитка осуществляется в несколько этапов:
- дробление зерна заданной степени полола;
- запрессовка в бункер;
- дозировка сырья и обработка кипятком;
- разлив готового напитка по чашкам.
Основным преимуществом автоматических моделей является возможность заваривать свежемолотый кофе с минимальным вмешательством пользователя в процесс приготовления. Следует помнить, что устройства с двумя насадками распределяют напиток одновременно по двум чашкам.
Капельные машины
предназначены для полуавтоматического приготовления.
Колба имеет фиксированный размер. В него поместится несколько чашек кофе.
Аппарат подбирается исходя из желаемого количества готового напитка. Зерно предварительно измельчают или приобретают молотое сырье.Его помещают в бункер в нужном количестве и утрамбовывают. Устройство пропускает через сырье небольшие порции воды, выливая готовый напиток в чашку. По окончании варки бункер необходимо очистить от отходов.
Важно! Не стоит готовить напиток «про запас». Сваренный кофе не подлежит длительному хранению, теряет вкус и аромат.
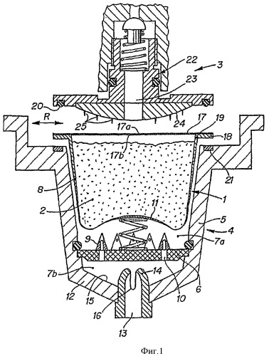
Как работает капсульная кофемашина?
Капсульные машины не требуют предварительного помола кофе и прессования сырья в держателе.Капсула представляет собой пластиковый резервуар, запаянный в фольгу. Имеет два фильтра для фильтрации воды и готового напитка.
Под давлением горячий пар поступает в горн, капсула прокалывается. Горячая вода через фильтр поступает в пудреницу.
По завершении экстракции готовый напиток фильтруется вторым фильтром и поступает в чашку.
Вода в капсульных моделях заливается в бачок, расположенный в задней части устройства. С помощью насоса жидкость поступает из бака в машину.Нагрев до заданной температуры осуществляется электрическим ТЭНом. Кипяток проходит через капсулу, заваривая крепкий напиток. Остатки отработанного сырья остаются на капсульном фильтре, а жидкость сливается в чашку.
После заваривания использованная капсула выбрасывается. Устройство не нуждается в механической очистке. Контейнеры для отходов собираются в баке для отходов, в котором может храниться до 15 капсул. Функция подогрева чашек есть не во всех кофемашинах.
Модели отличаются мощностными характеристиками. В ассортименте есть устройства на 950-1700 Вт. Работают под давлением 15–19 атмосфер. Объем бака определяет, сколько порций кофе может приготовить аппарат без добавления воды. Устройства с таймером дают возможность приготовить напиток к определенному времени.
Коммерчески доступные машины доступны для заваривания кофейных зерен и напитков в капсулах.
Кому кофе? История кофейной капсулы
Сентябрь 2010 г.
Изобретение кофейной капсулы произвело революцию в употреблении кофе, подпитывая растущую популярность одного из самых характерных доступных напитков — маленького, но крепкого черного кофе, известного как эспрессо.Кофе варят разными способами, но эспрессо быстро становится любимой чашкой знатоков. Кофе эспрессо варится под большим давлением, пропуская горячую воду через мелко помолотые зерна менее чем за 25 секунд. В результате получается концентрированная порция кофе, увенчанная характерной нежной шоколадно-коричневой пеной, известной как crema . В июне 2010 г. Эрик Фавр, плодовитый и новаторский изобретатель в области порционного кофе, поделился своими знаниями и опытом изобретателя и предпринимателя с участниками семинара, организованного в рамках первого Дня открытых дверей ВОИС.
Эта статья опирается на его комментарии, чтобы проследить развитие технологии, которая изменила опыт употребления кофе для миллионов людей.
Происхождение
Фото: Enrico Maltoni Collection
(www.espressomadeinitaly.com)
Эспрессо зародился в Италии (что в переводе с итальянского означает «быстрый») в начале 1900-х годов, когда Луиджи Беззера, разочарованный тем, как долго готовится его утренняя чашка, увеличил давление пара в своей кофемашине. При этом он не только ускорил процесс заваривания, но и обнаружил, что получил более крепкую и крепкую чашку кофе.Несмотря на технические способности, г-н Беззера не добился больших успехов в маркетинге своего продукта. Именно Дезидеро Павони, итальянский бизнесмен, получив в 1905 году патентные права на машину господина Беззера, успешно представил эспрессо на итальянском рынке и изменил то, как мы пьем кофе.
Развитие технологий
Технология приготовления идеального эспрессо постоянно совершенствовалась и совершенствовалась на протяжении многих лет.
В 1938 году г-н Кремонези разработал кофемашину с поршневым насосом, которая устранила привкус гари, связанный с использованием пара или кипящей воды.Поршневой насос с пружинным рычагом г-на Акилле Гаггия впоследствии позволил подавать кофе под давлением независимо от бойлера — более ранние машины прогоняли воду через кофе, используя давление бойлера. В 1961 году компания Faema создала машину с электрическим насосом для подачи воды через кофе. Это положило начало помповым машинам, от которых произошли современные эспрессо-машины.
«Если ты изобретатель, ты должен быть предпринимателем».
Рождение изобретения
Эрик Фавр, сын сельскохозяйственного изобретателя, в начале своей инженерной карьеры получил совет о важности изобретения чего-то, что могло бы продаваться.Помня об этом, в 1975 году он начал свою карьеру в отделе упаковки швейцарской штаб-квартиры Nestle. Это позволило ему быть в постоянном контакте не только с научно-исследовательской частью работы компании, но также с продажами, маркетингом и производством.
В середине семидесятых растворимый кофе был в моде, но кофейное приключение г-на Фавра было вызвано стремлением сделать так, чтобы каждый мог приготовить и насладиться лучшим итальянским эспрессо, не выходя из дома.Эврика!
Вместе со своей итальянской женой он прочесывал Италию в поисках идеального эспрессо, который, по их мнению, они нашли в Риме, в кафе Sant’Eustachio, где местные итальянцы выстроились в очередь, чтобы попробовать чашку бариста , лучшего напитка г-на Эудженио. . Мало того, что его эспрессо был на голову выше тех, что они пробовали по всей Италии, его отличие заключалось еще и в способе его приготовления. «Мистер. Эудженио по-прежнему использовал старые классические кофемашины с четырьмя поршнями, — сказал он, — чтобы приготовить кофе, он не опускал поршень один раз, как все остальные; он накачал его три или четыре раза.Поступая так, мистер Эудженио фактически газировал кофе; это было ключом к изобретению мистера Фавра. «Мистер. Эудженио помог мне понять, что для хорошего кофе эспрессо необходимо ввести в воду максимальное количество воздуха, прежде чем она вступит в контакт с кофе.
Воздух на 20 процентов состоит из кислорода. Это окисляет ароматы или эфирные масла и позволяет быстрее их извлекать», — пояснил он. «Эспрессо состоит из смеси воздуха, воды и кофейных масел. Это очень просто, но раньше об этом никто не задумывался.На самом деле я не изобретал капсулу; Я изобрел формулу, и она намного сильнее», — сказал он.
После «озарения» дома в Швейцарии г-н Фавр приступил к проверке своей идеи. Он почти мгновенно понял, что «фильтрованный кофе для воды — это то же самое, что кофе эспрессо для газированной воды». Кофе эспрессо имеет более плотный аромат и вкус, потому что «маленькие пузырьки воздуха, содержащиеся в жидкости, лопаются на вашем небе и пробуждают ваши вкусовые рецепторы», — объяснил г-н Фавр. Хотя концепция была ему ясна, одна из самых больших проблем, с которыми сталкиваются изобретатели, г-нФавр, доносит свое видение до других: «проблема в том, что когда ты все понял и знаешь, чем может стать твоя идея, никто толком не понимает, о чем ты говоришь, потому что это что-то новое и нет языка, чтобы это описать».
».
Мистер Фавр приступил к проверке своей концепции и начал работу над созданием «экстракционной камеры, в которой концентрируются все ароматы». Опираясь на свои инженерные знания, он выбрал полусферу, которая позволила ему встроить в основание фильтр и мембрану.Вскоре он придумал капсулу, которая сначала напоминала шляпу-котелок, а позже превратилась в нынешнюю форму.
Сыграв ключевую роль в создании и коммерциализации оригинальной капсулы Nespresso, г-н Фавр в 1991 г. основал собственную компанию Monodor SA со штаб-квартирой в Швейцарии. С момента получения патента на свою оригинальную капсулу в 1976 г., более 30 лет назад, г-н Фавр , продолжал вводить новшества и совершенствовать свое изобретение. Г-н Фавр и Монодор владеют рядом патентов на свои технологии и неоднократно использовали Договор ВОИС о патентной кооперации (PCT) в качестве средства подачи заявок на международную охрану.
Ponte Vecchio a Montecchio, Brescia,
Италия (Фото: Renzo Gaioni — www.
renzogaioni.it)
Концепция монодора является усовершенствованием его более раннего изобретения. Его оригинальная капсула, продававшаяся до 1994 года, весила 3 грамма; но один только фильтр весил 2 грамма и был сделан в основном из алюминия. Поскольку фильтр был неотъемлемой частью упаковки, тонны алюминия выбрасывались. Для г-на Фавра в современном экологически сознательном мире это «было немыслимой потерей энергии.
Вдохновленный архитектурой 2000-летнего моста в Италии, он разработал новую капсулу, которая создает фильтр, разрушаясь под давлением (около 150 кг), возникающим в процессе экстракции. Капсула, а точнее метод экстракции, используемый в новой капсуле, устраняет необходимость в фильтре внутри капсулы. При использовании этого метода (см. номер заявки РСТ PCT/CH91/000222) машина прокалывает верхнюю часть капсулы, впрыскивает воду под давлением, в результате чего кофейные зерна, содержащиеся в капсуле, набухают в пять раз по сравнению с их объемом.Это создает давление внутри капсулы, которое нарастает до тех пор, пока мембрана, образующая дно капсулы, не деформируется и не упирается в шипы, расположенные на дне кофемашины, в которую помещена капсула.
Жидкость проходит через этот фильтр в чашку. Таким образом, «вы получаете всю совокупность ароматов, особенно если вода хорошо проветривается в процессе настаивания», — пояснил г-н Фавр.
Капсула
Monodor использует минимальную упаковку по сравнению со многими другими капсулами. Он изготовлен из семи различных слоев полипропилена.Оболочка составляет всего 12% капсулы, остальное — кофе.
Огромный коммерческий потенциал кофейных капсул означает, что г-н Фавр и его компания Monodor S.A. должны проявлять бдительность при защите своих патентных прав. «Это кажется очень простым, но это формула, которую нам нужно было запатентовать», — сказал он. «Нам нужно защищать его с большой осторожностью… Если бы у нас не было этой защиты, были бы сотни копий», — добавил он.
Семейный бизнес «Монодор» успешно конкурирует на рынке, сотрудничая с 400 экспертами, специализирующимися на каждом этапе производственного процесса.«Это позволило нам добиться результатов, сравнимых с результатами крупных коммерческих исследовательских лабораторий… очень быстро, и именно поэтому у нас… есть возможность расширяться», – сказал г-н Фавр.
Фото: iStockphoto.com / Адриан Барас
На сегодняшний день компания «Монодор» произвела по лицензии более 500 миллионов капсул. «Сегодня мы развиваемся. «Монодор» (становится чем-то вроде «Тетрапака») дает другим крупным группам возможность продавать наш продукт в различных формах», — сказал он.Растет спрос на эти капсулы в барах, ресторанах и других местах с высоким потреблением, но это означает, что необходимо быстро произвести тысячи машин. «Вот почему за нами стоят все более и более крупные группы», — пояснил г-н Фавр. В 2000 году Monodor, зарегистрированный в качестве товарного знака в рамках Мадридской системы международной регистрации знаков ВОИС, подписал лицензионное соглашение с Lavazza, позволяющее им производить, продавать и распространять концепцию Monodor на международном уровне под маркой Lavazza Blue.В 2004 году компания подписала соглашение со швейцарской компанией Migros, позволяющее им производить, продавать и распространять концепцию Monodor в Швейцарии под маркой Delizio.
Учитывая, что рынок в значительной степени неиспользован — кофейные капсулы в настоящее время составляют около одного процента многомиллиардного рынка кофе, и ожидается, что в течение следующего десятилетия эта доля вырастет до 20 процентов — будущее для Monodor выглядит радужным. Гениальное изобретение г-на Фавра сделало искусство приготовления эспрессо доступным для миллионов потребителей.Если раньше хороший эспрессо был редкостью, то сегодня любители кофе могут легко и удобно наслаждаться острым ароматом и богатым вкусом кофе со всего мира.
Движимый страстью к изобретениям, г-н Фавр продолжает расширять применение своей революционной концепции, запуская Tpresso2 в Китае (Пекин и Шанхай) в октябре 2010 года. Этот уникальный процесс заваривания чая включает в себя герметичную капсулу с мелко нарезанными чайные листья и, как говорят, очень эффективно сохраняют тонкие ароматы и вкусы чая.
Основной целью компании является постоянное внедрение инноваций и исследование новых и улучшенных процессов.
Компания продолжает искать новые способы оптимизации экстракции ароматов под высоким давлением из пищевых продуктов и концентрирует свои исследовательские усилия на ряде областей, включая кофе (ристретто, эспрессо, капучино и т. д.), чаи и настои (черный, зеленый , мятные чаи и др.), молочные продукты (шоколад и молоко и др.), кулинарные изделия (бульоны, супы, соусы и др.) и детское питание.
___________________
1 Мировой лидер в области решений для пищевой промышленности и упаковки
2 Tpresso зарегистрирован в качестве товарного знака в рамках Мадридской системы международной регистрации знаков.
Как пользоваться кофемашиной Nespresso: Pixie, Vertuo и многое другое
Мастерски приготовленный эспрессо — это произведение искусства, но обычно для его приготовления требуется обучение и традиционная эспрессо-машина, которая использует пар и сильное давление для получения идеальной порции. Если у вас нет места или бюджета, чтобы инвестировать в настоящую кофеварку эспрессо, кофемашина Nespresso может стать идеальной альтернативой.
«Машина Nespresso работает так же, как и эспрессо-машина, используя давление, но в гораздо меньшем масштабе и, возможно, менее стабильном», — говорит Оуэн Берк, постоянный эксперт по эспрессо в Insider Reviews.«Его невероятно легко использовать, и хотя он не производит эспрессо по определению, он настолько близок к тому, что вы собираетесь получить с минимальными усилиями».
По словам Бёрка, «эспрессо», приготовленный из кофемашины Nespresso, не имеет достаточного количества растворенных твердых веществ, чтобы его можно было квалифицировать как настоящий эспрессо. Тем не менее, он создает фантастическую основу для напитков в стиле эспрессо, таких как латте и капучино, и является разумной заменой для тех, кто жаждет демитассе этого богатого и интенсивного отвара.
Как работает кофемашина Nespresso?
Nespresso производит несколько разных моделей, но большинство из них имеют одинаковую базовую конструкцию для приготовления эспрессо. В корпусе есть прорезь для вставки капсулы, совместимой с Nespresso, и когда крышка закрывается, начинается процесс приготовления эспрессо.
Капсула протыкается, и внешний резервуар подает нагретую воду в камеру капсулы под высоким давлением, в конечном итоге создавая порцию пены выбранного размера с кремовой начинкой.Затем отработанная капсула выбрасывается в контейнер под капсульной камерой, чтобы ее позже выбросить.
Настройка кофемашины Nespresso
Перед первым использованием важно промыть и очистить резервуар для воды, наполнив его свежей питьевой водой. Включите кофеварку Nespresso и дайте машине прогреться в течение примерно 25 секунд — ее индикаторы будут мигать зеленым цветом, когда кофеварка нагревается, а затем загорятся зеленым цветом, когда она будет готова.
Поместите чашку под носик и, как только индикатор загорится, запустите машину без капсулы, используя настройку Лунго — ту, которая использует наибольшее количество воды, обозначенной самой высокой чашкой, — чтобы очистить машину.Повторить трижды, выплеснув изгоняемую воду. После этого он готов к использованию.
Что означают настройки?
Некоторые кофемашины Nespresso могут варить только два размера кофе — эспрессо и лунго.
Пустошь / Getty Images
Машины Nespresso обычно имеют три настройки для приготовления эспрессо, при этом каждая кнопка отображает полученный размер порции.
Ристретто (по-итальянски «для ограниченного использования») использует наименьшее количество воды и является наиболее концентрированным. Он производит порцию 25 миллилитров или 0,84 унции и символизируется маленькой чашкой для эспрессо.
Параметр Espresso позволяет налить 40 миллилитров или 1,35 унции и изображается как чашка для эспрессо среднего размера.
Наливки Lungo имеют объем 110 миллилитров или 3,72 унции и содержат большое количество воды, что делает их наиболее похожими на американо.Его символизирует самая большая чашка эспрессо из трех.
Некоторые старые модели линейки Original, такие как Pixie, Essenza mini и Citiz, имеют только настройки Espresso и Lungo. Новая линейка Vertuo включает в себя все три настройки, а также дополнительные опции для обычного капельного кофе, символом которого является высокая кофейная кружка. А линия Latissima с автономным вспенивателем молока предлагает дополнительные настройки в одно касание, такие как латте, маккиато, капучино и флэт уайт, каждая из которых имеет характерные символы, показывающие соответствующее соотношение молока и эспрессо.
Какие капсулы следует использовать?
Обязательно купите капсулы, совместимые с вашей машиной.
Влад Фишман / Getty Images
Nespresso производит свою собственную марку алюминиевых капсул, предназначенных для использования с их машинами, которые можно приобрести непосредственно на их веб-сайте или через несколько крупных универмагов и розничных продавцов.Ассортимент кофе варьируется от сортов кофе одного происхождения до ароматизированных смесей, а также сезонных и специальных выпусков в течение всего года. Существует два типа капсул:
- Оригинальные капсулы совместимы с машинами Le Cube, Citiz, Essenza, Pixie, Lattissima, Maestria и Creatista.
- Капсулы Vertuo совместимы только с линейкой Nespresso Vertuo.
Берк говорит, что есть также несколько других альтернатив, которые делают капсулы, совместимые с Nespresso Original, а также многоразовые версии, которые можно заправлять дома, например Seal Pods.
Обратите внимание, что чашки Keurig K-Cups, Vittoria Espressotoria, K-Fee и мягкие капсулы не будут работать с кофемашиной Nespresso.
Лучшие капсулы для кофе и эспрессо
Амазонка
Мы тестируем и рекомендуем лучшие капсулы для кофе и эспрессо.Ознакомьтесь с нашим выбором:
Как приготовить кофе с помощью кофемашины Nespresso
Оскар Вонг / Getty Images
- Включите кофемашину и вставьте капсулу Nespresso.
Оставьте крышку открытой, пока машина нагревается и индикаторы мигают зеленым цветом. Поставьте чашку под дозатор кофе. - Выберите размер напитка. Для приготовления традиционного эспрессо нажмите кнопку «Эспрессо». Для более концентрированного шота выберите меньшую настройку Ristretto, а для более разбавленного шота выберите Lungo.
- Когда индикатор загорится зеленым цветом, закройте крышку. Он автоматически начнет заваривать, наливая нужный объем в чашку под носиком.
- Подождите, пока не услышите звук выброса капсулы. Некоторое количество кофе может продолжать вытекать из носика до тех пор, пока не упадет использованная капсула, поэтому чашка или поддон для сбора капель должны оставаться там, пока машина не остановится полностью. Некоторые модели, такие как Pixie, требуют ручного выброса капсулы. Просто снова откройте камеру для капсул, и она упадет в мусорное ведро.

- Утилизируйте или переработайте использованную капсулу . Алюминиевые капсулы можно отправить на переработку или выбросить.
Еда на вынос
Машины Nespresso — это чрезвычайно удобный способ воссоздать атмосферу кофейни у себя дома.Хотя они не делают настоящий эспрессо, Берк говорит, что они делают «впечатляюще похожий на эспрессо напиток», полезный, когда у вас нет доступа к полнофункциональной эспрессо-машине. Вы можете наслаждаться латте, капучино, американо и многим другим, не выходя из собственного дома, всего за несколько простых шагов.
Бернадетт Машар де Грамон
Будучи внучкой владельцев ресторанов-иммигрантов, Бернадетт проявила интерес к гастрономии в юном возрасте, готовя все, от филиппинских и китайских рецептов своей семьи до классических французских блюд.
Она также провела семь лет в винной индустрии, помогая клиентам приобретать изысканные и редкие вина для пополнения своих коллекций.
После 18 лет жизни в Сан-Франциско Бернадетт направилась на юг, в Лос-Анджелес, где продолжает писать о еде и культуре, иногда работая фуд-стилистом/фотографом, тестировщиком продуктов и консультантом по маркетингу в винной индустрии. Ее работы появились на Food52, The Spruce Eats, MyFitnessPal, Made Local и Far & Wide.
Читать далее
Читать меньше
Лучшая машина Nespresso (но не для всех)
Приготовив и попробовав более 100 эспрессо, лунго, латте маккиато и капучино, мы определили, что все машины Nespresso готовят одинаковые напитки.
Нам не нравится вкус Nespresso, но для тех, кто предпочитает напитки на основе эспрессо каплям кофе, кофемашина Nespresso — это самый быстрый и удобный способ приготовить что-то подобное дома — хотя, если вы хотите приготовить настоящий домашний эспрессо , вместо этого мы рекомендуем эти настройки для начинающих. Нам нравится компактный Nespresso Essenza Mini, потому что он готовит кофе такого же качества, как и машины, которые стоят на сотни дороже, без каких-либо излишеств.
Наш выбор
Nespresso Essenza Mini
Essenza Mini готовит тот же эспрессо, что и машины Nespresso за 400 долларов, но занимает меньше места и не имеет лишних функций.
Варианты покупки
*На момент публикации цена составляла 140 долларов США.
Essenza Mini маленькая и мощная, способная приготовить такие же ристретто, эспрессо и лунго, как и любая другая кофемашина линии Nespresso. Его тонкий привлекательный корпус подойдет даже для самой маленькой кухни, а простота делает его самой простой в использовании и чистке кофемашиной Nespresso.
Не дайте себя обмануть огромным количеством машин, которые заставят вас платить на сотни долларов больше за функции, которые не улучшат вкус вашего кофе, такие как технология Bluetooth или палочка для латте-арта.Essenza Mini предлагает максимальную отдачу за все еще значительные деньги.
Выбор апгрейда
Nespresso Essenza Plus
Эта машина большей емкости также может варить американо, что делает ее хорошим вариантом для домохозяйств, которым нужны как эспрессо, так и более разбавленные кофейные напитки.
Варианты покупки
*На момент публикации цена составляла 210 долларов США.
Большинству людей нужна только Essenza Mini, но более крупная Essenza Plus — более универсальная машина, которая может варить американо двух размеров в дополнение к обычному репертуару Nespresso: ристретто, эспрессо и лунго.Эта машина занимает немного больше места, чем Mini, но ее увеличенный резервуар для воды и ящик для использованных капсул делают ее лучшим вариантом для приготовления напитков для больших групп людей.
Даже если вы завариваете на одного, вам не придется так часто опорожнять капсулы или доливать воду. Essenza Plus также включает в себя две дополнительные функции — кнопку горячей воды, результаты которой недостаточно горячи для чая, а также подключение к приложению, которое позволяет вам заказывать новые капсулы одним нажатием кнопки — которые мы считаем менее полезными.Но его способность варить предварительно запрограммированные американо делает его надежным обновлением, особенно если вы любите как концентрированный эспрессо, так и менее концентрированные кофейные напитки.
Также отлично подходит
Instant Pod
Большая, но недорогая, Instant Pod — единственная машина, которая может варить как Nespresso, так и K-Cups.
Варианты покупки
*На момент публикации цена составляла 100 долларов США.
Кошка-собака кофе в капсулах, Instant Pod заваривает как капсулы Nespresso, так и чашки Keurig K-Cup, что делает его хорошим и единственным вариантом для домохозяйств, которым нужно и то, и другое в одной машине.
Созданный компанией, ответственной за мультиварки Instant Pot, Instant Pod может готовить напитки Nespresso объемом 2, 4 и 6 унций, что примерно эквивалентно соответственно эспрессо Nespresso, лунго и лунго большего размера. все, что может сварить наш главный выбор, кроме ристретто. И он может заваривать кофе Keurig на 8 унций, 10 унций и 12 унций. Линейка кофемашин Nespresso Vertuo якобы также готовит эспрессо и кофе, но кофе Vertuo, покрытый толстым слоем пенки, нам показался неприятным.Нам также не нравится водянистый вкус кофе Keurig — и мы не рекомендуем эти машины — но если вы хотите заваривать K-Cups, Instant Pod предлагает универсальность для обоих вариантов, при этом занимая меньше места. места на прилавке, чем две машины, и стоит меньше, чем самый дешевый Nespresso. Он также имеет кавернозный резервуар для воды, который упрощает заваривание вплотную друг к другу, а также доступный интерфейс, удобный для новичков.
капсул Nespresso® (август 2018 г.) — все, что вам нужно знать!
| Обновлено за август 2018 г.
| Совместимые капсулы Nespresso® предлагают огромные преимущества, включая большую экономию, экологически чистые капсулы, органические сорта и сорта Fairtrade.
Но и они вызывают много вопросов. Будут ли совместимые капсулы работать на моей машине? Одинаковы ли они на вкус?
В этом полном справочнике наши эксперты по кофе ответят на все ваши вопросы. Мы также дадим вам несколько полезных советов, которые помогут сделать ваш кофе еще вкуснее.
Начнем!
Чтобы помочь вам сориентироваться в этой статье и найти нужный раздел, нажмите на быстрые ссылки ниже!
Совместимые с Nespresso® капсулы: что это такое?
Проще говоря, совместимая капсула Nespresso® — это та, которая не производится брендом Nespresso®.Тем не менее, он предназначен для идеальной работы в кофемашине Nespresso. Это делает его отличной альтернативой Nespresso®.
Компании, производящие совместимые капсулы, включают Real Coffee , Starbucks , Douwe Egberts , Café Pod , Hotel Chocolat , Gourmesso и многие другие. Эти капсулы различаются по дизайну и конструкции. Они могут быть изготовлены из алюминия, пластика и других материалов.
Лучший совет!
Тот факт, что альтернативная капсула сделана из алюминия, не обязательно означает, что она лучше пластиковой.Все упирается в общий дизайн стручка. Убедитесь, что выбрали серьезную кофейную компанию с хорошими отзывами и доверием.
Совместимость с
: действительно ли они работают?
Мы не можем говорить за каждую марку кофе, так как все капсулы имеют разную конструкцию, однако простой ответ: да — большинство из них подойдут для вашей кофемашины Nespresso®.
Тщательное тестирование гарантирует совместимость.
Большинство серьезных брендов кофе будут тщательно тестировать свои капсулы, чтобы обеспечить полную совместимость с популярными кофемашинами Nespresso®, включая серии Pixie, Inissia, Citiz, Essenza и Lattissima.
При условии соблюдения правильных инструкций большинство совместимых капсул должны работать с вашей кофемашиной Nespresso®. Однако некоторые из них могут работать не так хорошо, как вы надеялись. Все зависит от выбранного вами модуля и используемой машины. Вот почему вы должны использовать проверенный бренд с хорошими отзывами.
Также стоит отметить, что некоторые совместимые капсулы не работают при использовании в полностью автоматических машинах Nespresso®, таких как Prodigio, Nespresso-U® и Expert.Это потому, что эти машины очень чувствительны. Даже незначительные изменения оригинального дизайна Nespresso могут привести к проблемам во время использования.
Настоящий кофе говорит…
Мы не можем говорить об остальном, но совместимые капсулы Real Coffee совместимы на 100%, даже при использовании в полностью автоматических машинах, таких как Prodigio, Nespresso-U® и Expert.
Это связано с тем, что каждая партия кофе, поступающая из современной лаборатории Real Coffee, разрабатывается профессиональными инженерами, а также экспертами по кофе.
Идеальный вкус чалды и кофе — это такая же наука для Real Coffee, как и для Nespresso®.
Преимущества
: большая экономия и лучший выбор
Несмотря на то, что статус Nespresso как люксового бренда трудно превзойти, использование совместимых капсул Nespresso® дает большие преимущества.
Большая экономия
Одним из самых больших является потенциальная экономия, особенно если вы активно пользуетесь Nespresso®.Сравните капсулу Nespresso® 39p с совместимой чалдой Real Coffee 19p. Даже если вы выпиваете всего три чашки в день, вы можете сэкономить около 219 фунтов стерлингов в год, используя совместимые капсулы вместо оригинального Nespresso! Для большой семьи или даже офиса, использующего более 10 капсул в день, годовая экономия будет огромной.
Лучший выбор
Еще одним большим преимуществом является то, что предлагаемый выбор очень широк. Есть много других стилей капсул, которые вы просто не найдете в оригинальной линейке Nespresso®.Например, органический кофе и кофе Fairtrade, кофе со специальными вкусами и даже капсулы с горячим шоколадом.
Покупка без проблем
Покупка капсул — еще одно преимущество использования совместимых капсул Nespresso®. Например, обычно вы можете зайти в местный супермаркет и купить коробку совместимых капсул. Вы также можете покупать непосредственно у бренда в Интернете в меньших количествах в соответствии с вашими желаниями.
Настоящий кофе говорит…
В Real Coffee мы инвестируем в качественный кофе, а не тратим большие деньги на маркетинг, рекламные кампании и аренду дорогих магазинов.Это означает, что мы можем предложить кофе отличного качества по очень конкурентоспособной цене.
Мы также с гордостью представляем два совершенно новых продукта для кофемашин Nespresso®: чалды для горячего шоколада и капсулы для кофе со вкусом карамели .
Лучший совет!
Купите небольшую сумму для начала, когда пробуете новый бренд, сорт или вкус. Если вы не поклонник вкуса, вы не будете тратить деньги на огромную партию стручков. Попробуйте набор для дегустации самых популярных сортов Real Coffee, чтобы найти свой любимый.Мы вернем вам ваши деньги, если они вам не понравятся по какой-либо причине — без суеты.
Купить совместимые капсулы Nespresso®:
Как выбрать лучший
Используйте надежный бренд! Поскольку качество совместимых капсул сильно различается, убедитесь, что вы покупаете марку кофе, которой вы можете доверять. И всегда покупайте у розничного продавца или на рынке, который предлагает политику возврата денег, если вы недовольны своим кофе.
В 2018 году купить упаковку капсул, совместимых с Nespresso®, от хорошего бренда не может быть проще. Вы можете купить большой ассортимент капсул в таких супермаркетах, как Sainsbury’s, Tesco, Waitrose, Aldi и Lidl, будь то CafePod, Douwe Egberts или собственный ассортимент супермаркета.
Настоящий кофе говорит…
Real Coffee прошел полных рецензий в CoffeeBlog — ведущем блоге о кофе в Великобритании — и получил высокую оценку различных изданий, в том числе журнала Healthy Magazine.Мы также гордимся большим количеством замечательных отзывов от любителей кофе на Amazon — на самом деле, наши отзывы даже лучше, чем у ведущего бренда.
Лучший совет!
Проверьте Google на наличие отзывов, если вы не знакомы с определенной маркой кофе. Таким образом, вы можете увидеть, нравится ли другим любителям кофе предлагаемый кофе и обслуживание.
Настоящие кофейные альтернативы 5 лучшим сортам кофе Nespresso
Если вы давно пользуетесь Nespresso® и вам интересно использовать совместимые капсулы, но вы беспокоитесь, что вам будет не хватать вкусов, к которым вы привыкли, мы понимаем.Чтобы облегчить ваше решение, мы выделили пять популярных чалд Nespresso и альтернативы Real Coffee.
Nespresso® Kazaar -> Real Coffee Roma
Kazaar — это насыщенный сиропообразный кофе, который имеет общие характеристики с Espresso Roma от Real Coffee — оба дают мощный заряд бодрости и отлично подходят для утреннего употребления. Roma — это темная смесь зерен робусты (70%) и арабики (30%) (весь кофе отмечен знаком Fairtrade). Он предлагает сильный вкус, округленный затяжным оттенком лесного ореха и богатой пенкой.И казаар, и рома следует добавлять в молоко, так как их вкус может быть слишком сильным для питья в чистом виде.
Nespresso® Ristretto -> Real Coffee Venezia
Сделанный из смеси зерен арабики и робусты, ристретто — еще один крепкий эспрессо от Nespresso, хотя его легче пить без молока.
То же самое и с Real Coffee Venezia, который предлагает знакомый смелый вкус, хорошо сбалансированный и пряный. Как и многие другие кофе из ассортимента Real Coffee, Venezia имеет сертификат Fairtrade.
Nespresso® Arpeggio -> Real Coffee Single Origin Sumatra
Arpeggio — это насыщенный кофе темной обжарки с легкими нотками какао, который во многом похож на кофе Single Origin Sumatra от Real Coffee. Sumatra — один из наших органических сортов кофе, отмеченных знаком «Справедливая торговля», выращиваемый народом мандайлинг на севере Суматры. Он предлагает сложный вкус с легким травянистым шоколадным послевкусием.
Nespresso® Arpeggio Decaffinato -> Real Coffee Torino Decafinato
Arpeggio Decaffinato от Nespresso очень похож по вкусу на оригинальный Arpeggio бренда, хотя и без кофеина.Для тех, кто хочет полного вкуса без шума в совместимой капсуле, Real Coffee предлагает Torino Decaf.
Эта смесь изготовлена из 100% зерен арабики из Южной Америки, а процесс удаления кофеина полностью свободен от химических веществ.
Nespresso® Fortissio Lungo -> Настоящий кофе Сан-Марино
Для более длительного напитка Fortissio Lungo от Nespresso сохраняет богатый насыщенный вкус и имеет некоторые сходства во вкусе с San Marino Lungo от Real Coffee.Сан-Марино имеет сертификат Fairtrade и является органическим, и предлагает мягкий лонг-кофе с интенсивным, но сливочным вкусом.
Стоит отметить, что у Real Coffee разные эксперты по кофе, чем у Nespresso®, поэтому вы не найдете двух сортов с одинаковым вкусом. Однако, когда дело доходит до крепости и вкусовых ноток, у перечисленных выше сортов кофе, безусловно, есть общие черты.
Лучший совет!
Будьте осторожны, не доверяйте крепости кофе, указанной на упаковке – люди очень по-разному пробуют один и тот же кофе.
«9» для нас может быть только «7» для вас. Если вы сомневаетесь, купите меньшее количество в первую очередь.
Как каждый раз получать наилучшие впечатления от кофе
Преимущество кофемашин Nespresso® в том, что это быстрый, простой и беспроблемный способ приготовить качественный эспрессо. Но на самом деле есть искусство получить лучший вкус. Вот некоторые из самых простых способов улучшить качество следующей чашки кофе, совместимого с Nespresso:
Правильно загрузите модуль
Стоит потратить лишнюю секунду, чтобы убедиться, что чалда Nespresso® правильно выровнена в кофемашине.Когда вы закроете машину, сильно нажмите, чтобы проткнуть капсулу и фольгу, но не применяйте силу. Если вам кажется, что сопротивление слишком велико, проверьте правильность загрузки капсулы.
Используйте фильтрованную воду
Чтобы получить оптимальный вкус от вашего фирменного кофе, мы рекомендуем использовать фильтрованную воду.
Фильтрация уменьшает содержание хлора, осадка и запахов в воде, а также «смягчает» воду — это особенно важно, если вы живете в районе Великобритании с жесткой водой.
Нагрейте машину и чашку перед использованием
Теплая машина работает эффективнее – чалды легче протыкаются, кофе льется ровнее, а вкус еще лучше.Включите машину и налейте немного воды в чашку. Это даст вам улучшенную экстракцию кофе, а также теплую чашку, что приведет к лучшему общему вкусу кофе.
Лучший совет!
Очищайте машину от накипи и обслуживайте ее, чтобы обеспечить правильную работу внутренних частей машины. Удаление известкового налета из кофемашины продлит срок ее службы и улучшит вкус кофе. Real Coffee предлагает отличное средство для удаления накипи , разработанное специально для кофемашин Nespresso®.
Nespresso® Pods и окружающая среда: это плохо?
Много было сказано о капсулах Nespresso®, совместимых капсулах и окружающей среде, и нет никаких сомнений в том, что выбрасывать кучу алюминиевых капсул на свалку нехорошо для планеты.
Вот почему мы рекомендуем использовать перерабатываемые пластиковые контейнеры. По сравнению с другими материалами производство совместимых чалд Nespresso® из полиэтилена — пластика, который часто используется для упаковки пищевых продуктов — оказывает меньшее воздействие на окружающую среду и может быть легко переработано.
Просто откройте капсулу через фольгу на дне, затем высыпьте остатки кофе в мусорное ведро для пищевых отходов или в компостную кучу. Затем просто добавьте пустую капсулу в свою домашнюю переработку пластика. Простой!
Стоит подчеркнуть, что использование кофейных капсул в небольшом домашнем хозяйстве или для приготовления одной чашки кофе может быть более экологичной альтернативой приготовлению кофейника из фильтрованного кофе. Это связано с тем, что довольно сложно заварить нужное количество фильтрованного кофе традиционным способом всего на одну чашку.Использование чалд означает, что меньше энергии тратится впустую и меньше кофе выбрасывается.
Настоящий кофе говорит…
Все наши капсулы изготовлены из полиэтилена, что означает, что они полностью пригодны для вторичной переработки. Вы можете узнать больше о Настоящий кофе и окружающей среде на нашей специальной странице. Мы работаем над созданием капсулы, состоящей на 100 % из компостируемого материала, но мы еще не нашли подходящий материал и качество, обеспечивающее 100 % совместимость со всеми кофемашинами Nespresso®.
Преимущества органического кофе
Лучше для себя и окружающей среды .
«Органический», безусловно, является модным словом в наши дни, но на то есть веская причина — органические продукты лучше и для вас, и для окружающей среды. В частности, органический кофе, потому что обычный кофе является одним из наиболее химически обработанных продуктов в мире.
Органический кофе содержит больше антиоксидантов.
Хотя вкус не обязательно лучше, чем у обычного неорганического кофе, при использовании совместимых чалд Nespresso®, наполненных органическим кофе, вы не поглощаете потенциально вредные химические вещества, которые были поглощены зернами в результате использования синтетических добавок или удобрений.Также было обнаружено, что органический кофе богаче антиоксидантами, чем обычный кофе, что может быть только хорошо.
Между тем, органический кофе, как правило, лучше для окружающей среды. Это связано с тем, что не используются химические вещества, которые могут повлиять на местную среду обитания и нанести вред людям, которые живут на кофейных фермах и рядом с ними.
Настоящий кофе говорит…
В настоящее время три сорта Real Coffee сертифицированы как органические: Lungo San Marino, Espresso Bologna и наш единственный источник Sumatra.Лучшая новость? Мы не взимаем дополнительную плату за использование органического кофе — это входит в стандартную комплектацию! Посмотреть их все можно здесь: Органический кофе для Nespresso ®
Преимущества кофе, отмеченного знаком «Справедливая торговля»
Хотя использование кофе, сертифицированного Fairtrade, не оказывает реального влияния на вас или ваши впечатления от кофе, его использование может иметь огромное значение для производителей кофе, которые производят кофе, который вы пьете.
Это связано с тем, что Fairtrade работает над улучшением качества жизни фермеров, выращивающих кофе, обеспечивая им справедливую заработную плату и позволяя их детям посещать школу, одновременно помогая развитию местных сообществ.На вкус он не отличается, но это кофе с добрым сердцем.
Настоящий кофе говорит…
В Real Coffee 80% капсул, совместимых с Nespresso, содержат кофе Fairtrade, и мы работаем над остальными. Как и в случае с нашими органическими сортами кофе , мы не взимаем дополнительную плату за использование кофе , сертифицированного Fairtrade, в наших чалдах Nespresso.
Удаление накипи: уход за кофемашиной Nespresso®
Мы упоминали об этом ранее в статье, но лучший способ позаботиться о вашей машине — это регулярно очищать ее от накипи.
Хорошая новость заключается в том, что это не займет много времени — около 10 минут каждый месяц или около того. Это, безусловно, будет стоить того в долгосрочной перспективе, когда вы без проблем будете использовать кофемашину Nespresso® десять лет спустя.
Обязательно ознакомьтесь с нашим руководством по очистке машины от накипи , где вы найдете всю необходимую информацию об этом важном процессе.
Лучший совет!
Проверьте свою водопроводную воду, чтобы узнать, насколько она жесткая. Чем жестче вода, тем чаще нужно очищать кофемашину Nespresso® от накипи.
Приводит ли использование совместимых капсул Nespresso® к аннулированию гарантии?
Короче – нет. Использование совместимых капсул любой марки не приведет к автоматическому аннулированию гарантии на вашу машину.
Настоящий кофе говорит…
На самом деле, Nespresso® официально заявила, что использование альтернативных капсул в машинах Nespresso® не аннулирует гарантию.
Как перезагрузить компьютер
Чтобы постоянно получать отличный вкус от совместимых капсул Nespresso®, вы должны следить за тем, чтобы количество воды в чашке не было слишком большим или слишком маленьким, иначе вкус может быть слишком слабым или слишком сильным.
Кофемашина Nespresso® по умолчанию будет готовить эспрессо объемом 40 мл и лунго объемом 110 мл.
Настоящий кофе говорит…
Чтобы узнать, как настроить правильное количество воды для широкого спектра кофемашин Nespresso®, ознакомьтесь с нашим полным руководством по программированию размера чашки.
Лучший совет!
Мы рекомендуем размер эспрессо 40 мл с лунго 100 мл (немного короче, чем по умолчанию Nespresso®). Если вы предпочитаете очень крепкий кофе, увеличьте объем эспрессо до 30 мл, а лунго до 80 мл.
Если вы хотите узнать больше о ассортименте качественного кофе Real Coffee, посетите магазин по телефону www.realcoffee.com или напишите нам по телефону [email protected] , если у вас есть какие-либо вопросы. Мы всегда рады помочь.
.




В среднем, в капельной кофеварке кофе готовится около 5 минут.
Невозможно настроить по своему вкусу
Керамика малошумна, а металлические элементы более долговечны.
Оставьте крышку открытой, пока машина нагревается и индикаторы мигают зеленым цветом. Поставьте чашку под дозатор кофе.