Принцип работы аэрогриль: виды, функции, плюсы и минусы
Аэрогриль – принцип работы и правила выбора
Аэрогриль — это многофункциональная кухонная техника. С ее помощью можно: поджарить мясо, выпекать, сушить фрукты и ягоды, разогревать еду и многое другое. При этом еда, приготовленная в аэрогриле, получается вкусной, мясо и рыба сочные, а самое важное сохраняются все полезные вещества в продуктах после приготовления. Сегодня интернет-издание «Выбор мой» рассказывает об аэрогрилях, о пользе продуктов, приготовленных в аэрогриле, и, конечно, о том, как выбирать аэрогриль.
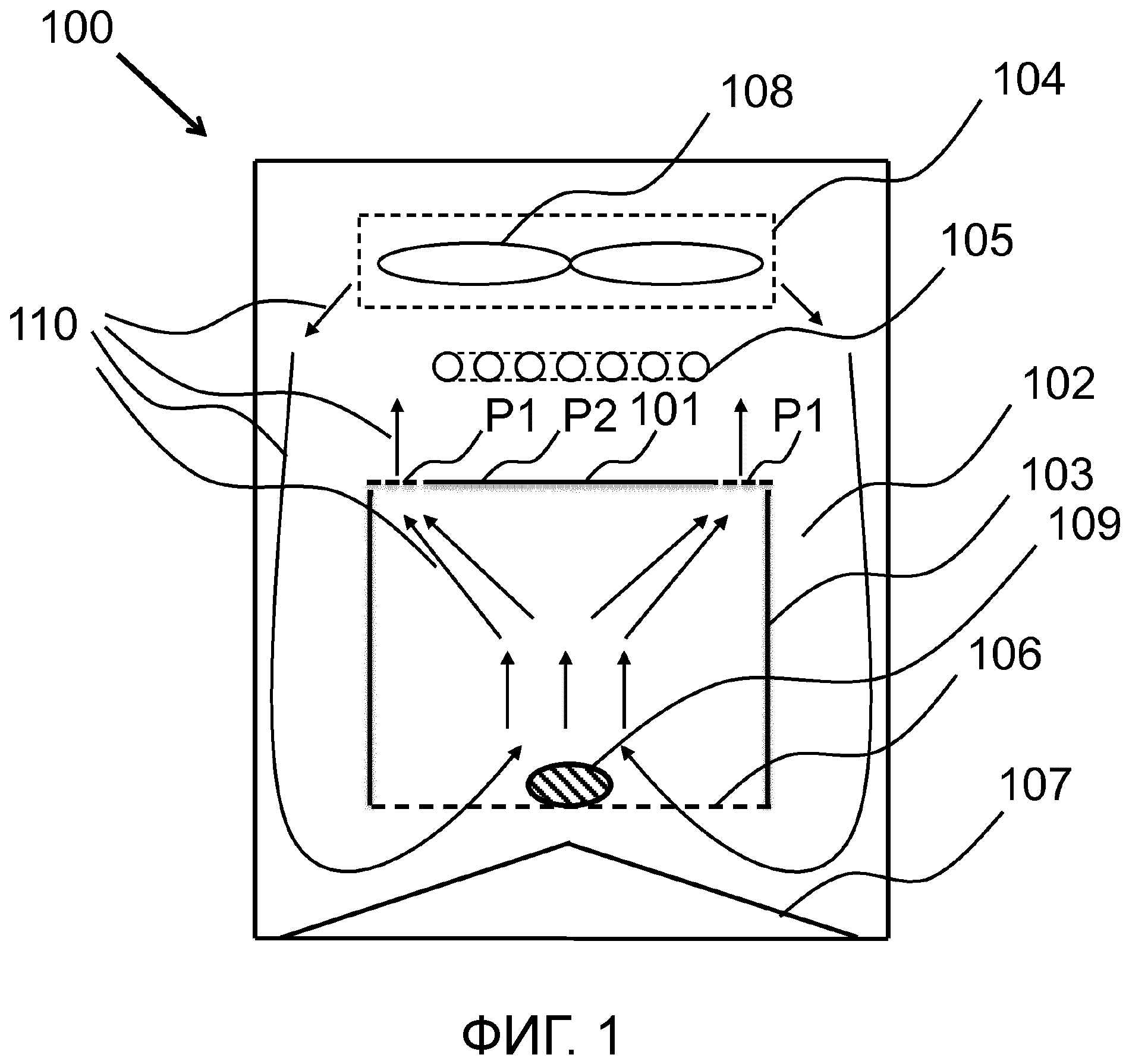
Устройство и принцип работы аэрогриля
Аэрогриль устроен достаточно просто. Он состоит из стеклянной чаши с крышкой, которые устанавливаются на подставку. В крышку вмонтирован трубчатый электронагреватель и вентилятор, а снаружи находится панель управления.
Принцип работы техники такой же понятные, как и его устройство. С помощью вентилятора нагретый ТЭНом воздух разгоняется по стеклянной колбе.
Это дает возможность равномерно распределить теплый воздух, а соответственно, равномерно приготавливать пищу не боясь, что она подгорит. Мало того, что пища не пригорает в аэрогриле таймер, установленный на панели управления, позволяет выставить время приготовления блюда, а человеку заниматься другими важными делами и не беспокоится о готовящейся пище. Рецепты блюд для приготовления в аэрогриле такие же простые, как его устройство и принцип работы.
Если после такого небольшого вступления об аэрогриле вы решили задуматься над вопросом его приобретения, то тогда следующие вопросы, которые будут рассматриваться, помогут сделать правильный выбор.
Правила выбора аэрогриля
Итак, чтобы выбрать аэрогриль, необходимо определиться для скольких людей будет готовиться еда. От этого зависит мощность и объем чаши.
Мощность аэрогриля
Мощность аэрогриля один из главных параметров, который влияет на выбор той или иной модели.
Оптимальная мощность аэрогриля 1200-1300Вт. Более высокая мощность (мощность аэрогриля доходит до 1700Вт) не является положительной характеристикой прибора. Конечно, она сократить время приготовления продуктов, но при этом, увеличит потребления электроэнергии. Последний показатель очень важен для многих семей, потому что оплата квитанций за электроэнергию сильно опустошает карманы простых граждан.
Объем чаши аэрогриля
Это еще один не менее важный показатель при выборе техники, чем мощность. Объем чаши зависит от цели использования аэрогриля. Если в аэрогриле будет готовиться небольшое количество еды, то достаточно приобрести технику с объемом чаши 7-11 литров. Если аэрогриль необходим для приготовления большого количества еды, то чаша должна быть объемом 10-14 литров.
Стоит обратить внимание покупателей на то, что объем часто указывается двумя цифрами.
Расширительное кольцо чаши позволяет увеличивать ее объем на 4 литра. Таким образом, чаша 7 литров, а с кольцом становится объемом 11 литров, а чаша объемом 10 литров при использовании кольца, становится чашей объемом 14 литров.
Существуют аэрогрили компактных размеров, где объем чаши 3 литра и очень большие, где объем чаши становит 18 литров с расширительным кольцом.
Виды нагревательных элементов
От вида нагревательного элемента (дальше ТЭН) зависит срок службы аэрогриля. Различают два основных вида ТЭНов: галогенный и металлический. Галогенный нагревательный элемент изготавливается из стеклокерамики, устанавливается в недорогих моделях с минимальным набором функций. Его преимущество заключается в том, что он нагревается сразу же после включения, что уменьшает время приготовление пищи. Металлический нагревательный элемент надежный и установлен практически во всех моделях аэрогрилей. Единственный недостаток металлического ТЭНа связан с тем, что он медленно разогревается, а это приводит к увеличению время приготовления еды.
Эти два ТЭНа хорошо подходят для аэрогриля, несмотря на то, что написано много негативных статей как о галогенном, так и о металлическом нагревательном элементе. Единственное их различие — срок службы.
Кроме мощности, объема чащи и ТЭНа, на выбор аэрогриля влияет тип управления, скорость обдува и тип крепления крышки.
Тип управления
По типу управления аэрогрили бывают двух видов — механические и электронные.
Механический тип управления простой, понятный и состоит из двух кнопок. Первая кнопка регулирует температурный режим приготовления, а вторая кнопка позволяет настраивать время приготовления блюда. Модели с механическим управлением недорогие и многим хозяйкам не хватает кнопки управления скоростью конвекции.
Электронный тип управления установлен в дорогих моделях. С его помощью регулируется скорость обдува, время и температура приготовления.
Также имеется функция автоматического приготовления и отсрочки приготовления. При этом аэрогриль оборудован информативным дисплеем.
Стоит отметить, что в механическом и электронном типе управления максимально устанавливается один час приготовления, несмотря на то, что во втором типе расчет идет на 24 часа.
Скорость обдува
В моделях аэрогрилей устанавливается три скорости обдува — низкая, средняя и высокая. Низкая скорость конвекции используется для выпечки и сушки фруктов и зелени, а также для приготовления блюд, которые требуют деликатного температурного режима. Высокая скорость конвекции используется для приготовления мяса с хрустящей корочкой, шашлыка и печеной картошки. Для всех остальных достаточно выставлять среднюю скорость обдува.
Существуют модели, в которых скорость обдува регулируется самостоятельно.
Тип крепления крышки
Выбирая аэрогриль, рекомендуют обращать внимание на крышку.
Крышки у аэрогрилей могут быть двух типов — откидной или съемной. Откидная крышка крепится на кронштейн и более удобная в эксплуатации по сравнению со съемной крышкой. Но она требует дополнительное место на кухне в высоту, особенно если используется расширительное кольцо. Съемная крышка не очень удобная в использовании, потому что ее необходимо снимать и ставить на специальную подставку (идет в комплекте), при том, что крышка тяжелая и горячая.
Теперь можно перейди к дополнительным функциям, которыми оснащаются многие модели аэрогрилей.
Функция автоматического разогрева позволяет при помощи нажатия одной кнопки разогреть еду. В ней уже заранее забиты параметры температурного режима, время разогрева и уровень обдува.
Таймер отсрочки, что позволяет подать горячую еду к приходу гостей или мужа. Он позволяет заранее приготовить блюда, а потом заняться другими делами (накрыть стол, привести себя в порядок), а потом в назначенное время поставить их на стол.
При этом в указанное время аэрогриль включится для разогрева.
Функция самоочистки присутствует в большинстве моделей. Но не во всех ситуациях она помогает и в этом случае приходится вручную мыть емкость. Но в такой ситуации стоит подумать о весе емкости. Колбы в аэрогрилях очень тяжелые и их легко разбить.
Полезны ли блюда, приготовленные в аэрогриле
Почему необходимо приобрести аэрогриль? Потому что блюда в них получаются полезными для здоровья человека. Люди, которые следят за своим здоровьем, уже давно имеют в своем арсенале эту технику. Судите сами:
1. При приготовлении мяса, рыбы и курицы в аэрогриле весь лишний жир топится. В результате он скапливается на дне колбы и еда не пригорает. Количество жира в продуктах уменьшается в два раза.
2. Жарить продукты в аэрогриле можно без использования масла. При этом блюдо получается без жира, с минимальным количеством калорий, с хрустящей корочкой, а главное полезное.
3. Когда мясо или рыба жариться на масле или скапливаются жиры на дне колбы, то продукт не соприкасается с горячими жирами, а это означает, что в организм не попадут канцерогенный вещества.
4. В аэрогриле применяются все способы приготовления вкусной и здоровой пищи, т.е тушение, запекание, томление в горшочке и гриль. Поэтому в приборе готовятся диетические блюда, например тушеная рыба или овощи, печеные яблоки и многое другое.
5. Продукты после приготовления в аэрогрили сохраняют свои полезные вещества, в т.ч витамины.
6. Блюда, приготовленные в аэрогриле, легче усваиваются организмом.
А самое главное, используя аэрогриль каждый день можно готовить разные блюда, в том числе любимыми всей семьей.
Необходимая комплектация аэрогриля
Для полноценного использования аэрогриля и получения полезной еды производители укомплектовывают прибор дополнительными принадлежностями.
К ним относят: решетки, противень, шампура, щипцы-ухваты, пароварка и насадки.
В комплекте представлено три вида решеток — нижняя, средняя и высокая. Нижняя решетка больше предназначена для варки яиц, тем более имеет соответствующие отверстия для них, а также для тушения мяса и горшочков. Средняя решетка называется еще универсальной, на ней готовят все основные блюда. Верхняя решетка используется для приготовления бутербродов, гренок, пиццы.
Аэрогриль в комплекте противинь. Он имеет высокие бортики и много маленьких отверстий. Основное его предназначение сушка зелени, фруктов, грибов и сухариков. Противень также используется для запекания блюд в фольге и выпечки.
Пароварка в аэрогриле представляет собой сковородку с дырочками. Она предназначена для приготовления разных диетических блюд.
В комплекте идет 4-6 шампуров, с помощью которых можно приготовить шашлык из мяса или птицы, рыбу и даже овощи.
Специальная насадка позволяет в домашних условиях готовить курицу-гриль. Ставится насадка вертикально, а это позволяет равномерно приготовить птицу.
Щипцы-ухватки, изготовленные из прочной стальной проволоки позволяют доставать горячие овощи, фрукты и другие продукты с аэрогриля, а также менять решетки в нем.
Правила ухода за аэрогрилем
Это один из важных вопросов, при правильном решении, которого аэрогриль прослужит долго и без поломок.
Первое, что не стоит забывать делать после окончания приготовления — вытягивать шнур из сети и снимать крышку. Для горячей крышки используется специальная подставка, которая идет в комплекте. Если крышку класть прямо на стол, то останутся следы. Горячая крышка не моется под водой.
Во-вторых, мыть аэрогриль стоит с использованием функции самоочистки. Для этого в колбу наливается горячая вода (близко половины объема колбы), добавляется немного жидкости для мытья посуды, накрывается крышкой и включается в сеть.
Режим самоочистки: время 10 минут, температура 80 градусов, скорость высокая. Когда процесс завершиться под проточной водой ополаскивается колба, а крышка протирается мягкой тряпочкой. Если загрязнились комплектующие (шампура, решетки и т.д), их кладут внутрь колбы для мытья.
Для тех, у кого не предусмотрена в аэрогриле функция самоочистки можно использовать посудомоечную машинку. При этом колбу стоит вытянуть из корпуса. Запрещено мыть в посудомоечной машинке и опускать в любую жидкость крышку.
Еще один способ мытья колбы и крышки заключается в использовании губки и средства для мытья посуды. Капнув немного средства на мочалку, протирается колба и крышка. Решетку вентилятора также можно протирать. Для этого ее откручивают и моют с помощью жесткой мочалки и специального средства для мытья аэрогриля. Перед тем, как ее обратно прикрутить она должна хорошо просохнуть.
Комплектующие насадки моются обычным способом.
Панель управления и корпус аэрогриля достаточно протирать мягкой или слегка влажной тряпочкой.
Аэрогриль прекрасная кухонная техника, которая позволяет готовить вкусную и полезную еду и тратить совсем немного времени на ее приготовление.
Интернет-издание «Выбор мой«
Аэрогриль: что это такое, принцип работы и виды приготовляемой пищи
У опытной хозяйки всегда есть свои фирменные блюда, которыми она рада побаловать гостей за обеденным столом. Ее незаменимым помощником на кухне является аэрогриль. Что это за прибор, как он работает и какие продукты в нем можно готовить? Давайте подробнее рассмотрим эти вопросы.
Что такое аэрогриль.
С древности люди готовили пищу на огне. Очаги, печи и газовые плиты использовал человек, чтобы обеспечить свое питание. Аэрогриль – современное изобретение, сравнительно недавно появившееся на наших кухнях.
Он создан всего лишь в середине 80-х годов прошлого века в США и первоначально назывался «конвекционной печью». По-английски «аэрогриль» означает решетку радиатора в двигателе автомобиля. Когда в 90-х годах конвекционная печь появилась в России, ее стали называть аэрогрилем.
Отличительные особенности – минимальное количество использующихся жиров, высокие скорость и качество приготовления пищи. В комплектацию аэрогриля обычно входят несколько предметов. Решетки служат, в частности, для приготовления мяса. Как правило, их бывает три штуки, различных по высоте. Противень-сетка необходим для приготовления пищи на пару и во фритюре, а также для сушки. Имеются шампуры для шашлыков и вертел для приготовления птицы. Для извлечения продуктов, посуды и решеток используются специальные щипцы-ухваты. И наконец, для регулирования объема емкости предназначено кольцо-увеличитель.
По принципу работы управление аэрогрилями делится на электронное и механическое. Устройства с электронным управлением имеют несколько скоростей работы и различные дополнительные функции.
Аэрогриль с механическим управлением, естественно, дешевле и имеет один режим работы.
Принцип работы аэрогриля.
В основе аэрогриля – электрическая печь, подогревающая пищу не снизу, а сверху. Это устройство представляет собой находящуюся на пластиковой подставке круглую стеклянную емкость, в которую помещаются продукты для приготовления. Она накрывается крышкой с электрическим нагревателем. Вентилятор, работающий в нагревателе, прогоняет горячий воздух внутри емкости. Эти вихревые потоки и прогревают готовящуюся пищу. Температура внутри аэрогриля может достигать 260 градусов. Ее можно регулировать при помощи термостата.
Пища в аэрогриле готовится практически без использования масел. Для приготовления пищи можно использовать практически любую посуду. Если вы запекаете на решетке мясо, то лишний жир стекает на поддон емкости. В аэрогриле можно одновременно готовить несколько блюд. Поскольку емкость для приготовления пищи прозрачная, можно следить за готовкой со стороны.
При покупке обратите особое внимание на крепление крышки. Прикрепленная к корпусу откидывающаяся крышка гораздо удобнее полностью съемной. Скоростных режимов у аэрогриля должно быть не меньше трех. Объем емкости подбирайте наиболее подходящий для вашей кухни. Его вы можете увеличить особым кольцом, но тогда и время готовки увеличится почти в полтора раза. Величина емкости имеет большое значение, потому что моется аэрогриль вручную. Важно, чтобы в аэрогриле стабилизировалось напряжение. Во избежание пожара аэрогриль необходимо держать на огнеупорной подставке. Перед эксплуатацией его нужно разогреть, а после – дать время остыть.
Что можно приготовить в аэрогриле.
Фактически аэрогриль является универсальным устройством для приготовления любых видов горячей пищи. В нем вы можете готовить супы, борщи и прочие первые блюда. Не проблема сварить любую кашу, запечь картофель в горшочках, приготовить оригинальную пиццу. В аэрогриле прекрасно жарятся шашлыки, котлеты, овощи, рыба.
Вы можете испытать свои кулинарные способности и выпечь пироги, булочки и просто ароматный домашний хлеб. Холодное и горячее копчение, сушка на зиму грибов, ягод, фруктов и овощей также под силу аэрогрилю. Самый изысканный вкус ваших гостей будет удовлетворен полностью.
Функции аэрогриля.
Аэрогриль обладает множеством необходимых функций. Варка в абсолютно любой посуде, жарка мяса и рыбы без использования масла – это лишь малая часть того, на что способен этот волшебный прибор. Он может тушить, варить и запекать овощи, творить выпечку из всех видов теста. Готовка во фритюре и на пару, а также приготовление домашнего творога и питательного йогурта – все это способен играючи выполнить аэрогриль. Без него не обойтись при летних заготовках – при консервировании и мариновании. Вы можете варить в аэрогриле варенье и готовить глинтвейн, поднимать тесто, размораживать продукты и подогревать готовую пищу. И это еще не предел! В новых моделях аэрогрилей, выпускающихся с учетом всех современных требований, имеются дополнительные функции.
Статья подготовлена при поддержке компании KIV.KZ. Мы надеемся, что агрегаты нового поколения приятно удивят даже самых опытных хозяек.
что это такое, как выбрать, что можно готовить. Как с помощью аэрогриля приготовить еду, какой принцип его работы
На сегодняшний день, каждая хозяйка может приготовить любое блюдо, используя для этого разные приборы. Это может быть как микроволновка, мульти варка, пароварка или же совсем новый и интересный прибор – аэрогриль. Что же это, на самом деле, такое? Аэрогриль – это очень полезный прибор, на котором можно приготовить вкусную еду, не используя при этом масло. Работает такой прибор от электрической сети.
Аэрогриль очень легко может заменить на кухне микроволновку, мульти варку, духовку и даже обычную, газовую печь. Он очень удобен и способен готовить пищу самостоятельно, когда вы занимаетесь своими делами. Он так же очень компактный прибор, который способен приготовить или обработать пищу с помощью нагретого, вращающегося воздуха.
Для чего нужен аэрогриль? В первую очередь для приготовления и разогрева пищи, а так же, для термической обработки продуктов. В нем можно готовить сразу два разных блюда – это очень удобно и экономически выгодно.
Домашний аэрогриль состоит из прозрачной, стеклянной колбы и крышки, в которой находится вентилятор и нагревательный элемент (ТЭН). На крышке расположена и панель управления, с помощью которой можно задавать любые программы приготовления. Бывают аэрогрили простые и многофункциональные. Простые модели могут выполнять только несколько основных функций, а вот многофункциональные – имеют большие возможности. С помощью них можно приготовить очень сложные и необычные блюда. Однако такие приборы достаточно дорогостоящие, чем простые модели.
Большое разнообразие функций более дорогих приборов:
- Размораживание;
- Томление;
- Жарка;
- Выпечка;
- Сушка;
- Стерилизация;
- Копчение;
- Гриль;
- Промывание.

С помощью дорогостоящих моделей можно закоптить любое мясо, высушить разные фрукты, грибы, ягоды, а так же сквасить молоко. А вот с помощью более дешевых моделей можно сварить суп или борщ, пожарить или запечь мясо, выпекать разные пироги и булочки.
Маленький аэрогриль: его преимущества
Аэрогриль для дома – это очень удобное и полезное приобретение. Сам прибор, в отличие от других, занимает совсем не много места, он очень компактный и красивый. А вот польза от него очень большая. Особенно для тех людей, которые питаются правильной и здоровой пищей. Разделяют аэрогрили на маленькие, большие и средние, в зависимости от объема колбы.
Аэрогриль маленький имеет объем колбы 8-12л. Он очень компактный и удобный для одного человека, так как приготовить в нем можно маленькие объемы пищи.
Маленький прибор очень легкий, его без лишнего затруднения можно перенести или взять с собой на дачу, отдых. Так же его легко разобрать и собрать, при этом очень удобно ухаживать.
Однако все аэрогрили, не зависимо от его размера, имеют много положительных качеств.
Преимущества всех аэрогрилей:
- Многофункционален;
- В процесс приготовления не используется масло, жир или маргарин;
- Пища сохраняет все свои полезные качества;
- Можно готовить одновременно несколько разных блюд;
- Компактен;
- Прибор способен стерилизовать банки;
- Температура его колеблется от 60 до 260 градусов;
- Существует режим длительного прогрева;
- Готовить пищу можно в любой посуде.
Недостатками аэрогриля являются: необычный вкус приготовленной пищи, способность колбы нагреваться, что очень не безопасно. А так же такой прибор потребляет много электроэнергии и является не экономным.
Советы эксперта, по выбору аэрогриля, могут помочь в выборе нужного вам прибора, правильно. Для начала, нужно сделать небольшой обзор всех моделей и выяснить какие технические характеристики вас больше всего устраивают.
Как выбрать аэрогриль, чтобы он смог радовать своей работой долгое время? Для начала, нужно выяснить все преимущества и недостатки той или иной модели.
Затем, определится с назначением прибора, для чего именно приобретается прибор. Нужен ли вам многофункциональный и дорогой прибор или же можно будет обойтись боле дешевой, простой моделью.
Обязательно нужно проверить, чтобы к основному прибору прилагались дополнительные аксессуары: решетки – должно быть 2-3 шт.; шампура, для приготовления шашлыков; противень для выпечки; щипцы, ими можно брать горячее; приспособление для сушки; еще расширительное кольцо, их может быть, как одно, так и несколько. Так же для удобства – электрический шнур должен быть съемным. Со съемным шнуром будет проще и удобнее хранить прибор, не повредив его. Выбрать прибор – это не такая уж и сложная задача, главное чтобы он соответствовал определенным параметрам.
Выбираем прибор, обращая внимание на некоторые основные параметры:
- Нагреватель. Он может быть металлическим или стеклянным, но лучше выбрать первый вариант. Так как он более надежный и срок службы его может составить 10 лет.

- Крышка может быть съемной или же крепиться на кронштейнах.
- Объем.
- Тип управления. Различают: механическое и электронное.
- Мощность. Мощность приборов колеблется от 1000 Вт и до 1700 Вт.
Лучше всего остановить свой выбор на приборе, который имеет мощность 1300 Вт. Такой аэрогриль не будет пересушивать пищу, а само главное, будет экономить электричество. Так же нужно учесть при выборе и наличие таймера. С помощью него можно задавать нужное время приготовления пищи. И еще, обратите свое внимание на вентилятор, он должен работать с разными скоростями обдува. Учитывая все это, остановите свой выбор на электронной модели.
Какой фирмы аэрогриль лучше: популярные модели
Многие производители выпускают разные модели аэрогрилей. Некоторые из них очень просты в использовании и пригодны для повседневного применения, а другие – более сложные и дорогие модели, отличаются наличием многих функций и дополнительных аксессуаров.
Аэрогриль, какой фирмы лучше купить? Существует много разных фирм, которые занимаются выпуском аэрогрилей.
Самыми известными из них являются: SUPRA, Polaris, Smile, VES, Hotter.
Каждая фирма имеет свои наилучшие, качественные и надежные экземпляры. Некоторые из аэрогрилей стоят очень дорого, другие же более дешевые модели, которые пользуются большим спросом у многих покупателей. Купить можно любую из них. Но лучше всего выбирать прибор той фирмы, который вам больше всего понравилась по качеству и цене.
Лучшие фирмы по выпуску не дорогих аэрогрилей:
- Первое место занимает – SUPRA AGS-1101. Эта модель очень удобная и простая, с многими функциями.
- Второе место можно отдать – UNIT UCO 2500. Такая модель имеет наличие таймера и функцию самоочистки.
- Третье место – REDMOND RAG – 240.
Все эти модели очень хороши, они очень удобны и практичны, имеют некоторые дополнительные функции. А так же их цена многих покупателей порадует, она является доступной для основных масс (бюджетная модель).
Рейтинг аэрогрилей
Разобравшись с тем, какой аэрогриль вам нужен и для чего, приступаем к выбору.
Выбранная модель должна отличаться необходимыми функциями и мощностью. От мощности прибора будет зависеть время приготовления. Самыми мощными из них являются аэрогрили известной фирмы «Винис». Мощность таких приборов составляет 1700 Вт, поэтому пища готовиться за очень короткое время.
Приборы фирмы Hotter отличаются отличным качеством и надежным ТЭНом. Эти приборы нагреваются очень быстро, а так же работать могут даже при малом напряжении электричества.
- SUPRA AGS-1221;
- Polaris PAG 1207;
- VES SK-A;
- Smile AG 1906;
- Hotter HX-1097 Tiger.
У всех этих моделей отличные отзывы. Отличаются они только своей стоимостью и некоторыми техническими характеристиками. Но все они помогут вам на кухне в приготовлении ваших любимых блюд.
Как работает аэрогриль (видео)
Домашний аэрогриль очень полезен, так как с помощью него можно приготовить не просто еду, а здоровую и полезную пищу для организма. Существует много разных видов, но все они красивы и удобны, а так же подойдут под любой дизайн кухни.
Разные бытовые приборы, призванные облегчить выполнение домашних дел, порой оказываются незаменимыми Особенно, если речь идет о приготовлении пищи. Сегодня практически на любой кухне можно встретить множество электронных помощников.
И одним из наиболее недооцененных среди них на сегодняшний день является аэрогриль. Разобраться, стоит ли покупать аэрогриль, мы и предлагаем в этой статье.
Что такое аэрогриль?
Аэрогриль представляет собой кухонный агрегат, в основе работы которого лежит движение потоков горячего воздуха. Состоит он из стеклянной емкости, пластиковых ножек-подставок, а также крышки с расположенными в ней нагревательным элементом и вентилятором.
Принцип работы аэрогриля предельно прост — нагревательный элемент повышает температуру находящегося внутри устройства воздуха, а вентилятор обеспечивает непрерывную его циркуляцию. В итоге пища прогревается быстро и равномерно.
Зачем нужен аэрогриль?
Чтобы понять, для чего нужен аэрогриль, следует разобраться в его основных возможностях.
А они достаточно широки.
Аэрогриль способен заменить собой самые разные бытовые приборы, включая духовку, плиту, шашлычницу, гриль, и не только. Следовательно, и приготовить с его помощью можно практически все, что только угодно — сварить суп, пожарить мясо, испечь пирог, сделать горячие бутерброды и даже варенье.
Более того, современные аэрогрили даже позволяют готовить мясо, рыбу, сыры как горячего, так и холодного копчения. В аэрогриле можно выполнять стерилизацию банок под консервирование, сушку грибов, ягод и фруктов.
Вот почему ответ на вопрос, стоит ли покупать аэрогриль, обычно положительный.
Плюсы аэрогриля
Многофункциональность — это основное преимущество данного устройства, но далеко не единственное. Если вы думаете, покупать ли аэрогриль, то обратите внимание и на следующие его достоинства:
- Аэрогриль отличается высокой скоростью приготовления пищи.
- Устройство позволяет готовить несколько блюда одновременно.
- В аэрогриле пища готовится без масла, а потому подходит для диетического питания.

- Данный агрегат вытапливает из мясных и рыбных продуктов жир, сокращая тем самым их калорийность и уменьшая количество содержащегося в них холестерина.
- Во время приготовления пищи на аэрогриле не выделяются дым и гарь, а потому нет потребности в .
- При использовании этого прибора не остается следов жира и масла, разбрызганных по кухне.
- Благодаря своим небольшим размерам аэрогриль занимает совсем немного места на кухонном столе.
- Отсутствуют ограничения на материал посуды — аэрогриль позволяет готовить пищу даже в деревянных и металлических емкостях.
- Устройство совершенно прозрачное, а потому можно в свое удовольствие наблюдать за тем, как поджаривается курочка, к примеру.
Минусы аэрогриля
Если вы размышляете над тем, покупать вам аэрогриль или нет, то его недостатки вы также должны иметь в виду:
- В аэрогриле недостаточно продумана варка на пару.
- Стеклянная колба агрегата сильно нагревается, что можно быть опасным.
Особенно, если в доме есть маленькие дети. - Иногда приходится потратить время и силы, чтобы тщательно отмыть разделительные решетки аэрогриля.
Как выбрать аэрогриль
Если вы все-таки на вопрос, нужен ли аэрогриль, ответили утвердительно, то сайт sympaty.nеt при его выборе рекомендует обращать внимание на следующие моменты:
- Тип управления. Аэрогрили бывают механическими и электронными. Первые имеют только одну скорость работы вентилятора, а потому и стоят дешевле. Электронные аэрогрили отличаются большим количеством скоростей и режимов работы.
- Объем. В продаже можно найти аэрогрили с чашами объемом от 7 до 17 лит-ров. Конструкция некоторых агрегатов позволяет этот объем менять.
- Вид крепления крышки. Аэрогрили могут быть как со съемной крышкой, так и с крышкой на кронштейне. Лучше отдавать предпочтение второму варианту, который является более удобным и безопасным.
Наверняка многие слышали о таком устройстве, как аэрогриль.
Еак он может пригодиться в хозяйстве и что это вообще такое? На самом деле аэрогриль (или, как его еще называют, конвекционная печь) – очень полезная вещь на кухне. Этот электроприбор создан для обработки и приготовления пищи потоками нагретого воздуха.
Изобретены аэрогрили в середине восьмидесятых годов прошлого века в США. Ну а в девяностых они появились и на нашем рынке. И именно тогда за ними закрепилось красивое слово «аэрогриль».
Устройство и комплектация
Современный аэрогриль представляет собой прозрачную чашу либо колбу с подставкой и с крышкой, которая накрывает всю конструкцию сверху. Внутри крышки находится ТЭН (трубчатый электронагреватель) и вентилятор, а снаружи располагается панель управления.
В некоторых бюджетных моделях вместо ТЭНов используются галогенные нагревающие элементы. Стекло чаши при использовании галогенов практически не подвержено окислению и коррозии, и это явный плюс. Однако при этом галогенные нагреватели имеют скромный рабочий ресурс и не слишком большой срок эксплуатации.
Обычно он составляет 3 года. У металлических ТЭНов, к слову, этот показатель значительно больше — 8-10 лет.
В комплектацию аэрогриля, помимо перечисленных выше элементов, обычно входят решетки для приготовления мяса. Как правило, их здесь три, и они отличаются между собой по высоте. Нередко в комплекте можно увидеть и специальный сетчатый противень, который может понадобиться для приготовления еды на пару и во фритюре, а также для сушки. Большинство недорогих моделей, плюс ко всему, комплектуются металлическим кольцом – оно устанавливается поверх чаши и служит для увеличения и регулировки ее объема.
Принцип работы и разновидности
Принцип работы аэрогриля состоит в следующем: ТЭН нагревается до нужной температуры, затем под воздействием вентиляторов разнонаправленный горячий воздух поступает в чашу, равномерно обдувает пищу и качественно прогревает ее. В результате можно пропечь, зажарить, потушить, сварить находящееся в аэрогриле блюдо. Кстати, температура нагрева воздуха варьируется тут в диапазоне от +60 до +260 градусов.
Аэрогрили могут обладать одним из двух типов управления:
- механическое;
- электронное.
Модели с механическим управлением достаточно просты — они имеют только один рабочий режим. Вообще этот вариант постепенно уходит в прошлое, но у него есть одно очевидное преимущество: цена на аэрогрили с таким управлением достаточно низкая.
Устройства с электронным управлением обладают несколькими скоростями и режимами работы, а также различными дополнительными функциями. Например, современные аэрогрили снабжены таймерами, и поэтому присутствие и постоянный контроль человека не обязателен. Прибор автоматически выключится в нужное время.
Многие электронные аэрогрили имеют функцию «Поддержание температуры». Она позволяет после самого процесса готовки продолжать томить блюдо в горячем воздухе.
Другая полезная функция – «Самоочистка». Чаши современных аэрогрилей изготавливаются из небьющегося жаропрочного стекла, поэтому они довольно тяжелые и ухаживать за ними совсем не легко.
Функция самоочистки все предельно упрощает: нужно лишь налить воду с моющим средством внутрь аэрогриля и нажать на кнопку.
Наличие функции регулировки высотности тоже станет приятным бонусом для покупателей. Данная функция позволяет располагать блюда выше или ниже по отношению к нагревательному элементу.
Достоинства
Аэрогриль способен заменить другие приборы, например, микроволновую печь, тостер, электрическую плитку, пароварку. Это очень весомый аргумент в пользу его приобретения для тех, кто еще сомневается, нужен или нет данный прибор на кухне.
- Достоинством аэрогриля является то, что на нем можно готовить без масла, маргарина и жира — к чаше абсолютно ничего не прилипнет.
- В аэрогриле можно готовить несколько блюд единовременно, и это выгодно отличает ее от похожего прибора — мультиварки.
- Поскольку емкость для готовки пищи прозрачная, то за всем процессом можно наблюдать со стороны.
- Аэрогриль позволяет варить или разогревать еду в абсолютно любой посуде
Как выбрать хорошую модель?
Прежде всего покупатель должен узнать о функциях прибора.
И не всегда следует выбирать самый «навороченный» аэрогриль. Зачем он нужен, если его предполагается использовать только для определенных целей? Большое количество функций во многих ситуациях представляется излишним.
Также стоит посмотреть на предлагаемую комплектацию. Хорошо, если в комплекте будут щипцы для замены и захвата уже готовых блюд. Наличие вертела для курицы и шампуров тоже является значимым преимуществом.
Другой важный момент – лучше выбирать модели со съемным шнуром. Это облегчит как мытье, так и хранение прибора. А вот съемная крышка на аэрогриле – это не очень удобно. В процессе готовки наверняка придется искать место, куда ее, очень горячую, положить. Прикрепленная к корпусу кронштейном крышка гораздо практичнее – она будет всегда на своем месте. И обязательно стоит посмотреть на место ее примыкания к корпусу. Крепления должны быть металлическими, а не пластиковыми, так как крышка имеет солидный вес.
По возможности выбирайте модель аэрогриля со съемной защитной решеткой (она призвана защищать нагревательные элементы).
Разумеется, эта решетка довольно быстро засоряется, и если она будет съемной, за ней будет куда проще ухаживать. Достаточно открутить болты, вынуть ее, вымыть и поставить на место.
Что можно приготовить в аэрогриле?
- В аэрогриле можно варить борщи, супы и другие первые блюда. Здесь же, например, можно сделать вкусную кашу, запечь картошку в горшочках, приготовить пиццу.
- Размораживать различные продукты и подогревать уже готовые блюда тоже вполне реально в аэрогриле.
- В аэрогриле можно варить, тушить и запекать овощи.
- В приготовлении домашнего йогурта и творога верным помощником для домохозяйки обязательно станет рассматриваемый прибор.
- Не обойтись без конвекционной печи и при создании заготовок на зиму – при мариновании и консервировании, а также сушке на зиму грибов, фруктов, ягод и овощей.
- Для процессов горячего копчения, для готовки во фритюре и на пару тоже актуально использовать эту машину.
- Желающие проверить свои кулинарные способности могут выпечь в аэрогриле пирожки, булочки или, например, домашний ароматный хлеб.
Важно и то, что можно готовить выпечку практически из любого типа теста без каких-либо проблем. - В аэрогриле великолепно жарятся мясо и рыба, причем без использования подсолнечного масла. Хотите приготовить рыбное филе или куриные котлеты? Нет проблем! Пожарить шашлык аэрогрилю тоже вполне под силу.
- Помимо всего прочего, с использованием данной техники можно, допустим, варить варенье и готовить глинтвейн.
Итак, аэрогриль, без сомнения, облегчит процесс готовки и займет достойное место на кухне. И многие потребители уже на практике убедились, что это такое устройство, которое способно заменить сразу несколько других сходных по функциям бытовых приборов. То есть покупка аэрогриля – экономичный и разумный выбор.
Счастливые обладательницы аэрогриля называют его настоящим чудом техники. Многочисленные хвалебные отзывы покупателей — это не преувеличение. Этот тип устройств совмещает функции многих видов кухонной бытовой техники и может приготовить практически любое блюдо.
Чтобы покупка полностью оправдала себя, давайте разберемся, аэрогриль какой фирмы лучше купить и на какие параметры обратить внимание при выборе.
Что такое аэрогриль — функции и возможности
Конструкция всех аэрогрилей похожа. Они состоят из корпуса, нагревательного элемента, вентилятора, чаши и крышки с сенсорной панелью управления. Помимо этого каждая модель имеет определенную комплектацию – дополнительные устройства для приготовления кулинарных шедевров.
Принцип работы аэрогриля основан на конвекционном методе, когда продукты в процессе приготовления обрабатываются горячим воздухом. Первая модель такого устройства появилась в середине 80-ых годов прошлого века в США. Производители техники анонсировали его, как многофункциональное устройство для применения еды на пикниках и даче. На протяжении 30 лет аэрогрили постоянно совершенствовались и приобретали новые возможности.
Сегодня даже самая простая модель позволяет приготовить курицу, сварить первое блюдо, яйца, запечь мясо, рыбу и овощи.
В более продвинутых моделях можно сушить грибы, орехи, готовить выпечку и даже стерилизовать банки для зимних заготовок. Бывают предусмотрены функция копчения рыбы, топления и приготовления на пару.
Аэрогриль считается «чистой» кухонной техникой, поскольку в процессе эксплуатации в воздух не попадают дым и другие загрязняющие вещества, на мебели не остается жирных следов. Готовые продукты сохраняют полезные вещества и не накапливают канцерогены.
Основные характеристики аэрогрилей
Учитывая, что аэрогриль заменяет собой до десяти кухонных устройств, он имеет большое количество характеристик и функциональных возможностей. Все их нужно учесть, чтобы сделать обоснованный, грамотный выбор.
Конструкция
Чаша аэрогриля по форме напоминает кастрюлю. Её стандартная ширина — 30 см. В зависимости от интенсивности эксплуатации и количества человек в семье можно подобрать устройство с разным объёмом:
- небольшая чаша – от 8 до 10 литров
- средняя чаша – от 10 до 12 литров
- большая чаша – от 12 до 16 литров
чаша аэрогриля с решётками для размещения продуктов
В некоторых моделях предусмотрены специальные кольца, увеличивающие вместимость.
Оптимальным выбором будут устройства с объёмом чаши не менее 10 литров. Менее вместительные модели могут периодически доставлять неудобства при размещении в них продуктов для приготовления.
Тип управления
В аэрогрилях используются два типа управления — механическое и электронное. Какой выбрать — вопрос вашего удобства и бюджета.
- Механическое управление осуществляется с помощью традиционных кнопок, расположенных на крышке. Возможности таких аэрогрилей ограничены, потому обычно они выпускаются в недорогом сегменте. Функционал, которым они снабжены, позволяет жарить, запекать и размораживать продукты в посуде из металла или фарфора.
- Модели с электронным управлением можно опознать по сенсорным органам управления и дисплею. Они выпускаются в более дорогом сегменте и предоставляют более широкие возможности задания режимов готовки.
Функционал
Качественный аэрогриль, который действительно заменит в кухне традиционную бытовую технику, должен иметь следующие функции:
- Регулятор температуры, который позволит корректировать температурный режим в процессе приготовления блюда.

- Датчик температуры, который автоматически отключит оборудование в случае перегрева.
- Режим поддержания температуры позволит приготовленному блюду оставаться тёплым на протяжении заданного периода времени.
- Функция самоочистки упрощает очищение чаши. При её использовании в колбу наливают горячую воду, моющее средство и запускают режим. По завершении достаточно просто сполоснуть чашу чистой водой.
- Отсрочка старта позволяет выставить точное время, когда аэрогриль должен начать работу. В устройствах с механическим управлением возможна отсрочка не более чем на 60 минут.
- Регулировка скорости движения тепловых потоков позволяет изменять скорость обдува продуктов.
Желательно, чтобы аэрогриль имел функции регулировки температуры, датчик температуры и режим её поддержания. Эти функции действительно полезны. Наличие остальных из указанных функций менее критично.
Мощность
Обычно мощность аэрогрилей находится в диапазоне от 800 до 1700 Вт.
Более мощная модель приготовит еду быстрее, но выбирая такой аппарат убедитесь, что проводка в квартире выдержит эту нагрузку.
Мощность порядка 800 Вт подходит для моделей с маленьким размером чаши. При выборе устройства среднего и большого размера желательно, чтобы его мощность была не менее 1000-1200 Вт, чтобы готовка занимала меньшее время.
Нагревательный элемент
В аэрогриле используются нагревательные элементы (ТЭН) двух видов:
- галогеновый – отличается быстрым нагревом и большей стойкостью к воздействию агрессивных сред, но более хрупок.
- металлический – более прочный, но нагревается медленнее. По отзывам, считаются более надёжными.
Трубчатый водонагреватель или ТЭН – один из наиболее ответственных узлов аэрогриля. Именно поэтому к его качеству предъявляют повышенные требования. Галогеновый ТЭН может выйти из строя в среднем через 1,5-2 года. Срок эксплуатации металлических составляет до 10 лет.
Стоимость аэрогриля с металлическим ТЭНом выше, но финансовые затраты оправданы и окупаются за долгие годы использования.
Что ещё нужно учитывать при выборе
Эксперты советуют при выборе аэрогриля также обращать внимание на следующие моменты:
- Комплектация
.Многие модели дополнительно имеют полезные приспособления, упрощающие процесс приготовления:- решётки
- шампура
- насадка для пиццы
- подставка для крышки
- расширительное кольцо, с помощью которого увеличивается объем чаши
- Конструкция крышки
. В аэрогрилях она бывает двух видов – съёмная и на кронштейне. Выбор конкретной модификации, прежде всего, зависит от места хранения. Если свободного пространства в кухне не так много, лучше приобрести устройство со съёмной крышкой — такой аппарат будет более компактным. Вариант с несъёмной крышкой занимает больше места, но в работе он более комфортен, поскольку в любой момент можно открыть крышку и обе руки останутся свободными.
- Размеры устройства
. Для аэрогрилей найдены оптимальные параметры, которые позволяют готовить оптимальный объем пищи и найти место для хранения устройства на кухне. Стандартные размеры:- ширина – 30 см
- длина – 45 см
- высота – от 30 до 60 см
- Материал колбы
. В большинстве моделей колба стеклянная – это удобно, поскольку можно наблюдать за процессом приготовления.
Стекло обязательно должно быть жаропрочным, в противном случае материал не выдержит высоких температур и лопнет.
Защитная решётка
. Во время работы ТЭН защищает специальная решётка. Также она регулирует подачу нагретого воздуха к блюду и исключает прямой контакт нагревательного устройства с продуктами. При том, что это важный элемент конструкции, его обычно обделяют вниманием при выборе аэрогриля.
Лучшим выбором будет модель с металлической решёткой, которую можно снять и почистить. Не стоит покупать аэрогриль с проволочной решёткой, поскольку в процессе эксплуатации она может заржаветь, и решёткой, защищённой антипригарным тефлоновым покрытием, которое при нагревании может выделять опасные вещества.
Внимательно рассчитывайте необходимую мощность аэрогриля. Если вы не планируете использовать функцию гриль, нет смысла покупать очень мощную модель — это позволит сэкономить деньги на покупке и электроэнергию в дальнейшем.
Обзор лучших производителей
По отзывам покупателей и специалистов одни из лучших аэрогрилей выпускает компания Hotter, пионер данного рынка. Её продукция признана за высокое качество и долговечность. Единственный её недостаток – высокая цена. Кроме того, продукция Hotter не везде есть в продаже.
Продукцию с оптимальным соотношением цены и качества предлагают следующие бренды:
- Redmond
- Smile
- Homus
- Domus
Среди их изделий можно подобрать аэрогриль на любой вкус, бюджет и дизайн.
Популярные модели
Приведу примеры некоторых популярных моделей
- Hotter HX-1047 Universal
.
Удобная и простая в обращении модель. Готовые блюда с ней получаются вкусными и полезными. Аэрогриль способен работать даже при перепадах напряжения в сети. - VES AX 745
. Оптимальный выбор, если вы подбираете качественную, надежную модель в доступном ценовом диапазоне. Аэрогриль имеет электронное управление, отличается оригинальным дизайном. - REDMOND RAG-240
. Бренд специализируется на производстве качественной бытовой техники класса элит. Данная модель имеет привлекательный дизайн, компактна, при этом стоимость рассчитана на широкую целевую аудиторию. - SUPRA AGS-1101
. Модель отличается высоким качеством сборки, привлекательным дизайном, внушительным набором функций и доступным управлением. - Mystery MCO-1503
. Бюджетный аэрогриль, но его качество в целом не уступает дорогим моделям. Это хороший выбор, если вы подбираете надежного кухонного помощника. К недостаткам можно отнести отсутствие функции самоочистки.
Мы рассмотрели основные параметры на которые нужно опираться выбирая аэрогриль.
Теперь поговорим о различиях и сходстве между аэрогрилем, пароваркой и электрогрилем, и когда какой из этих типов устройств стоит выбрать.
Что лучше выбрать – аэрогриль или электрогриль
Аэрогриль – это более современный и технически сложный прибор. Он отличается большим набором функций, его можно использовать в домашних условиях и на природе. Электрогриль – это простое устройство, с меньшим количеством функций. Его основная задача — запекание продуктов.
Младшие модели электрогрилей дешевле, чем аэрогрили, но более продвинутые модификации сравниваются с ними в цене. Электрогриль выбирают для использования только на даче, для приготовления шашлыков несколько раз в месяц. Для ежедневного приготовления пищи, аэрогриль, конечно, гораздо практичнее и удобнее.
Для удобства я свёл в таблицу сравнение возможностей и особенностей этих двух типов устройств.
| Аэрогриль | Электрогриль |
| Продукты готовятся под воздействием потоков горячего воздуха | Продукты просто поджариваются на специальной решётке |
| Обработка продуктов равномерная | Устройство не гарантирует равномерного приготовления |
| Имеет большой набор функциональных возможностей | Набор функций ограничен |
| Процесс приготовления автоматический, не требует присутствия человека | Необходимо постоянно следить за процессом приготовления, чтобы блюдо не подгорело |
| Удерживает запахи, они не распространяются по квартире | Не только распространяет запахи, но может и «чадить» при готовке мяса |
| Адаптирован для использования в домашних условиях | Можно применять только на улице |
Что лучше – аэрогриль или мультиварка
Ответ на этот вопрос зависит от ваших пристрастий.
Почему — читайте ниже.
Мультиварка умеет многое — заменяет собой пароварку, кастрюлю, даже духовку, его возможности шире, чем у аэрогриля.
Аэрогриль – прибор с высокой мощностью, который также заменяет собой множество кухонных устройств. В отличие от пароварки в него нельзя закладывать одновременно два разных продукта, например, мясо и рыбу. В процессе приготовления запахи перемешиваются, и результат может вас разочаровать.
В плане комфорта и мультиварка, и аэрогриль заслуживают наивысшего балла. Оба устройства позволяют готовить еду для большой семьи, конструкция предполагает удобную чистку.
Мультиварка более экономно расходует электроэнергию и меньше греется снаружи, поскольку её корпус дополнительно утеплен. В аэрогриле немало энергии тратится на излучение, корпус в процессе нагревается.
Если приготовление пищи для вас – это не просто процесс, а искусство, аэрогриль вы оцените за возможность наблюдать за готовкой. Корпус мультиварки непрозрачный и все происходящие внутри процессы скрыты от глаз.
Если вам необходимо готовить много блюд для детей, ваш выбор – мультиварка. Именно в ней можно быстро и с минимальными трудозатратами приготовить детские супы, каши, тушеные овощи.
Главное различие между мультиваркой и аэрогрилем — вкусовые качества приготавливаемой еды. В обоих этих устройствах всё получается вкусным, но разным по вкусу. В связи с особенностями приготовления еда из мультиварки получается похожей на традиционную тушёную, варёную, жареную. Блюда из аэрогриля получаются более лёгкими и сочными, приготовленными «на пару».
По-настоящему сочное мясо можно приготовить только в аэрогриле. Эти аппараты рассчитаны на приготовление самых разнообразных рецептов мясных блюд без использования масла, вам только могут дополнительно понадобиться горшочки или фольга. Таким образом, любителям разнообразной пищи с богатой вкусовой палитрой больше подойдет аэрогриль.
Выбирая между аэрогрилем и мультиваркой примите к сведению рекомендации в этой статье.
Но если вам ещё не доводилось пробовать блюда, приготовленные этими типами устройств, сделать выбор сложнее. В этом случае помочь вам сделать выбор может дегустация таких блюд у кого-либо из ваших друзей или в специальном ресторане паровой кухни.
Меры предосторожности при эксплуатации аэрогриля
Как и любой другой электричекий прибор аэрогриль является устройством повышенной опасности, поэтому при его эксплуатации нужно соблюдать определенные меры предосторожности:
- Обязательно следуйте рекомендациям изготовителя по использованию аэрогриля.
- Во время первого включения может появиться неприятный запах и небольшое количество дыма. Это нормальное явление – выгорает заводская смазка. Достаточно один раз включить режим «самоочистка», чтобы этот эффект ушёл.
- Для установки аэрогриля выбирайте ровную твёрдую поверхность, в противном случае он может быстро выйти из строя.
- Помните, что после включения и выключения устройство некоторое время нагревается и остывает.

- Когда аэрогриль включен, ни в коем случае нельзя прикасаться к нему мокрыми руками и опускать в воду.
- По окончании эксплуатации устройство всегда нужно выключать из розетки.
- Нельзя выключать шнур из розетки, если выполняется какая-либо программа.
- Крышку следует открывать движением от себя и не наклоняя голову над аэрогрилем, чтобы не обжечься.
- Используйте только специальную посуду, разрешённую производителем, в противном случае аппарат может выйти из строя или даже взорваться. Так, нельзя готовить в пластмассовых и деревянных емкостях.
- В процессе приготовления не накрывайте аэрогриль полотенцем, прихватками и другими предметами — это может привести к возгоранию.
- Для чистки не используйте агрессивные химические средства.
Помните, что соблюдение всех правил безопасности обеспечит длительную надёжную работу аэрогриля и позволит избежать финансовых затрат на его ремонт.
Итак, как и какой аэрогриль лучше купить для дома? Чтобы выбрать правильно нужно:
- определиться с размером, мощностью, типом управления и типом ТЭНа
- решить, какой дополнительный функционал вам нужен
- оценить дополнительные критерии выбора, описанные в статье
Удачного выбора!
Напоследок предложу вашему вниманию небольшой видео-обзор аэрогриля Hotter
По степени важности на кухне аэрогрилю не уступает блендер.
Вы уже знаете, как правильно его выбрать? Читайте на эту тему.
как пользоваться и что можно?
Зачем нужен аэрогриль
Приготовление вкусной еды – это процесс, который требует индивидуального мастерства кулинара, строгого соблюдения требований рецептуры, использования свежих ингредиентов. Но без чего еще не может обойтись в кулинарии? Без использования специальных кухонных приборов. Это аэрогриль. Другими словами, конвекционная печь. Основная задача такого кухонного оборудования – приготовление пищи с применением потока горячего воздуха.
Для чего нужен аэрогриль дома
Особенности конструкции аэрогриля
Конвекционная печь состоит из чаши на основе жаропрочного стекла, подставки, герметичной крышки. Внутри размещен ТЭН – теплонагревательный элемент, вентилятор. Для удобного управления снаружи размещена панель с кнопками.
Как пользоваться аэрогрилем
Современные и более дорогостоящие аэрогрили оснащены сенсорной системой управления.
Принцип работы такого кухонного оборудования основан на поступлении нагретого воздуха ТЭНом по чаше сверху внизу, далее снизу вверх к вентилятору. Это создает вихревые потоки воздуха, за счет чего и осуществляется термическая обработка пищи.
В зависимости от модификации интенсивность движения воздушного нагретого потока меняется, исходя из выбранного режима. Камера абсолютно герметична, поэтому нагретый воздух не покидает ее пределы. Это способствует эффективному прогреву и приготовлению еды.
Как пользоваться аэрогрилем
Конвекционная печь в независимости от производителя обладает практически единой технологией, что облегчает процесс приготовления даже для неопытных кулинаров. Принцип работы аэрогриля основан на конвекции. ТЭН нагревает поступающий воздух внутри замкнутого пространства, вентилятор перемещает нагретую воздушную массу.
Как правильно пользоваться аэрогрилем?
Для того, чтобы работать с такой конвекционной печью, необходимо выполнить следующие процедуры:
- Подключить кулинарный прибор к электрической сети в соответствии с требованиями инструкции.
Достаточно напряжения 220 Вольт. - Разместить в чаше продукты, которые нужны для приготовления блюда.
- Закрыть чашу специальной крышкой, идущей в комплекте. Это создаст герметичную среду для циркуляции горячего воздуха.
- На панели управления выбрать нужные параметры – температура, скорость конвекции (режим), запустить выбранный режим. Можно воспользоваться автоматическими программами.
- После активации режима ТЭН включается, воздух нагревается, вентилятор начинает выводить прибор на указанную температуру. После окончания приготовления еды раздается сигнал.
Далее нужно открыть крышку, вынуть приготовленное блюдо из чаши. Отключить прибор от электрической сети. Дождаться охлаждения до комнатной температуры и приступить к мойке.
Популярные производители аэрогрилей
Конвекционные печи изготавливают немецкие, шведские концерны. Это известные производители Kitfort, Haeger, MAGNUS. Эти компании используют усовершенствованные ТЭНы, отличающиеся повышенной эффективностью, длительным сроком эксплуатации.
Купить аэрогриль в Москве
Аэрогрили этих производителей обладают следующими достоинствами:
- Наличие современной системы управления. Конвекционные печи оснащены электронным управлением и дисплеем, позволяющим отслеживать важные рабочие характеристики во время приготовления еды. Имеется функция отложенного старта.
- Возможность легкого приготовления еды по встроенному рецепту и алгоритму. Модели аэрогрилей Kitfort, Haeger, Magnus оснащены автоматическими программами для легкого приготовления блюд. Достаточно нажать на определенную кнопку.
- Простота в уборке. Все детали конвекционных печей съемные, что облегчает уход. К примеру, поддон и корзина оснащены антипригарным покрытием, которое легко отмыть после приготовления еды.
- Применение современной технологии циркуляции. Для равномерного приготовления пищи производители встроили в конструкцию аэрогрилей современную систему циркуляции горячего потока воздуха. Это позволяет создавать нежные блюда с хрустящей корочкой.

Saturn Ukraine — Аэрогриль — преимущества и принцип работы…
Аэрогриль — преимущества и принцип работы
Каждый из нас стремится увидеть и узнать, что-нибудь новое, достичь поставленных целей и видеть прогресс не только в развитии своей карьеры, семьи, но и элементарно видеть прогресс на собственной кухне. При наличии такого большого и интересного ассортимента бытовой кухонной техники, современную женщину уже очень сложно удивить — но ведь нет ничего невозможного!
Наша тема сегодня — преимущества и польза #аэрогриля инструкция по применению которого может привести в полный восторг. Спросите каким образом? Очень просто, поскольку возможности этого устройства настолько уникальны, что изменят, упростят и разнообразят жизнь любой хозяйки.
Несмотря на узкое название «#Аэрогриль» — его возможности намного шире, и функциональность не заключается исключительно в приготовлении гриля. Рассмотрим возможности этого бытового прибора на примере серии аэрогрилей #Saturn: ST-CO9151, ST-CO9153 и ST-CO9155.
Эти три модели схожи по внешнему виду, имеют одинаковые возможности, но немного отличаются по своим характеристикам.
#Аэрогриль #Saturn ST-CO9155 новинка в этой серии с более усовершенствованным дизайном, эта модель имеет гораздо больше функций и возможностей нежели, её предшественники.
В целом аэрогриль можно определить, как многофункциональный кухонный прибор, в котором можно приготовить абсолютно любую пищу, и сделать это самыми разными способами.
Так в чём же преимущества и польза этого устройства?
Модели ST-CO9151, и ST-CO9155 имеют производительную мощность 1400 Вт, когда аэрогриль ST-CO9153 работает с мощность 800 Вт – при этом абсолютно все модели в независимости от своей мощности расходуют до 60-ти % меньше электроэнергии, поэтому первым весомым плюсом смело можно выделить — экономию.
Меньше времени — больше еды! Возможность приготовить несколько самых разнообразных блюд благодаря большой ёмкости, и наличию дополнительных решёток.
Больше возможностей – меньше места! Аэрогриль вполне успешно заменяет не только духовку с грилем и конвекцией, но и тостер, сковороду, пароварку, шашлычницу, коптильню, сушку для продуктов, стерилизатор банок, йогуртницу и микроволновку и при такой многофункциональности он не занимает больше места, чем почти каждый из перечисленных приборов.
Для приготовления блюда в аэрогриле абсолютно не нужно иметь специальную посуду.Никакого вреда вашему здоровью! Готовить в аэрогриле можно вообще без использования масла.
Простота и лёгкость! С приготовлением даже самого сложного рецепта справится абсолютно каждый, в аэрогриле главное — это правильно выставить температуру.
Аэрогриль чудесным образом дополнит кухню занятого человека, работающей мамы или холостяка, не привыкшего есть нездоровую пищу — и все благодаря принципу его работы.
Принцип работы
Аэрогриль устроен достаточно просто, он справляется с любой задачей: печёт и жарит, варит супы, имеет эффект печи, размораживает и подогревает продукты справляясь с этими задачами очень быстро.Его самым главным достоинством является галогенный нагревательный элемент, благодаря которому и происходит приготовление. Как же всё-таки он работает?
Вентилятор раздувает горячий воздух создавая вихревые воздушные потоки и обеспечивает равномерность распределения тепла по ёмкости.
Благодаря постоянной циркуляции горячего потока воздуха аэрогриль готовит только здоровую пищу не избавляя её от полезных веществ и витаминов.
Аэрогриль – удивительное приспособление, все приготовленное в нём получается гораздо вкуснее, чем на плите или в духовом шкафу.
Какой аэрогриль выбрать, или критерии хорошего аэрогриля
Аэрогриль — это бытовой многофункциональный электроприбор, который производители позиционируют как плиту, духовку, микроволновую печь, пароварку, тостер, гриль, йогуртницу, шашлычницу, коптильню и русскую печь в одном.
Принцип работы аэрогриля
Прибор представляет собой стеклянную ёмкость (колбу), внутри которой на решетках располагаются продукты, а сверху накрывается крышкой. В крышку вмонтирован нагревательный элемент, поддерживающий в колбе необходимую температуру, и вентиляторы, которые обеспечивают циркуляцию воздуха, равномерно распространяя тепло внутри ёмкости.
Благодаря такой технологии приготовления продуктов, мясо, птица, рыба получаются сочным, покрываются румяной корочкой без применения масла или жира. Современные модели аэрогрилей позволяют регулировать температуру от 60 до 260 градусов.
На что нужно обратить внимание при выборе аэрогриля
Объем колбы
Прежде всего, определитесь, какой объем блюд или как много блюд одновременно вы планируете готовить с помощью аэрогриля, т.е. какой рабочий объем колбы вам нужен. Будет достаточно компактной модели (от 4 литров) или потребуется аэрогриль большого объема (17-18 литров). При этом в комплект аэрогриля может входить расширительное кольцо — это стальное кольцо с высоким бортиком, которое устанавливается поверх колбы, увеличивая ее полезный объем, и сверху закрывается крышкой. Его наличие будет полезно, если блюда крупных размеров или несколько блюд одновременно вам необходимо готовить время от времени.
Нагревательный элемент
Тип нагревательного элемента может быть металлическим (трубчатый электронагреватель, ТЭН) или из стеклокерамики (галогенный или галогеновый нагреватель).
Нет однозначного мнения, какой из них лучше. Считается, что галогенный нагреватель слишком пересушивает приготовляемое блюдо, зато быстрее нагревается после включения, сокращая время приготовления.
Управление и мощность
Тип управления аэрогриля может быть механическим или электронным. Для аэрогриля с механическим типом управления с помощью поворотных регуляторов вы самостоятельно устанавливаете время и температуру приготовления блюда. Такие модели проще в управлении и, как правило, стоят дешевле. Аэрогриль с электронным типом управления снабжен дисплеем и сенсорной панелью. Нажатием кнопки вы выбираете требуемый режим — размораживание, подогрев, гриль, барбекю, тушение, выпечка, обжаривание, варка — и оптимальные для этой функции температура, время устанавливаются автоматически.
Обратите внимание на мощность, потребляемую моделью аэрогриля. Этот параметр влияет на скорость подготовки прибора к работе, время приготовления блюд и, конечно, на счет за электричество.
Некоторые модели имеют съемный сетевой шнур, что может быть удобным при чистке аэрогриля и его хранении.
Комплектация
Крышка может быть съемной или на кронштейне. Съемная крышка удобна, если вам нужна компактная модель (например, вы планируете разместить аэрогриль, на низкой полке). Удобство крышки на кронштейне вы оцените, когда во время приготовления блюда легким нажатием сможете открыть или закрыть горячую крышку, а руки при этом останутся свободными. Однако такие модели выглядят более габаритными.
Наличие верхней, средней и нижней решеток — решеток с высокими, средними и нижними ножками соответственно, полезно при одновременном приготовлении блюд на разных уровнях. А сетчатый противень пригодится для сушки сухариков, зелени, фруктов, грибов или приготовления блюд на пару, во фритюре.
В комплект могут входить шампуры для приготовления шашлыка и щипцы-ухват, позволяющие доставать из емкости аэрогриля горячие продукты и решетки.
Полезные функции аэрогриля
Как уже упоминалось, аэрогрили с электронным типом управления могут быть снабжены автоматическими программами — разморозка, жарка, гриль, пароварка, томление, запекание, самоочистка, стерилизация и т.п. Определите, какие из них вам действительно необходимы.
Регулировка скорости конвекции — это возможность регулировать скорость работы вентилятора. Например, для выпечки потребуется низкая скорость работы вентилятора, для тушения, запекания — средняя, для жарки, гриля — высокая.
В некоторых моделях присутствует очень полезная функция — поддержание тепла, которая позволяет после приготовления сохранить блюдо теплым еще какое-то время. По окончанию приготовления аэрогриль продолжит работать в экономичном режиме.
Встроенный таймер позволяет программировать время работы аэрогриля. Обратите внимание на максимальное время установки таймера, которое может доходить до 24 часов. Также наверняка вам понравится функция отсрочка старта, с которой вы сможете задавать аэрогрилю время начала работы и к назначенному времени получать горячее блюдо.
Работоспособность при перепадах напряжения также может оказаться весьма полезной.
Если вы не очень-то любите мыть посуду, то вам придется по душе полезная функция самоочистки, которой снабжены некоторые модели. После завершения работы аэрогриля налейте в колбу горячей воды с моющим средством (при этом испачканные решетки, шампуры, сетчатый противень можно оставить внутри колбы) и включите режим самоочистки, а через несколько минут, после окончания процесса, вам останется сполоснуть стеклянную колбу теплой водой и протереть мягкой тряпкой или полотенцем. Стеклянную колбу аэрогриля, решетки, шампуры, как правило, можно также мыть в посудомоечной машине, кроме крышки, которую нельзя погружать в воду, так как в нее встроен блок двигателя.
В настоящее время особенно популярны модели таких производителей как Hotter, Mystery. Сравнить цены и функционал аэрогрилей разных брендов можно здесь.
Хорошего выбора и вкусных экспериментов!
для чего нужен, какой лучше выбрать и как пользоваться? Инструкция по эксплуатации аэрогриля Что такое аэрогриль
Чем можно удивить современных женщин, которые хотят чувствовать дыхание прогресса не только на работе, но и на собственной кухне? Сегодня им предлагается одно интересное новшество – аэрогриль, инструкция по применению которого может привести в полный восторг.
Почему? Потому что возможности этого бытового прибора настолько уникальны, что изменят и украсят жизнь любой хозяйки.
История этого многофункционального бытового кухонного прибора уходит в 80-е годы прошлого столетия и связана с США. Именно в этой стране был сконструирован прибор для приготовления вкусных блюд гриль, которые можно отведать не только в летнее время. Если пользоваться этой разновидностью конвекционной печи, то можно радовать близких людей в любое время года. При разработке были учтены такие немаловажные факторы, как экономия времени на приготовление пищи, а также соблюдение принципов здорового питания. При нем в окончательном продукте питания должно содержаться минимальное количество жиров.
Принцип работы аэрогриля
В основе работы аэрогриля лежит принцип конвекции воздушных потоков. Они образуются внутри стеклянной колбы и исходят от электрического нагревателя. В подогреве воздуха до высокой температуры участвует ТЭН или галогенный нагреватель. Вентилятор, который вмонтирован в крышку аэрогриля, придает горячим воздушным массам движение.
В результате по всему объему стеклянной колбы происходит постоянная циркуляция воздуха.
Двигающиеся сверху вниз и в обратном направлении потоки нагревают продукты, находящиеся в чаше и готовят их до нужного состояния. В зависимости от режима приготовления изменяются такие показатели, как температура воздушных потоков и их интенсивность. Если нужно, температуру можно довести до 260 градусов. Благодаря встроенному термостату происходит отслеживание внутренней температуры в аэрогриле. Она регулируется с помощью контролера, который периодически включает и выключает нагреватель.
Все эти аппетитные блюда приготовлены в аэрогриле
Многофункциональность прибора
Функции аэрогриля радуют своим разнообразием. Производители заявляют, что с его помощью можно:
- сварить суп и приготовить кашу;
- пользуясь решетками, запечь или поджарить птицу, рыбу, мясо, не используя при этом масла;
- потушить и сварить овощи, используя посуду или делая это на решетках;
- коптить рыбу и мясо горячим и холодным способом;
- выпекать дрожжевое, слоеное, бисквитное тесто, безе и другую выпечку;
- готовить паровые блюда и жарить шашлык;
- готовить так, как это делает фритюрница;
- производить сушку грибов, фруктов, овощей, ягод, зелени;
- консервировать и мариновать овощи и фрукты;
- приготовить творог и йогурт;
- разморозить замороженные продукты;
- подогреть пищу;
- приготовить глинтвейн;
- поднять дрожжевое тесто;
- сварить варенье и джем.

Такая длительная процедура, как стерилизация, в аэрогриле займет вдвое меньше времени и сил.
Важно!
Стоит иметь в виду, что аэрогриль не способен полностью заменить некоторые бытовые приборы. К ним можно отнести плиту, духовку, тостер, ростер, коптильню, сушильный шкаф, фритюрницу, шашлычницу, стерилизатор, пароварку, микроволновую печь и др.
Приготовление рыбной консервы в аэрогриле
Готовим пищу без посуды
Преимущество приготовления пищи в аэрогриле состоит в том, что нет необходимости в использовании посуды. Можно обойтись без нее, а пользоваться фирменным комплектом, состоящим из решеток, стимера, шампуров, ростера для птицы. Когда же понадобится сварить любимый борщ или полакомится творожной запеканкой, то для этой цели подойдет большая часть посуды, которая есть у любой хозяйки. Не пригодится лишь та, которая изготовлена из дерева и пластмассы или имеет пластиковые детали.
Чтобы общение с этим практичным устройством было для вас приятным, было бы желательно придерживаться некоторых рекомендаций по использованию посуды.
Они составлены на основании многолетнего опыта, приобретенного пользователями прибора.
- Наилучшим вариантом будет посуда для аэрогриля, обладающая высокой теплопроводностью. К ней можно отнести антипригарную посуду («Tefal», «Калитва» и др.), посуду из алюминия и пищевого силикона («Хорс», «Proflex», «Milleforme»), тонкостенную посуду из термостойкого стекла, тонкостенную керамическую посуду и посуду из стеклокерамики («Vitroflam»).
- Для более быстрого приготовления пищи потребуется тонкостенная посуда. Хорошим вариантом, например, будет керамическая посуда отечественных производителей или посуда из термостойкого стекла завода «Победа», который расположен в Татарстане.
- Посуда должна быть определенного диаметра. Лучше, если он не будет превышать 24 см. В этом случае горячий воздух сможет свободно циркулировать вокруг емкости для приготовления пищи и равномерно разогревать посуду со всех сторон (это особенно важно, когда готовится выпечка).
- Если вы будете пользоваться порционной посудой, то еда приготовится значительно быстрее.
Например, если вы поместите продукты в 3 горшочка по 0,5 литра, то блюдо будет готово через 30-40 минут. В то же время, если их поместить в кастрюлю объемом 1,5 л, то вы сможете получить готовый суп по истечении времени, превышающего 1 час. При таком способе приготовления существует еще один плюс. У вас будет возможность одновременно готовить разные блюда, учитывая вкус каждого члена семьи.
Температура в аэрогриле может достигать 260 градусов, можно приготовить шашлык, барбекю, выпечку и овощи
Стерилизация банок в аэрогриле
Покупка такого кухонного оборудования позволит намного упростить процесс, связанный с домашней заготовкой овощей и фруктов на зиму. Стерилизация банок в аэрогриле сведена здесь к приятному и несложному процессу. Ведь если вы пользуетесь старым и проверенным способом, когда банки стерилизуют над паром, то делать это хлопотно и долго. Современная кухонная техника позволяет действовать другим способом. Работа аэрогриля сводится к равномерному нагреванию содержимого, находящегося внутри.
Таким же образом можно прогреть банки, как пустые, так и полные.
При стерилизации пустых банок их ставят на нижнюю решетку, на которую можно свободно поместить от 3 до 5 пол-литровых или литровых емкостей. В режиме стерилизации температура находится в пределах 150 градусов. Для завершения процесса достаточно 15 минут. Банки могут быть сухими или содержать небольшое количество воды. В этом случае происходит стерилизация паром. В стерилизованные банки после окончания этого процесса закладывают продукты и закатывают их крышками.
Возможно, вас интересует, как стерилизовать банки в аэрогриле, когда они уже заполнены приготовленными овощами, фруктами и салатами. Их можно поместить в вымытые банки и залить сиропом, рассолом, соком, маслом и т.п. Жидкость должна полностью покрывать содержимое банки. Банки ставятся в аэрогриль и стерилизуются в температурном режиме 150 градусов. Время стерилизации в каждом отдельном случае будет разным – все зависит от рецепта. Преимущество состоит в том, что этот процесс уменьшится приблизительно на 30%.
Если обычно вы варите варенье 40 минут, то в аэрогриле оно будет готово за 25 минут.
Не надо кипятить банки, обжигаясь кипящей водой и паром — аэрогриль стерилизует горячим воздухом сам
Меры предосторожности при работе с прибором
Во время эксплуатации аэрогриля стоит обратить внимание на некоторые меры предосторожности и условия эксплуатации:
- При первом включении может появиться дым и запах. Они обусловлены тем, что выгорает заводская смазка. Стоит прогнать аппарат несколько минут с водой, включив режим автоочистки.
- Прибор необходимо размещать на термоустойчивой поверхности.
- Аэрогриль нуждается в предварительном разогреве и охлаждается в течение некоторого времени после выключения.
- Нельзя прикасаться к прибору мокрыми руками (особенно в рабочем состоянии) и погружать его в воду.
- После окончания работы его нужно выключать из розетки и не допускать к нему детей.
Внимательно читайте инструкцию по приготовлению блюд в аэрогриле
Просто замечательно, что производители бытовых электроприборов не топчутся на месте, а идут в ногу с техническим прогрессом! Сегодня у нас есть возможность улучшить свой быт, пользуясь таким многофункциональным оборудованием для кухни, как аэрогриль.
Приятного аппетита!
Современная жизнь требует от человека быть максимально активным и следовать модным тенденциям, даже если речь идет о бытовой технике.
Одной из таких новинок не так давно стал аэрогриль
– бытовой электроприбор, который служит для приготовления пищи.
Как пользоваться аэрогрилем?
Стоит отметить, что это устройство призвано значительно облегчить жизнь современным хозяйкам, поскольку позволяет экономить время на создании вкусной и здоровой еды.
Вопрос остается только в том, как же научиться быстро и без забот им пользоваться.
Устройство электроприбора
В Россию аэрогриль пришел из США.
В основу названия прибора лег сам принцип работы:
доведение пищи до состояния готовности посредством поступления горячих воздушных потоков.
Обычно в комплектацию бытового прибора входят следующие элементы:
- стеклянная термостойкая емкость цилиндрической формы;
- подставка под емкость из пластика;
- крышка с установленным внутри вентилятором и нагревательным элементом внутри, а снаружи — с панелью управления аэрогрилем.

Что касается технических характеристик, то к ним можно отнести следующие:
Популярная модель аэрогриля от фирмы Vitesse
- Посуда для аэрогриля может быть представлена в самых различных объемах — все зависит лишь от ваших личных предпочтений.
- Пластиковая подставка создает защиту от соприкосновения с поверхностью стола, сильно нагретой при работе емкости.
- Из-за встроенных в крышку основных элементов прибора, она отмечается внушительным весом (более 2 кг).
- Встроенный нагревательный элемент представляет собой тэн или галоген.
- В зависимости от модели устройства возможно наличие 3-х скоростных режимов.
- Система электронного или механического управления отвечает за работу прибора.
Процесса работы аэрогриля
Мыть аэрогриль можно с помощью функции самоочистки
Инструкция пользования бытового электроприбора, как правило, довольно проста:
- В емкость аэрогриля (специальную посуду для приготовления пищи) закладываются продукты и плотно закрываются крышкой.

- Посредством встроенной панели устанавливаются параметры работы — скорость, температура и время.
- После достижения нагревателем указанной температуры включается вентилятор, гоняющий горячий воздух внутри емкости.
- После приготовления пищи, чтобы не задаваться вопросом «Как мыть аэрогриль?», можно воспользоваться функцией самоочистки.
Что и как приготовить?
Любимые блюда в аэрогриле
В аэрогриле можно готовить множество различных блюд, поскольку это отличная альтернатива целому ряду бытовых электроприборов.
Давайте рассмотрим самые популярные рецепты:
- Инструкция по приготовлению запеченной курицы. Свежая куриная тушка маринуется и приправляется необходимыми специями. Следующим этапом укладывается на решетку внутри ёемкости устройства и готовится при максимальных параметрах температуры и скорости в пределах часа.
- Инструкция для мяса по-французски. В приготовлении этого блюда предполагается специальная посуда – керамические горшочки.
Небольшое количество свинины разрезается на кусочки и укладывается на дно горшочков. Следующим слоем натирается картофель, затем кольца лука и сыр. Каждый слой смазывается майонезом. Посуда устанавливается на решетку аэрогриля и блюдо готовится при максимальном режиме полчаса. - Инструкция для выпечки. Разновидность рецептов возможной выпечки в аэрогриле особенно широка – пироги, бисквиты, запеканки и многое другое. Для достижения отличного результата рекомендуется первую треть часа блюдо накрывать фольгой, остальные 20-30 минут выпекаются в раскрытом виде.
Правильный подход к использованию
Запекаем курочку в аэрогриле
Чтобы не совершать ошибок и правильно пользоваться аэрогрилем, стоит придерживаться ряда общих для всех моделей правил:
- Обязательным моментом считается предварительное прогревание устройства перед тем, как начать готовить.
- Укладывать продукты следует на решетки, а не на дно электроприбора.
- Следует проверить степень плотности прилегания крышки к ёмкости конвекционной печи.

- Необходимо применять меры предосторожности при работе с аэрогрилем, иначе возможно получение термических или паровых ожогов.
- После процесса готовки горячую крышку желательно уложить на специальную подставку — во избежание соприкосновения с поверхностью стола.
- Используется только предназначенная для аэрогриля посуда.
- Чистка прибора должна осуществляться только после того, как произойдет его полное остывание.
А теперь самое время приступать к готовке. И приятного вам аппетита!
Любителям вкусного мяса или поклонникам здорового питания пригодится аэрогриль (см. как его выбрать). К тому же он имеет огромный плюс – в нём можно одновременно приготовить несколько блюд при условии, что запахи не будут перебивать друг друга. Подробно об этом кухонном агрегате вы узнаете далее.
Что можно готовить в аэрогриле?
В аэрогриле можно приготовить всё — начиная от первых блюд и заканчивая десертами. Потушить, запечь, подвялить овощи – все под силу этому прибору, как и выпечь пироги, рогалики и пиццу, сварить варенье прямо в банках, подсушить фрукты, зелень и грибы, потомить продукты.
Конечно, со стопроцентной уверенностью можно сказать, что любителям мясных деликатесов придутся по вкусу блюда из него. Здесь получится нежнейшее куриное мясо, шашлык, котлеты с золотистой корочкой, закопчённая рыба, запечённое мясо в фольге. И всё это готовится с минимальным количеством масла, но нужно учесть, что продукты необходимо вручную переворачивать на другую сторону.
Какую посуду использовать в аэрогриле?
Многие обладатели этого прибора выбирают посуду, ориентируясь на ёмкости для микроволновой печи, но в аэрогриле температура достигает 280 °C, поэтому использовать ёмкость с низкой термостойкостью запрещено. Полностью отказываются от пластиковой и деревянной посуды.
Не менее важную роль при выборе посуды играет то, какое блюдо вы собираетесь готовить:
- Чтобы запечь овощи с мясом или приготовить суп, понадобятся керамические горшочки.
- Для жарки мяса выбирается стеклянная тара.
- Для выпекания хлебобулочных изделий используются металлические противни или лотки с антипригарным покрытием или обычные для простой духовки.

В отличие от тех же микроволновок, разрешено использовать алюминиевую посуду, в том числе фольгу, металлические, глиняные, качественные силиконовые ёмкости.
Итак, купив аэрогриль, нужно приобрести предметы посуды, придерживаясь трех рекомендаций:
- Обязательно перед покупкой ёмкостей обращайте внимание на термостойкость и теплопроводность. Посуда должна быть выполнена из материалов, которые выдерживают высокие температуры. Алюминий и термостойкое стекло имеют наибольшую теплопроводность, следовательно, в такой посуде продукты приготовятся намного быстрее. А вот если вы тушите или запекаете продукты в глиняных горшочках, то придётся запастись терпением, так как времени на готовку понадобится довольно много из-за низкой теплопроводности материала.
- Большое значение имеет и толщина стенок посуды. Хотите получить зажаристые кусочки с румяной корочкой, готовьте их в тонкостенной ёмкости. Более сочные блюда получатся в толстостенной посуде, но и времени для их приготовления потребуется больше.

- Ёмкости не должны превышать в диаметре 25 см, в противном случае тепловые потоки внутри прибора будут распространяться неравномерно, что скажется не лучшим образом на готовности блюда. Оно будет либо непропеченное, либо пережаренное.
Готовка мясных блюд в аэрогриле
Для приготовления котлет, запечённого мяса, рёбрышек, стейков или отбивных понадобятся решётки, противни, шампура и фольга.
Шашлык
Мясо сначала маринуют по любимому рецепту. Главное, мясо нарезать на куски так, чтобы их можно было разместить на шампурах. Как только мясо замаринуется, его нанизывают на шампуры, и помещают в электроприбор, где устанавливают температуру на 230 °C и включают вентилятор на среднюю скорость.
Чтобы образовалась золотистая корочка, шашлык необходимо переворачивать каждые 20 минут.
Готовка шашлыка в аэрогриле демонстрируется на видео:
Котлеты
Сочные мягкие котлеты с хрустящей золотистой корочкой получатся в электроприборе. При запекании котлет в чашу электроприбора помещают поддон, на который будет стекать лишний жир с котлет.
Сформированные сырые изделия выкладывают на решётку, предварительно смазанную растительным маслом, и помещают в центр электроприбора. Выставляют таймер на 30 минут и готовят при температуре 230 °C.
Свинина, запечённая в фольге
Подготовив кусок мяса (его натирают солью и специями, делают несколько надрезов), заворачивают его в фольгу и запекают в аэрогриле при 230 °C. Через 15 минут меняют температурный режим, уменьшая температуру до 170 °C, и продолжают запекать ещё полчаса.
Рецепт свинины в аэрогриле представлен на видео:
Как приготовить в аэрогриле курицу?
Необходимо выбрать целую куриную тушку весом 1300–1700 г, которая готовится следующим образом:
- Чтобы курица равномерно пропеклась, делают несколько разрезов вдоль грудки.
- Пока электроприбор прогревается, курицу натирают солью, перцем и специями. Для этого блюда понадобится минимальное количество приправ на ваше усмотрение.
- В лоток, где будет запекаться тушка, можно добавить светлое пиво, чтобы мясо стало более нежным и сочным.

- Курицу помещают на среднюю решётку грудкой вверх и запекают при температуре 250 °C и высокой скорости вентилятора.
- За 10 минут до окончания снижают скорость вентилятора до средней.
В общей сложности блюдо готовится около 35–45 минут. Показателем готовности блюда будет прозрачная жидкость, вытекающая из курицы после проколов острым ножом или зубочисткой, — если вытекает розоватая жидкость, то тушку готовят ещё несколько минут. Переворачивать курицу не надо.
Курицу с золотистой корочкой можно приготовить по рецепту из следующего видео:
В аэрогриле можно также приготовить отменные крылышки по рецепту из видео:
Как приготовить в аэрогриле рыбу?
Рыбу в аэрогриле жарят на решётке, запекают в фольге или готовят в кляре.
Рыба в фольге
Для приготовления в фольге выбирают рыбу не очень жирных сортов. Рыбное филе маринуют или натирают специями, выкладывают его в фольгу и закрывают конвертом. Помещают его на верхнюю решётку и запекают при температуре 200 °C около 20 минут.
В аэрогриле можно запечь стейки красной рыбы с овощами по простому рецепту из видео:
Жареная рыба
Чтобы приготовить жареную рыбу, её нарезают ломтями по 5 см и посыпают специями. Верхнюю решётку смазывают растительным маслом и выкладывают на неё куски рыбы. Выставляют таймер на 200 °C и жарят 20–30 минут.
Для образования румяной корочки рыбу регулярно переворачивают.
Рыба в кляре
Чашу аэрогриля застилают куском фольги. Рыбу обмакивают в кляре и выкладывают на среднюю решётку. Готовят 25 минут при средней скорости вентилятора. Вначале 15 минут запекают при температуре 260 °C, затем продолжают готовить при 235 °C.
Как уже было сказано выше, в аэрогриле можно выпекать. Так, например, вы можете приготовить вкусный рыбный пирог по инструкции из видео:
Как в аэрогриле приготовить картофель?
Любители жареной картошки могут не волноваться за своё здоровье — в аэрогриле она готовится с минимальным количеством растительного масла, что благоприятно сказывается на уровне холестерина в крови.
К тому же существуют различные вкусные рецепты:
- По-деревенски
. Картофель чистят и нарезают кружочками. Выкладывают в глубокую ёмкость, солят, перчат и посыпают чесноком — хорошо все перемешивают, оставляют на 5 минут. Решётку смазывают растительным маслом и выкладывают на неё картофель. Готовят в течение 25 минут при температуре 250 °C. - Печёный
. Молодой картофель тщательно моют и разрезают на 2 или 4 части. Замачивают его в солёном растворе на 15 минут. Раскладывают картофель на решётке, сбрызгивают его растительным маслом и запекают при температуре 220 °C около 30 минут. - Жареный
. Картофель моют, чистят и нарезают дольками. В глубокой ёмкости смешивают растительное масло, пряные травы, специи, соль и добавляют нарезанный картофель. Оставляют все на 20 минут, чтобы кусочки овоща промариновались. Далее раскладывают их на нижней решётке аэрогриля и готовят 35 минут при температуре 200 °C и средней скорости вентилятора. - В «мундире»
.
Это один из самых быстрых способов приготовления гарнира. Картофель тщательно моют, делают в каждой картофелине несколько проколов и выкладывают целиком в глубокую миску. Посыпают её специями, растительным маслом и солью, оставляют на 30 минут. Далее раскладывают на решётку и готовят при высокой скорости обдува и температуре 260 °C.
Картофель фри
может быть полезным, если приготовить в аэрогриле по такому рецепту:
- Картофель моют, чистят и нарезают на ровные бруски, подсушивают их бумажным полотенцем или хлопчатобумажной салфеткой.
- В глубокой ёмкости картофель перемешивают с солью и специями, затем добавляют растительное масло (на 1 кг клубней достаточно 3 столовых ложек) и снова хорошо перемешивают.
- В аэрогриле выбирают функцию «Разогрев» и прогревают прибор в течение 6 минут.
- Картофель выкладывают на сетчатый противень и размещают на средней решётке. Готовят блюдо около 20 минут (время варьируется от толщины брусочков клубня) при 235 °C и средней скорости вентилятора.

Как только картофель зарумянится, блюдо готово.
В аэрогриле картофель можно приготовить с беконом, как показывается на видео, в котором также рассматриваются возможности прибора:
Как приготовить купаты в аэрогриле?
Кроме обычных блюд, в нём готовят и блюда разных кухонь мира. Например, купаты. Это мясное грузинское блюдо, которое готовят из рубленого мяса жирных сортов с добавлением чеснока и большого количества специй — душистого перца, зёрен граната, ягод барбариса, кориандра, тмина и чабреца. Заправляют его в оболочку от кишок и сформировывают в виде колбасок.
Для того чтобы купаты получились сочными и с лёгкой, аппетитной и поджаристой корочкой, в аэрогриле их непросто запекают (в этом случае они могут получиться сухими), а обжаривают и тушат в горшочках.
Сырые колбаски сначала обжаривают на средней решётке, предварительно смазанной растительным маслом при высокой скорости вентилятора и температуры 250 °C. Чтобы они не лопнули, на концах делают небольшие проколы для выпуска пара.
В зависимости от степени прожарки понадобится 15–20 минут. Как только колбаски подрумянятся, их перекладывают в горшочек, добавляют туда же измельчённый чеснок, томатную пасту, соль и специи на ваш вкус. И продолжают готовить при тех же условиях ещё 15 минут.
Как жарятся вкусные купаты в аэрогриле, можно увидеть в видео:
Рецепт овощей в аэрогриле
Есть множество способов, чтобы приготовить вкусное овощное блюдо в аэрогриле. Например, любители баклажанов и кабачков могут выбрать следующий рецепт:
- Кабачки и баклажаны вымыть и нарезать кольцами толщиной 0,3 см.
- Приготовить пикантный соус — смешать 3-4 ч. л. оливкового масла и 1 ч. л. бальзамического уксуса, выдавить один зубик чеснока, всыпать итальянские травы, посолить, поперчить и перемешать.
- В миску сложить нарезанные овощи и добавить помидоры черри, залить соусом и перемешать.
- На верхнюю решетку аэрогриля застелить фольгу и выложить в слой половину овощей.
- Закрыть крышку аэрогриля, выставить температуру 230 °C и выпекать 20 минут.

- Открыть крышку прибора, перевернуть овощи, готовить еще 10 минут и вынуть.
- Вторую часть овощей готовить аналогичным образом.
Приготовленные овощи можно подавать с рубленой зеленью.
Чтобы готовка в аэрогриле доставляла только удовольствие, необходимо соблюдать несколько правил:
- Перед тем как начать готовить, прибор следует прогреть.
- Продукты раскладывают на решётки, а не вываливают кучей на дно.
- Соблюдают технику безопасности — не притрагиваются к стеклянной ёмкости работающего прибора, чтобы избежать ожогов.
- При доставании готовых блюд не заглядывают внутрь аэрогриля, иначе можно сжечь глаза паром.
Видео: Как выбрать и пользоваться аэрогрилем?
Елена Малышева и ее коллеги помогут вам выбрать аэрогриль, а также расскажут, как правильно пользоваться прибором:
Аэрогриль при правильном использовании и соблюдении температурного режима и рецептуры поможет приготовить сотни полезных блюд, ведь они готовятся практически без добавления масла.
А овощи, приготовленные на пару, сохраняют больше витаминов. Если вы придерживаетесь здорового и правильного питания, то этот электроприбор вам просто необходим.
Вконтакте
Здравствуйте, дорогие друзья.
Сегодня разговор поведу о кухне. Скорее даже о кухонных помощниках, которые стали для нас палочкой-выручалочкой. Согласитесь, что благодаря ним, современная женщина может быть отличной хозяйкой, несмотря на вечную загруженность на работе. Куда мы сегодня без холодильника или микроволновки, электрочайника или миксера?
Отличная новинка на кухне, которая только начинает внедряться на наши кухни — аэрогриль — уже вовсю царит на кухне западных хозяек. Лавры создателя этой скатерти — самобранки принадлежит совсем не японцам или китайцам, а американцам, которые всегда любили пикники. В этом приспособлении даже в холодное время года вы сможете приготовить барбекю.
В отличие от своего предка, созданного в 80-е годы прошлого столетия, аэрогриль — это угроза другой кухонной технике.
Он делает не только блюда-гриль, а жарит, печет, готовит на пару, варит и даже томит, как настоящая русская печка. Плита, микроволновка, фритюрница, тостер, пароварка, гриль, коптильня, сушильный шкаф, шашлычница станут вам не нужными, когда на кухне воцарится это чудо.
Что делает аэрогриль. Преимущества
Что умеет делать эта чудо-техника? Проще ответить, что не делает аэрогриль. Назову те преимущества, которые мне приглянулись и показались серьезными доводами в пользу его покупки.
Что делает аэрогриль. Преимущества:
- Благодаря стеклянной колбе можно следить за процессом приготовления.
- Для приготовления блюд пользуются методом русской печки: все продукты в блюдо (и даже для супа) закладываются одновременно.
- Овощи в аэрогриле никогда не пригорят, а молоко не сбежит. Опять же метод русской печи: продукты томятся. Именно это позволяет готовить ряженку, йогурт, творог, печь пирожки или пирожные, коптить мясо или рыбу (холодный и горячий способ копчения).

- Для приготовления картошки фри не надо лить литры масла, стоит только смазать дольки картошки небольшим количеством масла.
- Можно использовать для стерелизации банок.
- Умеет размораживать и разогревать продукты.
- Работает, как сушилка — можно сушить все — от зелени .
- В аэрогриль можно ставить керамическую, металлическую, фаянсовую и фарфоровую посуду. Не любит только дерево и пластик.
- Минимальное использование электроэнергии (потребляет, сколько утюг).
Аэрогриль. Как выбрать лучшее
Решение принято: покупаем аэрогриль. Как выбрать помощника для себя? Какими критериями руководствоваться?
- Первое на что надо обратить внимание, это то, каким способом управляется аэрогриль. Ведь степень совершенства зависит напрямую от этого показателя. Механический вы сможете отличить по крышке с двумя стандартными ручками и одной скоростью вентиляции горячего воздуха. В электронном варианте скоростей управления — три. Это позволяет регулировать степень румяности корочки или сочность приготовленного продукта.

- Размер. Объем модели указывается в двух цифрах: 8-12 л, 10-14 л, 12 -16л. Эти цифры показывают объем колбы стандартный и тот, который можно создать с помощью расширительного кольца.
Например, вам надо простерилизовать 3-литровую банку. Расширительное кольцо (обруч из нержавейки) не комплектуется в дешевых моделях. В некоторых моделях имеется в комплекте сразу два кольца.
- При покупке обязательно обращайте внимание на комплектацию дополнительными приспособлениями. В дешовых моделях есть только пара решеток, другие укомплектованы даже для выпечки кексов и тортов.
- Хороший консультант, советуя вам аэрогриль и как его выбрать, подскажет о важности наличия разных программ управления. Хорошо если у вашей модели будут следующие функции: регулировка температуры, регулировка скорости конвекции, отсрочка старта (уходя утром на работу, можете запланировать приготовление ужина к вашему возвращению), поддержание тепла (хорошо, когда домочадцы кушают в разное время), самоочистка (вода + моющее и через полчаса ваш аэрогриль чистый).

- Если в доме старая электропроводка покупайте модель мощностью 1300 Вт, если новая — 1700 Вт. Обязательно уточните наличие стабилизатора (защищает от перепадов напряжения).
Предлагаю вам посмотреть, как можно готовить в аэрогриле. Мне очень нравится этот способ приготовления.
Если вы задумались о таком капиталовложении, то желаю вам отличной покупки, дорогие друзья. До новых встреч.
15. Перед включением аэрогриля в
розетку убедитесь, что он полностью
16. Чистить аэрогриль металлически-
ми щетками запрещено.
17. Не ремонтируйте устройство само-
стоятельно. Не включайте аэрогриль
поврежденным, с поврежденным шну-
ром питания или вилкой. Обратитесь в
сервисный центр для осмотра и ре-
18. Прибор не предназначен для
использования лицами с
ограниченными физическими,
чувствительными или умственными
способностями или при отсутствии у
них опыта или знаний, если они не
находятся под контролем или не
проинструктированы об
использовании прибора лицом,
ответственным за их безопасность.
Не
устройство детям в возрасте до 14
19. Погружать крышку в воду
запрещено!
20. Не касайтесь горячих
поверхностей!
ВНИМАНИЕ: Поверхности аэро-
гриля и сам аэрогриль сильно на-
греваются. Не касайтесь аэрогри-
ля! Вы можете получить ожоги.
Дайте устройству остыть. Берите
аэрогриль только за ручки и толь-
ко после полного остывания.
ФУНКЦИИ АЭРОГРИЛЯ
АЭРОГРИЛЬ ЗАМЕНЯЕТ ДО 10 УСТ-
РОЙСТВ
Стандартная духовка
Коптильня
Фритюрница
Микроволновая печь
Конвекционная печь
Электрическая сковорода
Электрическая пароварка
8 способов приготовления
Обжарива-
ние на вер-
теле
Выпекание
сдобы
Повторный
нагрев
Готовка без
воды
Приго-
товление
барбекю
Обжаривание
во фритюре
Приготовление
на пару
Темпе-
ратура
Размора-
живание
Разогрева-
ние
Приготовле-
ние на пару
10-15 минут
Выпекание
сдобы
15-20 минут
Приготовле-
ние жаркого
25-30 минут
Обжарива-
ние на вер-
теле
15-20 минут
15-20 минут
Жарка без
масла
Время приготовления и температура
могут отличаться в зависимости от
размера продуктов.
ИСПОЛЬЗОВАНИЕ АЭРОГРИЛЯ
1. Установите стальную решетку внут-
ри аэрогриля и расположите на ней
продукт. Между блюдом и крышкой
аэрогриля должно быть немного сво-
бодного пространства.
2. Вставьте вилку шнура питания аэ-
рогриля в розетку. Не включайте в
двойную розетку еще одно электриче-
ское устройство.
3. Поверните таймер по часовой
стрелке и установите необходимое
время – загорится красная лампочка.
4. Поверните регулятор температуры
по часовой стрелке – загорится зеле-
ная лампочка. Аэрогриль начнет ра-
5. Зеленая лампочка может выклю-
читься до времени истечения приго-
товления. Это означает, что аэро-
гриль достиг заданной температуры.
Как только температура аэрогриля
опустится ниже заданной, он автома-
тически включает нагреватель и заго-
рается зеленая лампочка, указывая на
процесс нагрева.
Принцип работы и составные компо-
ненты аэрогриля
Эксплуатация аэрогриля
1.
Включите шнур питания аэрогриля
в розетку. Прозвучит краткий звуко-
вой сигнал и на цифровом дисплее
загорится “01:00”. Температура по
умолчанию – 60
2. Кнопками “ВВЕРХ”
или “ВНИЗ”
выберите необходимую температуру.
3. Для быстрого увеличения времени
непрерывно удерживайте кнопку.
4. Выберите температуру приготовле-
ния в аэрогриле согласно ниже распо-
ложенной таблицы и нажмите “ПРО-
ГРАММА
”.
Цыпленок
30 ми-
нут
13 ми-
нут
12 ми-
нут
10 ми-
нут
15 ми-
нут
15 ми-
нут
Повторный разо-
грев пищи
Приготовление на
пару
Выпекание сдобы
Запекание мяса
Зажаривание
Предварительный
нагрев
Приготовление
барбекю/гриля
Приготовление
гриля
Жарка без масла
Чтобы включить функцию САМО-
ОЧИСТКИ нажмите соответствующую
кнопку.
Время самоочистки устанав-
ливается вручную. Внимание: перед
самоочисткой дайте аэрогрилю остыть
не менее 10 минут.
Примечание: по причинам безопас-
ности, если крышку аэрогриля от-
крыть во время процесса приготовле-
ния, нагревательный элемент отклю-
чается. Для продолжения процесса
приготовления опустите крышку аэро-
гриля и закройте ее.
ления аэрогриль издает однократный
звуковой сигнал и начинает мигать
таймер. Блюдо можно извлечь в любое
время, но будьте осторожны – оно
может быть очень горячим. Всегда
используйте щипцы (в комплекте).
По окончанию процесса приготов-
ления нагревательный элемент авто-
матически выключается. Вентилятор
продолжит уменьшать температуру
воздуха, пока она не будет ниже
90°C. Это защитная функция, предна-
значенная для увеличения срока дей-
ствия платы управления и других
электронных компонентов.
Если во время приготовления вам
необходимо узнать время, оставшееся
до конца приготовления или устано-
вить температуру приготовления, на-
жмите кнопку “ВРЕМЯ”
или “ТЕМПЕ-
Что такое аэрогриль и как им пользоваться в январе 2022 года
Аэрогриль — кухонный прибор для приготовления пищи. Он состоит из стеклянной колбы с крышкой, на которой находится нагревательный элемент и вентилятор. Принцип работы аэрогриля: нагреватель нагревает воздух, поступающий в колбу через крышку с множеством отверстий, а вентилятор обеспечивает его циркуляцию. Продукты внутри колбы прогреваются равномерно со всех сторон. Подробно о работе той или иной модели вы можете узнать в инструкции по эксплуатации аэрогриля.В этой статье мы коснемся того, как правильно пользоваться аэрогрилем и готовить продукты.
Преимущества и недостатки аэрогриля
Аэрогрили могут заменить микроволновку, тостер, плиту, духовку, пароварку.
Каковы плюсы и минусы аэрогриля? Попробуем понять.
- многофункциональность;
- Для приготовления пищи в аэрогриле не нужны ни жир, ни масло;
- лучше сохраняют свои качества при приготовлении;
- Возможность готовить несколько блюд одновременно;
- Аэрогриль относительно компактен и удобен в транспортировке и использовании, например, на даче;
- Стерилизация консервных банок, сушка грибов, ягод и фруктов;
- Режимы длительного нагрева позволяют коптить и поджаривать продукты;
- Нет ограничений по материалу посуды — Пищу также можно готовить в деревянной и металлической посуде, в отличие от микроволновки, в которую нельзя ставить даже чашки с блестящей эмалью.
продукты
- Не со всем одинаково хорошо справляется аэрогриль. Например, приготовление на пару слабое;
- не всегда применение агрегата оправдано — объем колбы аэрогриля имеет 10-12 литров, и запускать его для разогрева пары тарелок супа не стоит, лучше использовать микроволновку;
- сильно нагревается при работе агрегата, что небезопасно, особенно если в доме есть маленькие дети.

Стеклянная колба
Какие бывают аэрогрили?.Особенности аэрогрилей
Условно агрегаты делятся на типы А и Б. К первому относятся аэрогрили с электронным управлением, несколькими скоростями работы и соответствующей ценой. Недорогие аэрогрили с механическим управлением и одним режимом работы относятся к типу Б.
Перед тем, как приступить к выпечке, разогрейте прибор в течение 10 минут без продуктов при максимальной температуре. Разместите блок так, чтобы случайно не ударить его во время работы — он может быть горячим.Для запекания используйте специальную посуду из тонкого стекла. В этой посуде выпечка будет лучше готовиться. После очистки протрите колбу мягкой сухой тканью.
При выборе аэрогриля обратите внимание на следующее:
- тип управления. Это основной критерий, разделяющий аэрогрили на агрегаты для приготовления пищи и универсальные устройства, сочетающие в себе плиту, духовку, тостер, микроволновую печь, сушилку и т.д. Аэрогрили имеют механическое и электронное (или сенсорное) управление.
Первые проще и дешевле. Однако они ограничены одной скоростью вращения вентилятора. Второй имеет больше скоростей и режимов работы. Агрегаты с автоматическим управлением обеспечивают больший диапазон скоростей вентилятора - Объем воздушной решетки. Объем стеклянной чаши варьируется от 7 до 17 литров. В некоторых моделях объем меняется с помощью специальных колец, надетых на чашу. Одно кольцо увеличивает объем чаши до 5 литров.
- как прикрепить крышку. Крышки могут быть съемными, а также те, которые крепятся к кронштейну.Установки со съемными крышками компактны. Но при работе крышка создает дополнительные сложности — в руках держать неудобно, нужна специальная подставка. Крышка на кронштейне безопаснее, нужно дополнительное пространство, чтобы ее откинуть.
- тип нагревательного элемента — используйте трубчатый или галогенный нагреватель.
Приготовление пищи в аэрогриле
Что можно и как приготовить в духовке? Ниже — Несколько рецептов приготовления в аэрогриле.![]()
Пицца в духовке
Для быстрого приготовления пиццы вам понадобится:
- Ветчина или колбаса;
- Помидоры, перец, сыр, грибы;
- яйцо;
- 3 столовые ложки майонеза;
- 3 столовые ложки муки;
- пищевая сода (растворенная в уксусе).
- Замесить жидкое тесто из яиц, муки и соды, потушить уксусом;
- Колбаса, помидоры, сыр, грибы в нарезке;
- Прогрейте агрегат;
- Тесто выливают в смазанную растительным маслом форму и выпекают 10 минут при 230-240⁰С и средней скорости;
- После этого поверх теста выкладывается начинка;
- Обжаривать 10 минут при 205-210⁰C на высокой скорости.
Жареные семечки в духовке
Прогрейте устройство в течение 6 минут.Всыпать семечки в тесто и поставить его на верхнюю полку. жарить 10 минут при 260⁰С.
Копчение в духовке
Для курения важны ароматизаторы, которые трудно достать дома.
Поэтому опытные люди советуют использовать ароматизатор ольховой стружки и «жидкий дым». Проще всего коптить свинину, потому что это занимает меньше времени и вкуснее, чем копченая говядина. Коптите любую рыбу — от экзотической морской рыбы до обычного морского окуня, которого вы поймали в местном пруду.
Копчение рыбы в аэрогриле:
- рыбу выпотрошить и промыть водой;
- натереть поваренной солью со всех сторон, смазать «жидким дымом» снаружи и внутри;
- оставить рыбу на 40-60 минут пропитаться;
- Перед копчением обвяжите веревкой и поместите на решетку в центре аэрогриля;
- Температура копчения от 150 до 180⁰С и зависит от вида рыбы.для карпа рекомендуется 150⁰С, для скумбрии — 180⁰С;
- время копчения — 25-30 минут, скорость — средняя;
- После копчения смазать рыбу маслом, посыпать специями по вкусу и завернуть в фольгу для охлаждения.
Как коптить мясо в аэрогриле:
- промыть мясо;
- руб чеснок, соль, специи по вкусу и «с жидким дымом»;
- Оставляем мариноваться на час;
- Разогрейте духовку и положите на дно ольховую стружку, мясо положите на нижнюю или среднюю полку.
Чтобы мясо лучше пропиталось, налейте в кастрюлю немного воды; - : 240⁰С, время — полчаса, скорость вентилятора средняя.
Программа аэрогриля
Жареная курица в аэрогриле
Для простого рецепта курицы-гриль вам понадобится:
- куриное тельце 1,2-2,5 кг;
- пакет специй карри;
- половинка лимона;
- Щепотка красного перца;
- соль.
- Выпотрошенную курицу вымыть и посыпать карри;
- Поместите тушу на гриль;
- Готовить около часа при 220-250⁰C.
№
Еще один рецепт приготовления курицы гриль можно посмотреть в видео ниже. Если вас заинтересовали эти устройства, то на нашем сайте вы найдете аэрогрили всех типов и характеристик.
Напишите свое мнение и комментарии по теме «Что такое аэрогриль и как им пользоваться»
принцип работы с описанием функций. Нужен ли аэрогриль на кухне? Функции и принцип работы аэрогриля
У опытной хозяйки всегда есть свои фирменные блюда, которыми она с удовольствием балует гостей за обеденным столом.
Ее незаменимым помощником на кухне является аэрогриль. Что это за устройство, как оно работает и какие продукты можно в нем готовить? Давайте подробнее рассмотрим эти вопросы.
Что такое аэрогриль.
С древних времен люди готовили пищу на огне. Очаги, печи и газовые плиты использовались человеком для обеспечения своей пищи. Аэрогриль – современное изобретение, которое появилось на наших кухнях совсем недавно. Она была создана только в середине 80-х годов прошлого века в США и первоначально называлась «конвекционная печь».В переводе с английского «airgrill» означает решетку радиатора в двигателе автомобиля. Когда в России в 90-х годах появилась аэрогриль, ее назвали аэрогрилем.
Отличительные особенности — минимальное количество используемого жира, высокая скорость и качество приготовления. В комплектацию аэрогриля обычно входит несколько позиций. Решетки используются, в частности, для приготовления мяса. Как правило, их три, разных по высоте. Сетчатый противень необходим для приготовления на пару и во фритюре, а также для сушки.
Есть шампуры для шашлыков и шампура для приготовления птицы. Для извлечения продуктов, посуды и решеток используются специальные щипцы. И, наконец, кольцо-увеличитель предназначено для регулирования объема контейнера.
По принципу работы управление решетками подразделяется на электронное и механическое. Устройства с электронным управлением имеют несколько рабочих скоростей и различные дополнительные функции. Аэрогриль с механическим управлением, конечно же, дешевле и имеет один режим работы.
Принцип работы аэрогриля.
В основе аэрогриля электрическая духовка, которая нагревает пищу не снизу, а сверху. Это устройство представляет собой круглую стеклянную емкость, расположенную на пластиковой подставке, в которую помещают продукты для приготовления пищи. Накрывается крышкой с электронагревателем. Вентилятор, работающий в нагревателе, гонит горячий воздух внутрь контейнера. Эти вихревые потоки нагревают приготовляемую пищу. Температура внутри аэрогриля может достигать 260 градусов.
Его можно контролировать с помощью термостата.
Еда в аэрогриле готовится практически без использования масел. Для приготовления можно использовать практически любую посуду. Если запекать мясо на гриле, то лишний жир стекает на поддон емкости. Аэрогриль позволяет одновременно готовить несколько блюд. Так как емкость для приготовления прозрачная, вы можете наблюдать за приготовлением пищи со стороны.
При покупке обратите особое внимание на крепление крышки. Откидная крышка, прикрепленная к корпусу, гораздо удобнее полностью съемной.Аэрогриль должен иметь не менее трех скоростных режимов. Выберите мощность, которая лучше всего подходит для вашей кухни. Можно увеличить его специальным кольцом, но тогда время приготовления увеличится почти в полтора раза. Размер емкости имеет большое значение, ведь аэрогриль моется вручную. Важно, чтобы напряжение в аэрогриле стабилизировалось. Во избежание возгорания конвекционная печь должна храниться на огнеупорной подставке. Перед применением его необходимо прогреть, а после – дать время остыть.
Что можно приготовить в аэрогриле.
По сути, аэрогриль – универсальный прибор для приготовления любых горячих блюд. В ней можно варить супы, борщи и другие первые блюда. Сварить любую кашу, запечь картошку в горшочках, приготовить оригинальную пиццу не проблема. Шашлыки, котлеты, овощи, рыба отлично прожариваются в аэрогриле. Вы сможете проверить свои кулинарные способности и испечь пироги, булочки и просто ароматный домашний хлеб. Холодное и горячее копчение, сушка грибов, ягод, фруктов и овощей на зиму также под силу аэрогрилю.Самый изысканный вкус ваших гостей будет полностью удовлетворен.
Функции аэрогриля.
Аэрогриль имеет множество необходимых функций. Готовить в абсолютно любой посуде, жарить мясо и рыбу без использования масла – это лишь малая часть того, на что способно это волшебное устройство. Он умеет тушить, варить и запекать овощи, создавать выпечку из всех видов теста. Обжаривание во фритюре и приготовление на пару, а также приготовление домашнего творога и питательного йогурта – все это без особых усилий можно сделать с помощью аэрогриля.
Незаменим для летних заготовок – для консервирования и маринования. В аэрогриле можно варить варенье и глинтвейн, поднимать тесто, размораживать продукты и разогревать приготовленные продукты. И это не предел! Новые модели аэрогрилей, произведенные с учетом всех современных требований, имеют дополнительные функции. Статья подготовлена при поддержке KIV.KZ. Надеемся, агрегаты нового поколения приятно удивят даже самых опытных хозяек.
В магазинах бытовой техники вам понравился новый кухонный прибор — аэрогриль? Вы уже слышали отзывы об этой методике от консультанта.Однако хотелось бы узнать подробную информацию о том, что это за устройство, получить некоторые рекомендации по его эксплуатации. Эта статья поможет всем любознательным.
Принцип действия
Стандартный аэрогриль состоит из большой стеклянной колбы. Также в комплекте есть крышка, в которую вмонтирован специальный нагревательный элемент с вентилятором. Последний обеспечивает равномерное «выдувание» продукта, располагаясь на специальной сетке внутри колбы.
Эта функция позволяет готовить пищу одновременно во всех плоскостях вне зависимости от выбранного режима, будь то жарка, запекание или варка.
Таймер и регулятор температуры устанавливаются на нагревательный элемент снаружи. Пищу можно готовить в разных температурных режимах: от 60 до 260 градусов. При приготовлении можно отказаться от использования масла – продукты не пригорят. Это особенно оценят люди, приверженцы здорового питания, без вредных канцерогенов и жиров.
Какие еще функции выполняет воздушная решетка? Отзыв опытного пользователя, владеющего данным устройством более суток, говорит о быстрой разморозке рыбы и мяса с помощью этого устройства.На аэрогриле можно испечь пирог, засушить грибы или ягоды, а также стерилизовать банки при консервировании.
Вкусно и полезно
У вас дома есть аэрогриль? Отзывы пользователей открывают еще одну полезную сторону этого устройства – оказывается, заодно можно приготовить полноценный обед. Для этого вам нужно будет заполнить соответствующие
горшки товаров.
В первую кастрюлю можно положить ингредиенты для супа, в следующую – для основного блюда и, наконец, в третью кастрюлю положить ингредиенты для десерта.Всего 30-40 минут – и ваш роскошный обед готов!
Особенности
Вы снова видели рекламу аэрогриля по телевизору? Отзыв реального пользователя говорит о том, что заменить все кухонные приборы одним этим прибором не получится. Здесь производители немного приукрашивают. А вот значительно облегчить работу на кухне, разнообразить свой рацион и сделать приготовленные блюда не только очень вкусными, но и действительно полезными, аэрогриль вполне справится с задачей!
Не спешите в магазин и хватайте первое попавшееся устройство.Обратите внимание на аэрогриль Hotter. Отзывы пользователей об этом бренде только положительные. Устройства этой фирмы имеют металлический нагреватель, который не сломается даже при случайном падении.
Какими еще характеристиками должны обладать лучшие аэрогрили? Отзывы пользователей свидетельствуют о том, что целесообразно остановить свой выбор на моделях мощностью 1300 Вт.
Именно она позволяет готовить при оптимальной температуре, предотвращая пересыхание или пригорание продуктов.
Подведение итогов
Как видите, пароконвектомат — действительно ценное и полезное приобретение для всей семьи.С ним вы не только сможете приготовить изумительно вкусные блюда, но и сможете позаботиться о здоровом питании для себя и своих близких!
Для приготовления качественной еды хозяйки используют современную бытовую технику. В торговых центрах и специализированных магазинах можно приобрести модели механизированных помощников, например, выбрать аэрогриль для быстрого приготовления диетических блюд. К сожалению, многие потребители не знают, для каких нужд можно использовать этот продукт.
Чтобы восполнить пробелы в своем кругозоре, узнать технические параметры, преимущества и небольшие недостатки этого непривычного для российского потребителя представителя кухонной техники, вам необходимо внимательно прочитать нашу статью.
Аэрогриль — электрический бытовой прибор, который готовит различные блюда с помощью потоков горячего воздуха, такое изделие разнообразит меню вашей семьи и значительно сократит время приготовления диетической пищи, что очень полезно для всех сторонников здорового образа жизни.
Помимо приготовления пищи, это уникальное изделие для дома можно использовать для разморозки продуктов, разогрева ранее приготовленных продуктов, это устройство поможет хозяйке с консервированием во время ежегодной осенней заготовки продуктов на зиму.Особенностью аэрогриля является тот факт, что продукты в нем готовятся без добавления масла, а значит, еда полезная, без холестерина.
В комплект входят несколько решеток, противень из металлической сетки, шампуры и специальные щипцы для извлечения готовых изделий, чтобы не обжечь руки. Для мяса и рыбы используются сетки, на противне запекаются или тушатся овощи, одновременно можно готовить несколько блюд и наблюдать за процессом через прозрачные стенки емкости.Аэрогриль имеет несколько режимов и в активе есть различные функции.
Конструкция
Описание его предельно простое: стеклянная чаша сверху закрыта крышкой, в которой находится нагревательный элемент и маломощный встроенный вентилятор. Вверху находится панель управления продуктом.
Продукты помещаются в рабочую чашу, продукт плотно закрывается крышкой, а устройство подключается к сети.
Во время приготовления продукты не переворачиваются и не перемешиваются, такой возможности у продукта нет, да она и не нужна, т.к. внутри чаши свободно циркулирует горячий воздух.Вся работа основана на принципе конвекции, поэтому обработка продуктов идеальна, при этом не используются никакие масла и жиры, достаточно влаги и жира внутри продуктов.
Принцип работы
В этом устройстве используется принцип равномерного распределения горячего воздуха по всему объему, поэтому домашнюю аэрогриль специалисты иногда называют аэрогрилем. В современных моделях задается не только температурный режим, но и скорость вращения вентилятора, поэтому умный прибор не даст еде пересохнуть во время приготовления.
Специалисты разделяют подобные устройства на две основные группы:
- простые модели. У них небольшой объем рабочей чаши, всего несколько функций, их цена невысока, поэтому они доступны широким слоям населения.

- Многофункциональные модели – довольно дорогие аэрогрили, которые могут работать в большом количестве различных режимов. С их помощью вы сможете реализовать свои кулинарные фантазии, приготовить экзотические блюда по рецептам мировой кухни.
Именно второй вариант используется для копчения мяса и рыбы в домашних условиях, такое изделие поможет засушить ягоды и грибы впрок, приготовить варенец или простоквашу из молока.
Плюсы и минусы
Для начала рассмотрим все преимущества и почему можно использовать аэрогриль на кухне:
- Изделие можно использовать на даче, во дворе частного дома, например, установив его на открытой веранде или в беседке. При работе он не дымит и не издает неприятных запахов, как его аналог в духовке, потому что крышка закрывается герметично.
- В изделии можно тушить овощи, готовить мясо и рыбу, стерилизовать банки для консервации.
- Установив оптимальную температуру, можно тушить продукты, коптить их или варить кашу по старинному рецепту, как в русской печи.

- Изделие позволяет готовить здоровую пищу без добавления масла и жира, что особенно важно при диетическом питании.
- Значительно экономит время: за полчаса можно приготовить полноценный ужин из трех блюд — первое, второе и десерт.
- В процессе приготовления разных продуктов их ароматы не смешиваются.
- Одинаково хорошо можно приготовить шашлык или жареные ребрышки, готовое изделие выглядит соблазнительно и источает аромат.
- Участие пользователя необходимо только во время приготовления блюда — нарежьте мясо порционными кусками, заложите все подготовленные ингредиенты внутрь рабочей чаши. Все дальнейшее приготовление происходит в автономном режиме, наблюдать за процессом можно только через стекло.
- Запахи из-под чехла не просачиваются в помещение, поэтому люди с аллергией на резкие запахи могут спокойно заниматься своими делами.
Теперь несколько слов о недостатках:
- универсальность продукта — умелый маркетинговый ход производителей;
- выпечка намного хуже, чем в духовке, так как низ пирога или пирожков не пропекается до нужного состояния;
- Вместимости изделия не хватит, чтобы запечь курицу или утку, не говоря уже о гуся или индейке — его надо разрезать на кусочки, чтобы все прожарилось полностью.

Поэтому многие потребители задаются вопросом, нужен ли такой прибор на кухне.
Сколько стоит аэрогриль
Стоимость такого изделия достаточно разнообразна — все зависит от модели, нагревателя и используемых материалов:
- Классические модели с ТЭНами наиболее широко представлены на внутреннем рынке России , цена здесь варьируется в пределах 2,5-13 тысяч рублей.
- Приборы с галогенным обогревателем стоят немного дешевле и продаются по ценам 1,6-9,5 тыс. руб.
- Еще мало изделий из углеродного волокна, композитного материала, где переплетаются тонкие нити резины и графита — это представители бюджетного сегмента и стоят 2-3 тысячи рублей.
- Универсальные крышки, которые подходят под посуду из закаленного стекла, самые дешевые, такой прибор можно приобрести за 1,2-1,8 тыс. ₽.
Чем отличается аэрогриль от духовки
Что лучше купить для хозяйственных нужд — аэрогриль или духовку одной фирмы, однозначно сказать нельзя, хотя работают они на принцип конвекции: приготовление пищи осуществляется при циркуляции горячего воздуха.
Аэрогриль компактен и потребляет меньше электроэнергии.
Для любителей домашней выпечки и курицы, запеченной с хрустящей корочкой, предпочтение будет отдано духовке – аэрогриль не в состоянии приготовить такие лакомства. Пользователи, предпочитающие здоровую пищу без добавления масел и жиров, выберут аэрогриль, здесь большую роль играет компактность изделия.
Вердикт прост: оба изделия нужны на кухне для разных целей, поэтому оптимальный вариант – это стационарная духовка и малогабаритный аэрогриль, которые пригодятся любой хозяйке для приготовления кулинарных изысков, не требуя особого присмотра во время приготовления. процесс приготовления.
Как выбрать
Искусство выбора аэрогриля практически ничем не отличается от покупки любой бытовой техники, здесь главное обратить внимание на основные параметры, которые мы подробно рассмотрим.
Объем
Производители указывают два числа — например, 10/14, первое указывает на оптимальный объем рабочей чаши, который можно увеличить до второго размера с помощью вставки.
В комплекте идет плотное кольцо, которое необходимо установить на рабочую чашу для увеличения ее объема.
Мощность
Этот параметр варьируется в пределах 0,6-1,0 кВт, и у одного изделия может быть несколько вариантов мощности, которые зависят от режима приготовления, температуры и скорости распространения конвекции.
Скорость вентилятора
У бюджетных моделей скорость не меняется, а у более дорогих моделей может быть до трех разных скоростей вентилятора.
Автоматический подогрев
Некоторые модели поддерживают функцию подогрева ранее приготовленной пищи до нужной температуры, что очень удобно.
Крышка
Эта часть может быть откидной или съемной, каждая из них имеет индивидуальные преимущества: с кронштейном пользователю не нужно думать, куда поставить горячую крышку, а отдельная опция позволяет увеличить внутренний объем из-за установленного кольца.
Блок управления
Недорогие модели имеют механическое управление, а более дорогие имеют электронную панель управления с набором тонких настроек и выбором режимов.
Таймер
Практически все модели аэрогрилей оснащены этим полезным устройством, разница лишь во времени задержки или продолжительности режима.
Самоочистка
Эта функция присутствует во всех моделях, но ее необходимо периодически выполнять самостоятельно, чтобы избежать пригорания продуктов во время приготовления.
Чтобы правильно выбрать аэрогриль для своей семьи, необходимо изучить советы специалиста:
- Если у вас уже есть на кухне духовой шкаф и микроволновая печь, то достаточно приобрести классическую модель с чашей объемом 3-6 литров, откидная крышка и мощность не более 1 кВт. Выбирайте обширный функционал, управление электронное, а обогреватель — галогенная лампа.
- Любителям кулинарных экспериментов стоит обратить внимание на модели объемом до 10 литров и мощностью не менее 1,3-1,4 кВт с галогенным обогревателем, функционал должен быть максимально расширен.
- Если у вас небольшая кухня, лучше купить универсальную крышку, которая идеально подходит для стандартной посуды.
Нагревательный элемент самый простой, управление механического типа. Если вы планируете использовать прибор для разогрева еды, то выбирайте галогенную лампу, и мощности будет достаточно 0.8-1,0 кВт.
Внушительные габариты и соответственно объемы нужны для большой семьи, иначе будет перерасход энергии и увеличение коммунальных платежей.
Обзор лучших воздушных грилей
- Тип товара: Airfryer
- Управление: Электронные, Количество программ — 10
- Потребляемая мощность: 1,4 кВт
- Объем: 10 л
- LID: на кронштейне
- Таймер: 10 часов
- Нагревательный элемент: нагревательный элемент
- Регулировка: температура, скорость вентилятора
- Размеры: 330x350x450 мм
- электронное управление
- автоматическая подача пара
- возможность программирования
- простота использования и стирки
- Тип: Товары — Аэрогриль, Контроль — Механика
- Потребляемая мощность
- Внутренний объем: 800 Вт
- Внутренний объем: подходит для любого контейнера диаметром 225 мм
- Обложка: съемный
- Таймер: в течение 1 часа
- Нагревательный элемент: галогенная лампа
- Регулировка: температура
- Режимы: разморозка продуктов, самоочистка
- уникальные компактные размеры
- простота использования
- высокое качество сборки и материалов
- под емкость необходимо поставить подставку, иначе она сильно нагревается
- Преимущество аэрогриля в том, что на нем можно готовить без масла, маргарина и жира — к чаше абсолютно ничего не прилипнет.
- В аэрогриле можно приготовить несколько блюд одновременно, чем он выгодно отличается от аналогичного устройства — мультиварки.
- Так как емкость для приготовления прозрачная, весь процесс можно наблюдать сбоку.
- Аэрогриль позволяет приготовить или разогреть еду абсолютно в любой посуде
- В аэрогриле можно приготовить борщи, супы и другие первые блюда.Здесь, например, можно сварить вкусную кашу, запечь картошку в горшочках, приготовить пиццу.
- Также в аэрогриле вполне можно разморозить различные продукты и разогреть готовые блюда.
- В аэрогриле можно варить, тушить и запекать овощи.
- В приготовлении домашнего йогурта и творога рассматриваемый прибор точно станет верным помощником хозяйки.
- Без аэрогриля не обойтись при создании заготовок на зиму — при мариновании и консервировании, а также сушке грибов, фруктов, ягод и овощей на зиму.
- Для процессов горячего копчения, жарки во фритюре и приготовления на пару также важно использовать эту машину.
- Желающие проверить свои кулинарные способности могут испечь пироги, булочки или, например, домашний ароматный хлеб в аэрогриле.
Немаловажно и то, что можно без проблем приготовить выпечку практически из любого вида теста. - Мясо и рыба отлично обжариваются в аэрогриле, причем без использования подсолнечного масла. Хотите приготовить рыбное филе или куриные котлеты? Без проблем! Также вполне можно пожарить шашлык аэрогрилем.
- Помимо всего прочего, по этой технике можно, например, сварить варенье и сварить глинтвейн.
- Проведение — это когда тело вашего любовника прижимается к вашему.
- Конвекция это когда твой любовник дует тебе в ухо.
- Радиация это когда вы чувствуете тепло тела вашего любовника под одеялом, не касаясь его.
- Испаритель
- Компрессор
- Компрессор
- Конденсатор
- Расширение
- Хладагенты
Наверняка в вашем доме уже есть такие помощники, как мультиварка, микроволновая печь, а может и мангал-барбекю и тому подобное.
Хотите купить аэрогриль? Зачем? Мы расскажем вам сейчас.
Давайте посмотрим, для чего нужен аэрогриль. В последние годы о холестерине много говорят и пишут, ведь он представляет собой серьезную угрозу. Страшно еще и тем, что вред жирной пищи сначала незаметен, а потом — снова… Однако, несмотря на все предостережения, решиться на кардинальные изменения своего образа жизни и питания крайне сложно, и для этого есть объективные причины. это.
Первая работа. На это уходит много времени, в итоге у нас нет свободных часов для приготовления здоровой пищи и мы спешим на фаст-фуд.
Второе — привычка. Жирная картошка фри, хрустящая куриная ножка… Ежедневный стресс приводит к стрессу, а любимые лакомства прекрасно его снимают!
В-третьих, затраты и усилия. Чтобы приготовить диетическое, нежирное, нужно не только купить соответствующие продукты (рекомендуется, например, лосось — дорогое удовольствие), но и иметь дома пароварку и другую специальную технику… Который, кстати, уже захламляет кухню.
Как ворчат хозяйки, скоро для каждого блюда свой агрегат придумают!
Наконец, четвертая причина… это стереотипы. Бытует мнение (и никакие кулинарные книги и ток-шоу его почему-то не меняют!), что здоровая еда – это, да, хорошо, но так скучно и безвкусно! Довольно свежо! Не хрустит! На языке не тает, в общем!
Нужен ли аэрогриль на кухне? нужно обязательно! Все вышеперечисленные причины можно устранить с помощью аэрогриля.Не зря его называют AEROgrill. Продукты готовятся на решетках, благодаря равномерному воздействию потоков горячего чистого воздуха. Они не горят, масло не требуется, а жир сам растает и вытечет.
Что мы получаем в результате? Прожаренное мясо — один. Сочные внутри, с безопасной (без канцерогенов!) корочкой снаружи – два, без лишнего жира – три. (Например, из курицы вытапливают стакан сала. Один раз такое увидишь, больше никогда не захочешь пить этот стакан с мясом…).
Таким способом можно приготовить привычные блюда — но безопасно! По сути, та же картошка фри, но без вреда для организма! Вам не нужно будет отказываться от привычного способа питания и покупать специальные продукты.
Аэрогриль оснащен функцией отсрочки старта и не требует внимания: не нужно смотреть, чтобы он не подгорел, не нужно мешать, он даже сам выключится. Он не будет отвлекать от дел, позволит поддерживать рабочий темп.
Аэрогриль представляет собой совокупность до десяти кухонных приборов, включая пароварки, микроволновые печи, плиты, сушилки и т. д. Вам не придется носиться по кухне от одного агрегата к другому, совершать сложные манипуляции с настройками и т. д. . То есть здоровое питание не требует дополнительных усилий.
И самое главное! С аэрогрилем вы не только защититесь от холестерина, но и похудеете. До шести килограммов минус один месяц. Такого результата не даст даже фитнес! Как это достигается? Аэрогриль снижает количество калорий ровно наполовину, и сохраняет все полезные вещества, поддерживающие тело в форме.Ведь на самом деле в аэрогриле все готовится только диетическим способом! Но остается таким же вкусным!
Итак, для того, чтобы обезопасить себя от холестерина, есть все условия и нужен вам аэрогриль в хозяйстве или нет, вы решаете сами.
Быть здоровым!
Наверняка многие слышали о таком приспособлении, как аэрогриль. Чем он может быть полезен в хозяйстве и для чего он нужен? На самом деле аэрогриль (или, как его еще называют, аэрогриль) – очень полезная вещь на кухне.Этот электроприбор предназначен для обработки и приготовления пищи потоками нагретого воздуха.
Аэрогрили были изобретены в середине восьмидесятых годов прошлого века в США. Ну а в девяностых они появились на нашем рынке. И тогда к ним приклеилось красивое слово «аэрогриль».
Устройство и оборудование
Современный аэрогриль представляет собой прозрачную чашу или колбу с подставкой и крышкой, закрывающей всю конструкцию сверху. Внутри крышки находится нагревательный элемент (трубчатый электронагреватель) и вентилятор, а панель управления расположена снаружи.
В некоторых бюджетных моделях вместо ТЭНов используются галогенные ТЭНы. Стекло чаши при использовании галогенок практически не подвержено окислению и коррозии, и это явный плюс.
Однако при этом галогеновые обогреватели имеют скромный ресурс работы и не очень большой срок службы. Обычно это 3 года. У металлических ТЭНов, кстати, этот показатель намного выше – 8-10 лет.
В дополнение к перечисленным выше элементам в комплект аэрогриля обычно входят решетки для приготовления мяса.Как правило, их три, и они различаются по высоте. Часто в комплекте также можно увидеть специальный сетчатый противень, который может понадобиться для приготовления на пару и во фритюре, а также для сушки. Большинство недорогих моделей плюс ко всему оснащены металлическим кольцом – оно устанавливается сверху на чашу и служит для увеличения и регулировки ее объема.
Принцип работы и разновидности
Принцип работы аэрогриля заключается в следующем: нагреватель нагревается до нужной температуры, затем под воздействием вентиляторов разнонаправленный горячий воздух поступает в чашу, равномерно обдувает пищу и качественно ее разогревает.В результате можно запекать, жарить, тушить, готовить блюдо в аэрогриле.
Кстати, температура нагрева воздуха здесь колеблется в пределах от +60 до +260 градусов.
Аэрогрили могут иметь один из двух видов управления:
Модели с механическим управлением достаточно просты — у них только один режим работы. В общем, этот вариант постепенно уходит в прошлое, но у него есть одно очевидное преимущество: цена аэрогрилей с таким управлением довольно низкая.
Устройства с электронным управлением имеют несколько скоростей и режимов работы, а также различные дополнительные функции.Например, современные аэрогрили оснащены таймерами, поэтому присутствие и постоянный контроль человека не требуется. Устройство автоматически выключится в нужное время.
Многие электронные конвекционные печи имеют функцию «Поддержание температуры». Он позволяет продолжить тушение блюда на горячем воздухе после самого процесса приготовления.
Еще одна полезная функция — «Самоочистка». Чаши современных аэрогрилей изготовлены из небьющегося жаропрочного стекла, поэтому они достаточно тяжелые и за ними непросто ухаживать.
С функцией самоочистки все предельно просто: нужно просто залить воду с моющим средством в аэрогриль и нажать на кнопку.
Наличие функции регулировки высоты также будет приятным бонусом для покупателей. Эта функция позволяет размещать продукты выше или ниже нагревательного элемента.
Достоинство
Аэрогриль способен заменить другую бытовую технику, например, микроволновую печь, тостер, электроплиту, пароварку.Это очень весомый аргумент в пользу его приобретения для тех, кто еще сомневается, нужен ли этот прибор на кухне.
Как выбрать хорошую модель?
В первую очередь покупателю следует ознакомиться с функциями устройства.
И не всегда нужно выбирать самый «навороченный» аэрогриль. Зачем он нужен, если его предполагается использовать только для определенных целей? Большое количество функций во многих ситуациях кажется избыточным.
Также стоит посмотреть предлагаемое оборудование.Хорошо, если в комплекте есть щипцы для замены и захвата уже готовых блюд. Наличие вертела для курицы и шампуров также является весомым преимуществом.
Еще один важный момент – лучше выбирать модели со съемным шнуром. Это облегчит как мытье, так и хранение устройства. А вот съемная крышка на аэрогриле не очень удобна. В процессе приготовления, наверное, придется искать место, куда его поставить, очень горячее. Крышка, прикрепленная к корпусу скобой, намного практичнее — она всегда будет на своем месте.И обязательно надо посмотреть место его стыка с корпусом. Крепления должны быть металлическими, а не пластиковыми, так как крышка имеет солидный вес.
По возможности выбирайте модель аэрогриля со съемной защитной решеткой (предназначена для защиты нагревательных элементов).
Конечно, такая решетка довольно быстро забивается, а если она съемная, то ухаживать за ней будет гораздо проще. Достаточно открутить болты, снять его, промыть и поставить на место.
Что можно приготовить во фритюрнице?
Итак, конвекционный гриль, несомненно, облегчит процесс приготовления и займет достойное место на кухне. И многие потребители уже убедились на практике, что это устройство, способное заменить сразу несколько других бытовых приборов с аналогичными функциями. То есть покупка аэрогриля – это экономный и разумный выбор.
Наука мясного гриля | Leite’s Culinaria
Если вы любознательны и хотите знать, как работает гриль, гуру гриля Meathead Goldwyn расскажет о научных принципах газовых и угольных грилей с точки зрения теплопроводности, конвекции и излучения.
Вам понравится домашнее задание.
Адаптировано из Meathead: The Science of Great Barbecue and Grilling | Houghton Mifflin, 2016
Вы когда-нибудь стояли у своего гриля и задавались вопросом, как именно работает гриль? Не только с точки зрения пиротехники, но и с точки зрения термодинамики и других технических учебников, которые имеют место? Здесь, чтобы объяснить все это — за исключением скучных лекций и надоедливой домашней работы — гуру гриля и автор бестселлеров кулинарной книги Митхед Голдвин, который объясняет, как именно работает приготовление пищи на открытом воздухе, в блаженных прямолинейных терминах. И даже он признается, что в нем есть немного магии, смешанной с химией, которая заставляет нас любить его еще больше. Ниже приводится лишь краткое изложение обильной и четко сформулированной информации, содержащейся в его книге «Мясник : наука о большом барбекю и гриле» и на его сайте AmazingRibs.com . — Рене Шеттлер
Что нужно знать грильядеру
Возможно, вы думали, что забыли физику и химию, когда закончили школу, но если вы хотите хорошо поесть, вам нужно понять, что приготовление пищи, особенно приготовление на гриле, это все про физику и химию, с примесью магии.
Вот несколько основных концепций, которые должен знать каждый гриль-бар.
Что такое готовить?
Приготовление — это процесс изменения химического состава пищи, обычно путем передачи энергии в виде тепла еде на достаточно долгое время, чтобы она приобрела желаемый вкус, текстуру, нежность, сочность и внешний вид.
Три способа приготовления пищи при нагревании
Пища нагревается, когда молекулы вибрируют так быстро, что их температура повышается. При приготовлении пищи на открытом воздухе тепло передается пище тремя способами . Очень важно, какой из них вы используете. Эти процессы были описаны следующим образом:
Давайте будем более точными:
Теплопроводность
Теплопроводность – это когда тепло передается пище при прямом контакте с источником тепла.
Приготовление хот-дога на сковороде – это кондукция. Тепло от горелки передается на сковороду, молекулы которой вибрируют, и передают вибрацию сосиске. Поскольку поверхность мяса нагревается сильнее, чем внутри, тепло передается к центру через влагу и жиры. Это тоже проводка. Следы гриля — хороший пример проводимости. Тепло передается решеткам гриля, и горячий металл клеймит мясо.
Фото: Джошуа Резник
Конвекция
Конвекция – это когда тепло переносится к пище жидкостью, такой как воздух, вода или масло.Приготовление хот-дога в кухонной духовке, окруженной горячим воздухом, — это приготовление с конвекцией. Так же, как варить его в воде или жарить во фритюре в масле (вам действительно нужно один раз попробовать жареный во фритюре хот-дог). Если вы разогреваете одну сторону гриля и кладете еду на другую сторону, она готовится за счет естественной конвекции воздушного потока. Большинство газовых грилей готовят за счет конвекции. Обычная комнатная печь использует для приготовления пищи естественную конвекцию воздуха, но «конвекционная печь» имеет вентилятор и дополнительный источник тепла рядом с вентилятором и использует принудительный поток воздуха.
Конвекционная печь готовит на 25-30% быстрее. Движущийся теплый воздух передает больше энергии, чем застойный теплый воздух. В любом случае поток воздуха готовит только внешнюю часть мяса, внутреннюю часть мяса готовят за счет теплопроводности, когда тепло проходит через него.
Излучение
Излучение – это передача тепла при прямом воздействии источника световой энергии. Повесьте хот-дог на вешалку и держите его сбоку от костра, и вы готовите на излучении. Так готовят большинство угольных грилей.
Лучистое тепло дает больше энергии, чем конвекционное тепло. Допустим, у вас есть два газовых гриля. На одном гриле две конфорки справа включены на полную мощность, а две конфорки слева выключены. Температура воздуха на левой стороне, на стороне непрямого нагрева, может составлять 325°F (163°C), поскольку конвекционный поток воздуха с правой стороны циркулирует по левой стороне. Давайте положим стейк и большое жаркое из ребрышек с левой, непрямой стороны.
На втором гриле все четыре конфорки работают на среднем уровне, а температура воздуха с обеих сторон также составляет 325°F (163°C).На этот гриль тоже положим стейк и жаркое. Нижняя часть стейка лучше подрумянится на втором гриле, потому что она находится выше прямого лучистого тепла, которое передает больше энергии, чем первый гриль, где тепло исходит от конвекционного воздуха. Но к тому времени, когда жаркое будет готово, оно будет чернее траурной шапки.
Хотите? Нажмите на нее.
Расстояние от источника энергии также является важным фактором. Энергия рассеивается по мере удаления от источника тепла. В керамическом гриле за 800 долларов источник тепла может находиться на расстоянии 2 дюймов от поверхности для приготовления пищи, в то время как в чайнике Weber за 89 долларов уголь находится всего в 4 дюймах, а в Hibachi за 30 долларов угли могут быть всего в 1 дюйме.Стенки керамической плиты толстые, они поглощают огромное количество тепла, а затем равномерно его выделяют, что делает печь очень эффективной с очень стабильной температурой приготовления и очень низким потреблением топлива.
Идеально подходит для жарки. Но стейк на варочной поверхности не подрумянится так же хорошо, как на Weber или даже на Hibachi, потому что угли находятся так далеко и потому что большая часть тепла исходит от керамических боковых стенок и купола, а не от раскаленных сияющих углей прямо под варочной панелью. мясо.
Магия инфракрасного излучения
Если вы помните школьную науку, то знаете, что инфракрасное излучение — это участок континуума длин волн вокруг нас, расположенный выше по дороге от видимого света и ниже по дороге от радио в вашем автомобиле.Инфракрасное излучение — лучший способ нагрева продуктов на гриле. Угольные грили производят большое количество прямого инфракрасного излучения, которое преобразуется в тепло при попадании на пищу. Газовые грили производят в основном конвекционное тепло. Конвекционное тепло может легко рассеиваться воздушными потоками и расстоянием, в то время как инфракрасное излучение проходит.
В последние несколько лет ряд газовых грилей заявляют о своем превосходстве, потому что они используют инфракрасное тепло или имеют ИК-горелку или зону шипения, предназначенную для генерирования сильного тепла для получения темного обжаривания мяса.
Это попытка производителей газовых грилей сократить разрыв с угольными грилями. В газовом ИК-гриле пластина из специального стекла, керамики или металла поглощает тепло и свет пламени и повторно излучает их пище в виде ИК-излучения.
Фото: TEC Infrared Grills
ИК-нагрев лучше? По словам научного консультанта AmazingRibs.com, доктора Грега Блондера, «ИК-энергия доставляется быстрее, чем конвекция, но медленнее, чем проводимость. Таким образом, он может подрумянивать немного эффективнее, чем обычный гриль, но не так быстро, как горячая сковорода или решетки гриля.Горячих точек от ИК-плит меньше. С другой стороны, вы можете получить тепловой разгон с помощью ИК. Если одна часть мяса темная, она поглощает больше ИК-излучения, чем более светлые части. Он коричневеет, становится еще темнее и, в конце концов, сгорает». А настоящие ИК-горелки плохо справляются с достижением низких температур.
Я рекомендую газовые грили с секциями ИК-горелки, особенно для получения темных обжаренных стейков и другого мяса, когда подрумянивание поверхности создает тысячи новых вкусовых соединений.
Как работает ваш гриль
Вот как работают различные уличные плиты:
1.Древесный уголь или дрова прямого нагрева. Древесный уголь производит лучистое тепло в нижней части. Решетки поглощают тепло и производят тепло проводимости на частях поверхности пищи, оставляя следы от гриля. Крышка отражает в основном конвекционное тепло. Внешняя часть пищи поглощает прямое тепло снизу, преобразует его в тепло проводимости, и оно перемещается к центру пищи.
2. Древесный уголь или дрова косвенного нагрева. Древесный уголь в стороне создает как конвекцию, так и лучистое тепло. Решетки поглощают тепло и производят теплопроводность на поверхности пищи, делая следы от гриля.Внешняя сторона пищи поглощает непрямое конвекционное тепло со всех сторон, преобразует его в тепло проводимости, и оно перемещается к центру пищи.
3. Крышка для угля или дерева. Древесный уголь излучает тепло. Решетки поглощают тепло и производят теплопроводность на поверхности пищи, делая следы от гриля.
Внешняя сторона пищи поглощает лучистое тепло только снизу. Нижняя часть продукта преобразует поглощенную энергию в тепло проводимости, и она перемещается к центру продукта.Без крышки тепло уходит от еды вверх, охлаждая ее верх.
4. Плоская верхняя часть. Газовые или угольные грили производят лучистое тепло в топке. Твердая сковорода под едой поглощает тепло и создает теплопроводность на поверхности пищи. Нижняя часть продукта поглощает тепло проводимости, подрумянивается в местах контакта с поверхностью и отводит тепло к верхней части продукта. Без крышки тепло уходит от еды вверх, охлаждая ее верх.
5. Газ прямого нагрева. Горелки производят лучистое тепло, которое нагревает металлические решетки, лавовые камни или керамические брикеты. Они поглощают тепло и производят лучистое и конвекционное тепло. Решетки поглощают тепло и производят тепло проводимости на поверхности пищи. Внешняя часть пищи преобразует всю эту поступающую энергию в тепло проводимости, и она перемещается к центру пищи.
6. Косвенный тепловой газ. Горелки сбоку производят лучистое тепло, которое нагревает металлические решетки для защиты от капель, лавовые камни или керамические брикеты.Они поглощают тепло и производят лучистое и конвекционное тепло. Решетки поглощают тепло и производят тепло проводимости на поверхности пищи. Внешний вид продукта поглощает непрямую конвекцию со всех сторон. Внешняя часть пищи преобразует энергию в тепло проводимости, и она перемещается к центру пищи.
7. Крышка от газа. Горелки производят лучистое тепло, которое нагревает металлические решетки, лавовые камни или керамические брикеты. Они поглощают тепло и производят лучистое и конвекционное тепло.Решетки поглощают тепло и производят тепло проводимости на поверхности пищи. Внешняя часть пищи преобразует энергию в тепло проводимости, и она движется к верхней части пищи. Без крышки лучистое тепло уходит от еды вверх, охлаждая ее верх.
8. Инфракрасный газ. Горелки излучают тепло, которое, в свою очередь, нагревает специальную пластину.
Он поглощает тепло и излучает его в виде лучистого тепла в инфракрасной части спектра. Решетки поглощают тепло и выделяют тепло проводимости там, где они соприкасаются с поверхностью пищи.Нижняя часть продукта поглощает лучистое тепло, преобразует его в тепло проводимости и перемещает его к центру продукта. Верхняя часть пищи нагревается за счет непрямого конвекционного тепла, отражающегося от крышки.
Иллюстрация: Amazingribs.com
Как тепло перемещается внутри мяса
Когда вы кладете пищу в закрытый сосуд, такой как гриль, коптильня или духовка, горячий воздух, содержащий множество вибрирующих молекул, передает часть своей энергии мясу. внешний вид мяса. Энергия воздуха возбуждает молекулы на поверхности мяса, а затем они передают тепло молекулам внутри него и так далее, медленно передавая энергию к центру мяса подобно волне тепла.Это требует времени, потому что мясо примерно на 75% состоит из воды, а вода является хорошим изолятором, особенно когда она находится внутри мышц.
Тепло движется внутрь, потому что физика подсказывает, что мясо стремится к равновесию, пытаясь сделать температуру одинаковой от края до края. Таким образом, большая часть мяса готовится мясом, а не воздухом .
Жар также больше поджаривает точки и углы, потому что он может атаковать сразу по нескольким направлениям. Вот почему пирожные и лазанья в углах более хрустящие. А кости нагреваются с другой скоростью, чем мышечная ткань, потому что они наполнены воздухом или жиром, поэтому в большинстве случаев они нагреваются медленнее, чем остальное мясо.
Когда вы снимаете мясо с огня, оно продолжает стремиться к равновесию и продолжает готовиться, потому что тепло, скопившееся во внешних слоях мяса, продолжает передаваться вниз к центру, в то время как часть тепла уходит в воздух и охлаждает экстерьер. Это явление называется остаточным приготовлением пищи.
Толстый кусок мяса, такой как грудка индейки, может подняться на 10°F примерно через 15 минут после снятия с гриля из-за переноса.
Более тонкий кусок мяса, такой как толстый стейк, может подняться только на пару градусов, а куриная грудка может вообще не подняться.Это важно знать, потому что от 5 до 10 ° F может быть разница между влажной индейкой и картоном, стейком средней прожарки и стейком средней прожарки. Чтобы компенсировать это, используйте хороший цифровой термометр и снимайте толстые куски мяса, температура которых примерно на 5°F ниже целевой.
Толщина мяса важнее веса
Температура пищи медленно повышается во время приготовления, но толщина мяса является основным фактором, влияющим на то, сколько времени потребуется для достижения желаемой температуры в центре.Тонкий стейк готовится быстрее, чем толстый. Таким образом, основное ребро толщиной 5 дюймов и весом 8 фунтов будет приготовлено за то же время, что и основное ребро толщиной 5 дюймов, которое весит 12 фунтов. Любой рецепт, в котором говорится «приготовьте стейк по три минуты с каждой стороны» без указания толщины стейка, имеет серьезные недостатки.
Когда мясо готово к употреблению?
Пища готова к употреблению, когда она безопасна и достигнута заданная температура. Среднепрожаренный стейк имеет температуру от 130 до 135 ° F (от 54 до 57 ° C) в центре, независимо от толщины, веса и температуры приготовления.Единственный лучший способ узнать, пора ли есть, — это использовать точный цифровой термометр. Вы не сможете сказать, проткнув мясо, если вы не профессионал, который годами готовил одни и те же стейки на одном и том же гриле. Единственное, что вы можете сделать, чтобы улучшить свою кулинарию, — это приобрести хороший цифровой термометр для мяса с мгновенным считыванием. Второе самое важное, что вы можете сделать, это приобрести хороший цифровой термометр для духовки.
Фото: VDB Photos
Хорошо, некоторые продукты трудно определить с помощью термометров. Вам не нужен термометр, чтобы определить, когда спаржа будет готова, а из-за большого количества костей почти невозможно сказать, когда будут готовы ребра.
Но для большинства видов мяса ничто не заменит точное знание температуры пищи.
Повелитель пламени и хранитель времени
Хорошая кулинария — это правильное сочетание тепла и времени. Чем выше температура, тем меньше времени требуется. Уменьшите огонь, вам нужно больше времени. Но вы просто не можете настроить свою плиту на Warp 10 для каждого продукта. Некоторые требуют низко и медленно.
Ваша домашняя духовка имеет три основных компонента для управления нагревом и временем: источник тепла, термостат и таймер.Ваша уличная печь, а духовка — это то же самое, что ваш гриль или коптильня, имеет источник тепла, но лишь немногие из них имеют термостат или таймер. И именно поэтому готовить на открытом воздухе намного сложнее, чем в помещении. Скажи это своей второй половинке (и спи на диване).
Чтобы приготовить вкусную еду на свежем воздухе, вам нужно стать повелителем пламени и хранителем времени. Многие грили поставляются с термометром, но обычно это дерьмо.
Термометр на моем газовом гриле часто отклоняется на 50°F (10°C)! У вас обязательно должен быть хороший термометр для духовки.
Помимо того, что вы знаете, какая температура у вашей плиты, вам нужно знать, какая температура у вашего мяса. Готовить без термометра для мяса — все равно, что водить машину без спидометра. Вы можете подумать, что находитесь под лимитом, но попробуйте объяснить это судье. Или ваши гости за ужином. Первоначально опубликовано 21 июля 2016 г.
© 2020 Meathead Goldwyn. Верхнее фото фото © 2020 Yingo. Все права защищены. Все материалы использованы с разрешения.
Это так здорово, как вы думаете? – Клиника Кливленда
Если вы знаете кого-то, кто
клянется своей фритюрницей, у вас может возникнуть соблазн попробовать ее.В конце концов, это заманчиво: эти настольные устройства циркулируют тепло при высокой температуре.
температуры для жарки, гриля или запекания без использования масла. Они создают хрустящую
внешний слой, оставляя пищу влажной и жевательной внутри.
Cleveland Clinic — некоммерческий академический медицинский центр. Реклама на нашем сайте помогает поддерживать нашу миссию. Мы не поддерживаем продукты или услуги, не принадлежащие Cleveland Clinic. Политика
Мы поговорили с диетологом Арианой Кукуцца, доктором медицины, чтобы выяснить, стоит ли аэрофритюрнице место на вашем прилавке.Хорошие новости? Она говорит, что в целом у жарки на воздухе больше преимуществ, чем недостатков.
Верх
Основная причина, по которой людям нравится жарить на воздухе, заключается в том, что по сравнению с жаркой во фритюре она значительно снижает общее потребление калорий. На самом деле, говорит Кукуцца, большинство людей сокращают потребление калорий в среднем на 70–80% при использовании фритюрницы.
Фритюрницы также
экономия времени. «Вы можете запечь куриную грудку во фритюрнице быстрее, чем
можно в духовке, и уборка, как правило, проще», — говорит она.
Еще одно преимущество: если у вас дома есть привередливые любители овощей (я имею в виду, в частности, детей), жарка на воздухе — отличный способ поджарить овощи и сделать их вкуснее.
Наконец, в отличие от жарки во фритюре,
обжаривание на воздухе обычно нет
наполните свой дом запахом жареной пищи на несколько часов.
Обратная сторона
Одним из недостатков жарки на воздухе является
что это побуждает некоторых людей думать: «Это здорово — я могу есть жареную пищу
ежедневно!»
«Хотя диета с низким содержанием жира, приготовленная на воздухе, звучит заманчиво, вы в конечном итоге упустите замечательные преимущества растительных жиров, таких как масло авокадо и оливковое масло», — говорит Кукуцца.(Легко забыть, что высококачественный жир в умеренных количествах имеет решающее значение для здоровья мозга и гормонов.)
Обжаривание на воздухе также дает высокую
температуры с очень высокой скоростью, что позволяет чрезвычайно легко поджечь пищу.
А обугленная пища может быть канцерогенной.
Кроме того, добавляет Кукуцца, поскольку большинство устройств готовят от 1 до 3 фунтов пищи за раз, жарить еду на воздухе для большой семьи может быть непросто.
Лучшие продукты для жарки на воздухе
Любая еда, к которой вы привыкли
жарка, как картофель и курица, обычно очень хорошо получается на воздухе
фритюрница
«Если вы ищете что-нибудь для жарки на воздухе, я бы порекомендовал домашний картофель фри из сладкого картофеля, — говорит Кукуцца. «Бывает сложно сделать их хрустящими в обычной духовке. Вместо этого посыпьте их своей любимой приправой, бросьте во фритюрницу и наслаждайтесь !»
И последнее соображение: если вы хотите инвестировать в фритюрницу, Cucuzza рекомендует искать модели, в которых используется пластик, не содержащий BPA.
4 метода управления жаром на угольном гриле
Известно, что
Древесный уголь трудно контролировать.Вот почему вы получаете курицу, подгоревшую снаружи, но все еще сырую внутри. Вот почему так важно контролировать нагрев угольного гриля.
Если вы хотите, чтобы ваша еда была идеально приготовлена на гриле, вам необходимо контролировать температуру, чтобы она была достаточно горячей для приготовления, но не настолько горячей, чтобы обжечься.
Кроме того, вы можете готовить по разным рецептам при разной температуре. Например, вы захотите приготовить стейк на сильном огне, чтобы он был подрумяненным снаружи, но все еще красивым и розовым в середине.Принимая во внимание, что, как мы упоминали выше, что-то вроде курицы (или свинины) нуждается в более низкой и более равномерной температуре, чтобы оно было приготовлено.
Вот 4 совета, которые покажут вам, как контролировать жар:
1 – Сборка продовольственной охраны
Пищевой щиток создает защитный слой между пищей и пламенем, образуя барьер. Это замедляет процесс приготовления. По сути, барьер из алюминиевой фольги означает, что пища больше не находится на прямом пламени или прямом нагреве.
Это своего рода аварийное решение. Когда температура слишком высока и вам нужно быстро исправить, это идеальное решение. Все, что вам нужно сделать, это взять немного алюминиевой фольги и сложить ее так же, как вы складываете письмо, которое вы положите внутрь и заверните.
На самом деле, не так уж важно, как вы ее сложите, но мы бы рекомендовали фольгу толщиной в три слоя, так как именно это действительно необходимо для значительного влияния на температуру, достигающую пищи.
2 – Слой древесного угля в зонах
Наслоение древесного угля для создания зон или областей для приготовления пищи требует некоторой подготовки перед тем, как разжечь гриль, но это действительно имеет большой смысл и значительно облегчает вам жизнь.
Идея проста, независимо от того, настраиваете ли вы ее сзади наперед или слева направо. Зона 1 — это горячая зона для запечатывания и обжаривания. В общем, все, что нужно готовить при высокой температуре.
Вторая зона предназначена для таких продуктов, как курица, для которых нужна более низкая температура.Это зона средней температуры для приготовления пищи.
И, наконец, третья зона — контрольная зона. Это полностью не нагреваемая зона, которую вы в основном будете использовать для отдыха мяса или если другие зоны станут слишком горячими, и вам нужно повторно отрегулировать температуру.
Сделать это намного проще, чем кажется. Это просто наслоение углей. Крайний справа в контрольной зоне не кладите угли. В двух других зонах положите слой углей и разровняйте или разгребите их.Наконец, в крайнем левом углу (в горячем месте) положите второй слой углей и разровняйте их.
Это означает, что два слоя углей будут горячее, чем один слой углей, который снова будет горячее, чем область без углей. Простой!
3 – Используйте решетки Grill Master
Этот метод управления температурой на угольном гриле, безусловно, самый простой для понимания. Наука, стоящая за этим, проста: чем ближе еда к углям, тем горячее она будет.
Итак, если для приготовления пищи требуется более высокая температура, переместите решетку гриля ближе к углям. Если пища, которую вы готовите, требует более низкой температуры, вы можете переместить пластину гриля на несколько решеток, чтобы она находилась дальше от углей.
4 – Использование вентиляционных отверстий для угольного гриля
Ранее мы сделали полную статью об использовании вентиляционных отверстий для контроля температуры на гриле.
Тем не менее, мы дадим здесь краткое резюме. Если вы хотите больше подробностей, я бы посоветовал вам прочитать предыдущую статью.
Общий принцип заключается в том, что чем больше воздуха, тем жарче огонь, а чем меньше воздуха, тем холоднее. Так что, в свою очередь, логично открыть форточки шире, чтобы впустить больше воздуха.
Есть два типа дефлекторов – впускная заслонка и выпускная заслонка. Лучший совет — поэкспериментировать с одним вентиляционным отверстием за раз, записать температуру и сделать отметки на ручке несмываемым маркером, чтобы вы знали, какая настройка лучше всего подходит для вас.
Использование всех 4 методов для управления жаром на гриле
Итак, у нас есть 4 техники управления жаром на гриле.Теперь у вас есть выбор, какой из них вы используете. Вы можете решить использовать некоторые из этих методов или использовать их все вместе.
Не бойтесь экспериментировать. Пробуйте, попробуйте несколько разных способов, чтобы определить, какая установка лучше всего подходит для вас, и рецепты, которые вы любите готовить на гриле.
Не забывайте, если вам когда-нибудь понадобится совет по приготовлению на гриле, мы здесь, чтобы помочь. Присоединяйтесь к нашему постоянно растущему сообществу любителей барбекю, как и вы. Получайте рецепты, видеоролики, хитрости и советы, а самое главное, новые одобренные питмастером соусы для барбекю и приправы, которые ежемесячно отправляются к вам домой.Присоединяйтесь и станьте частью нашего движения за запрет плохого барбекю.
%PDF-1.6
%
2787 0 объект
>
эндообъект
внешняя ссылка
2787 94
0000000016 00000 н
0000003597 00000 н
0000003821 00000 н
0000003951 00000 н
0000004418 00000 н
0000004533 00000 н
0000005213 00000 н
0000005594 00000 н
0000005707 00000 н
0000006104 00000 н
0000006500 00000 н
0000006959 00000 н
0000007124 00000 н
0000007241 00000 н
0000007359 00000 н
0000008407 00000 н
0000008729 00000 н
0000009076 00000 н
0000010415 00000 н
0000010751 00000 н
0000011136 00000 н
0000011226 00000 н
0000012840 00000 н
0000013193 00000 н
0000013589 00000 н
0000015712 00000 н
0000016073 00000 н
0000016470 00000 н
0000016549 00000 н
0000125516 00000 н
0000125915 00000 н
0000125994 00000 н
0000126073 00000 н
0000126103 00000 н
0000126179 00000 н
0000126278 00000 н
0000126427 00000 н
0000126755 00000 н
0000126812 00000 н
0000126930 00000 н
0000127009 00000 н
0000127123 00000 н
0000162301 00000 н
0000162342 00000 н
0000162431 00000 н
0000162530 00000 н
0000162679 00000 н
0000176075 00000 н
0000176357 00000 н
0000176436 00000 н
0000208657 00000 н
0000208698 00000 н
0000208895 00000 н
0000209123 00000 н
0000209320 00000 н
0000209469 00000 н
0000209618 00000 н
0000209843 00000 н
0000210045 00000 н
0000210169 00000 н
0000210318 00000 н
0000210442 00000 н
0000210591 00000 н
0000210819 00000 н
0000210918 00000 н
0000211067 00000 н
0000312955 00000 н
0000313018 00000 н
0000313093 00000 н
0000313206 00000 н
0000313263 00000 н
0000313354 00000 н
0000313436 00000 н
0000313494 00000 н
0000313598 00000 н
0000313656 00000 н
0000313764 00000 н
0000313822 00000 н
0000313931 00000 н
0000313989 00000 н
0000314132 00000 н
0000314190 00000 н
0000314271 00000 н
0000314352 00000 н
0000314449 00000 н
0000314506 00000 н
0000314651 00000 н
0000314708 00000 н
0000314785 00000 н
0000314842 00000 н
0000314900 00000 н
0000314958 00000 н
0000003369 00000 н
0000002224 00000 н
трейлер
]/предыдущая 2106458/XRefStm 3369>>
startxref
0
%%EOF
2880 0 объект
>поток
hagged]L[e~ӟS:Z~FEE͒-[g [OǀMimu~0L@L@ُPt&xal/HBM/kl1eYiO /9}}|
Как работает кондиционер (AC)?
Кондиционер в помещении или автомобиле работает, поглощая горячий воздух из определенного помещения, перерабатывая его в себя с помощью хладагента и ряда змеевиков, а затем выпуская холодный воздух в то же помещение, где горячий изначально был собран воздух.
![]()
Эта обработка в основном проводится через пять компонентов:
Представьте себе, что находятся на улице в Swilluging Heat особенно горячего летнего дня дела, которые уже нельзя откладывать. Жара настолько невыносима, что кажется, что это самый жаркий день на земле со времен зарождения цивилизации. Но одно держит вас в напряжении: знание того, что через час вы будете в своем доме с кондиционером.
Время наконец пришло: вы открываете дверь и входите в свой дом. Порыв прохладного воздуха обволакивает каждую клеточку вашего тела и вы сразу чувствуете себя лучше.
Я уверен, что каждый из вас хоть раз в жизни сталкивался с этим: нельзя сбрасывать со счетов «охлаждающую революцию», которую кондиционеры привнесли в человеческое общество; хотя у предыдущих поколений были вентиляторы и другие способы сохранять прохладу в жаркие дни, они никогда не были столь же удивительно эффективными, как современные кондиционеры, с точки зрения чистой охлаждающей способности.
В этой статье мы поговорим о кондиционерах и о том, что они делают — и как они это делают — что делает их почти необходимостью в городских районах.
Рекомендуемое видео для вас:
Детали кондиционера
Существует два основных типа систем кондиционирования: оконные и сплит-системы, которые в свою очередь делятся на мини-сплит-системы и центральные системы. На повседневном языке их обычно называют оконными AC или разделенными AC.
Независимо от типа установки все кондиционеры состоят из четырех основных компонентов, которые перечислены ниже:
(Фото: ScienceABC)
Испаритель
Испаритель представляет собой змеевик теплообменника, отвечающий за сбор тепла изнутри помещения с помощью охлаждающего газа. Этот компонент называется испарителем, в нем жидкий хладагент поглощает тепло, а испаряется в газообразное состояние.
Внутренний блок сплит-кондиционера содержит змеевик испарителя (Фото: Shutterstock). и углеводороды, такие как R-290.Этот газ фактически поглощает тепло из помещения и переходит к следующему компоненту для дальнейшей обработки, который…
Компрессор
Как следует из названия, здесь происходит сжатие газообразного хладагента. Он находится в наружном блоке, т.е. в той части, которая установлена снаружи дома.
Конденсатор
Конденсатор поглощает испарившийся хладагент из компрессора, превращает его обратно в жидкость и отводит тепло наружу. Конечно, он также расположен на внешнем блоке раздельного кондиционера.
Конденсатор переменного тока (Фото предоставлено tradekorea)
Расширительный клапан
Расширительный клапан, также известный как дроссель, расположен между двумя змеевиками, охлаждающими змеевиками испарителя и горячими змеевиками конденсатора. Он регулирует количество хладагента, движущегося к испарителю.
Обратите внимание, что в случае оконных кондиционеров все три компонента, упомянутые выше, находятся в небольшой металлической коробке, устанавливаемой в оконном проеме.
Это основные компоненты кондиционера.Давайте посмотрим, как они работают вместе, чтобы заставить кондиционер делать то, что он делает.
AC принцип работы кондиционера
Кондиционер собирает горячий воздух из определенного помещения, перерабатывает его в себя с помощью хладагента и ряда змеевиков, а затем выпускает холодный воздух в то же помещение, где горячий изначально был собран воздух. В принципе, так работают все кондиционеры.
Развенчание мифа
Многие люди считают, что кондиционер с помощью установленных в нем машин вырабатывает охлажденный воздух, который может так быстро охладить помещение.Это также может объяснить, почему он потребляет так много электроэнергии. Однако на самом деле это ошибка. Кондиционер — это не волшебное устройство; он очень эффективно использует только некоторые физические и химические явления для охлаждения конкретной комнаты.
Что происходит, когда вы включаете кондиционер?
Когда вы включаете кондиционер и устанавливаете желаемую температуру, скажем, 20 градусов Цельсия, установленный в нем термостат определяет разницу между температурой воздуха в помещении и выбранной вами температурой.
Фото: Flickr
Этот теплый воздух всасывается через решетку в нижней части внутреннего блока, а затем проходит по некоторым трубам, по которым течет хладагент, то есть хладагент. Хладагент поглощает тепло и сам становится горячим газом. Таким образом, от воздуха, попадающего на змеевики испарителя, отводится тепло. Обратите внимание, что змеевик испарителя не только поглощает тепло, но и вымывает влагу из поступающего воздуха, что способствует осушению помещения.
Этот горячий газообразный хладагент затем подается в компрессор, расположенный на внешнем блоке.В соответствии со своим названием компрессор сжимает газ так, что он становится горячим, поскольку сжатие газа увеличивает его температуру.
Этот горячий газ высокого давления затем достигает третьего компонента – конденсатора. И здесь конденсатор остается верным своему названию и конденсирует горячий газ в жидкость.
Хладагент поступает в конденсатор в виде горячего газа, но быстро превращается в более холодную жидкость, поскольку тепло от «горячего газа» рассеивается в окружающую среду через металлические ребра.
В результате хладагент теряет тепло при выходе из конденсатора и становится более холодной жидкостью.Он проходит через расширительный клапан — крошечное отверстие в медной трубке системы, — который регулирует поток холодного жидкого хладагента в испаритель, так что хладагент достигает точки, с которой начался его путь.
Вот упрощенная схема процесса:
(Фото: Илмари Каронен / Wikipedia Commons)
Хотя все компоненты, участвующие в процессе кондиционирования воздуха в оконных кондиционерах, находятся в одном металлическом корпусе, основной процесс охлаждения остается прежним. то же.
Детали оконного кондиционера. (Фото предоставлено Википедией)
Весь процесс повторяется снова и снова, пока не будет достигнута желаемая температура. Короче говоря, кондиционер снова и снова всасывает теплый воздух, охлаждает его и выталкивает обратно в комнату до тех пор, пока не останется теплого воздуха для охлаждения.
Как бы мы ни зависимы от кондиционера, удивительно, что он изначально не был разработан для человеческого комфорта.
Мотивация первой современной системы кондиционирования воздуха заключалась в том, чтобы устранить определенные проблемы в производственных процессах издательства! Верить в то, что машина, которая должна была поддерживать публикацию газет в больших масштабах, когда-нибудь могла стать неотъемлемой частью каждого современного дома, — это нечто, не так ли?
Вы действительно знаете, как работает кондиционер?
Пройдите короткий тест, чтобы проверить свои знания!
Начать викторину
Ваш ответ:
Правильный ответ:
Далее
Вы получили {{SCORE_CORRECT}} из {{SCORE_TOTAL}}
Повторная викторина
Рекомендуемая литература
.
Затем, определится с назначением прибора, для чего именно приобретается прибор. Нужен ли вам многофункциональный и дорогой прибор или же можно будет обойтись боле дешевой, простой моделью.
Самыми известными из них являются: SUPRA, Polaris, Smile, VES, Hotter.
Особенно, если в доме есть маленькие дети.
Разумеется, эта решетка довольно быстро засоряется, и если она будет съемной, за ней будет куда проще ухаживать. Достаточно открутить болты, вынуть ее, вымыть и поставить на место.
Важно и то, что можно готовить выпечку практически из любого типа теста без каких-либо проблем.

Стекло обязательно должно быть жаропрочным, в противном случае материал не выдержит высоких температур и лопнет.
Удобная и простая в обращении модель. Готовые блюда с ней получаются вкусными и полезными. Аэрогриль способен работать даже при перепадах напряжения в сети.
Но если вам ещё не доводилось пробовать блюда, приготовленные этими типами устройств, сделать выбор сложнее. В этом случае помочь вам сделать выбор может дегустация таких блюд у кого-либо из ваших друзей или в специальном ресторане паровой кухни.
Достаточно напряжения 220 Вольт.

Например, если вы поместите продукты в 3 горшочка по 0,5 литра, то блюдо будет готово через 30-40 минут. В то же время, если их поместить в кастрюлю объемом 1,5 л, то вы сможете получить готовый суп по истечении времени, превышающего 1 час. При таком способе приготовления существует еще один плюс. У вас будет возможность одновременно готовить разные блюда, учитывая вкус каждого члена семьи.

Небольшое количество свинины разрезается на кусочки и укладывается на дно горшочков. Следующим слоем натирается картофель, затем кольца лука и сыр. Каждый слой смазывается майонезом. Посуда устанавливается на решетку аэрогриля и блюдо готовится при максимальном режиме полчаса.



Это один из самых быстрых способов приготовления гарнира. Картофель тщательно моют, делают в каждой картофелине несколько проколов и выкладывают целиком в глубокую миску. Посыпают её специями, растительным маслом и солью, оставляют на 30 минут. Далее раскладывают на решётку и готовят при высокой скорости обдува и температуре 260 °C.





Первые проще и дешевле. Однако они ограничены одной скоростью вращения вентилятора. Второй имеет больше скоростей и режимов работы. Агрегаты с автоматическим управлением обеспечивают больший диапазон скоростей вентилятора


Нагревательный элемент самый простой, управление механического типа. Если вы планируете использовать прибор для разогрева еды, то выбирайте галогенную лампу, и мощности будет достаточно 0.8-1,0 кВт.
Конечно, такая решетка довольно быстро забивается, а если она съемная, то ухаживать за ней будет гораздо проще. Достаточно открутить болты, снять его, промыть и поставить на место.
Немаловажно и то, что можно без проблем приготовить выпечку практически из любого вида теста.