Каталитическая система очистки: Каталитическая очистка духовки
каталитическая система очистки духовки — Статьи и советы — Freggia
Выбирая духовой шкаф, стоит обратить внимание не только на его внешний вид и функциональность, но и на систему очистки. К счастью, в 21 веке, хозяйкам больше не нужно забираться часами вычищать духовки. Настоящим новшеством самоочистки можно назвать высокотемпературную каталитическую систему. Каталитическая технология поможет свести усилия при уборке в духовом шкафу к минимуму.
По большей части, стены духовок покрыты обычной гладкой эмалью, которая никак не влияет на процесс мытья духового шкафа. В таких случаях приходится старым дедовским способом отмывать каждую щелку внутри духовки. В отличие от гладкой эмали, каталитическая имеет пористую и шершавую структуру. Именно эти поры впитывают все загрязнения и под влиянием высоких температур разлагают их на углерод, воду и безвредные органические остатки. То есть, благодаря окислению, которое происходит в процессе столкновения жира и каталитического покрытия, загрязнения не пристают к стенкам намертво и их достаточно просто смахнуть мягкой губкой после остывания духовки.
Особой ценности система приобретает при очистке задней панели духового шкафа. Если вам доводилось хотя бы раз мыть эту стенку, то вам ли не знать, насколько эта часть труднодоступна.
Действовать такая система очистки начинает при температуре 140 градусов, но при достижении 200°С процесс достигает наивысшей активности. Поэтому, если вы часто готовите при более низкой температуре, рекомендуется периодически прогревать духовой шкаф под температурой свыше 200 градусов в течение 30 минут. Примечательно, что для запуска самоочистки нет надобности совершать дополнительных действий. Каталитическая система работает самостоятельно во время приготовления блюда. Такая особенность, к тому же, помогает колоссально экономить электроэнергию, так как, чтобы очистить духовку, не нужно включать отдельный режим.
Несмотря на то, что технология каталитической очистки не требует особых стараний, относиться к ней нужно бережно.
Когда вы убираете остатки разложений, образовавшихся под воздействием жиропоглощающего окисления, не стоит использовать жесткие щетки, скребки и порошки. Все эти средства могут повредить такой ценный материал каталитического покрытия. Если относиться к технологии с аккуратностью, она прослужит вам долгие годы. Время, которое уходит на очистку духовки, вы сможете потратить на более важные вещи и провести его с удовольствием. Духовой шкаф сам о себе позаботится, и будет содержать свои стенки в чистоте.
Часто потребители думают, что системами самоочистки обладают только инновационные электрические духовки и такое решение сильно влияет на цену техники. На самом деле, огромным преимуществом технологии каталитической очистки является то, что ее можно использовать также в газовых духовках, а стоит она не дорого. Потому, вам не придется переплачивать за свой комфорт, и вы сможете выбрать как электрический, так и газовый духовой шкаф.
Freggia использует систему каталитической самоочистки абсолютно во всех духовках – встраиваемых и отдельностоящих. Выбирая технику Freggia, вы получаете незаменимого помощника, который не только красиво дополнит вашу кухню, но облегчит процесс готовки и сэкономит ваше драгоценное время.
Вернуться к списку статей
Сравнение типов очистки духового шкафа
Современная бытовая техника обладают опциями, которые избавляют от многих кухонных хлопот. Одна из таких — автоматическая очистка духового шкафа. Функция освобождает от необходимости залезать в камеру и отскребать застывший на стенках жир. Автоматическая очистка не только спасает от трудоемкого и неприятного процесса, но и помогает правильно обслуживать устройство. Благодаря ей техника служит долго.
Режимы бывают разными. Мы расскажем о трех автоматических способах чистки и сравним их между собой. В конце обзора вас ждет таблица, в которой собраны преимущества и недостатки каждого метода.
Надеемся, она поможет выбрать лучшую очистку духовки.
Три решения
После приготовления пищи к стенкам и дну духовки пристает жир, который при долгой эксплуатации без уборки превращается в толстую корку. Если заняться устранением такой корки, понадобятся моющие средства, время и терпение. Семь потов сойдет, пока получится добиться чистоты.
Во многих современных устройствах это проблема решается с помощью функции автоматической очистки духовки. Существует три решения: пиролиз, катализ и гидролиз. У каждого из них есть преимущества и недостатки.
Катализ: уборка во время приготовления
Лучший способ держать что-то в чистоте — не допускать загрязнений. Следовать этому неписанному закону помогают установленные внутри духовки каталитические панели. Шершавое мелкопористое покрытие на панелях способствует быстрому окислению жира и ускоряет распад на составляющие: воду и углерод.
Чистка духовки происходит при нагревании от 150°С и выше, то есть процесс будет протекать каждый раз, когда вы готовите при указанной температуре.
Специальный режим включать не нужно, что позволяет сэкономить на электричестве.
В каталитических духовках Hansa используются двухсторонние пластины. Такое решение позволяет продлить срок эксплуатации панелей в два раза.
Пиролиз: нагрев до 500°С
Пиролиз — это процесс, при котором происходит термическое разложение остатков еды. Это агрессивная и эффективная процедура, которая занимает около двух часов. Среда нагревается до 500°С, а частички пищи превращаются в пепел. Для безопасности хозяев во время обработки дверь блокируется.
Выдержать высокую температуру помогают нанесенная на внутренние стенки пиролитическая эмаль. Такие модели — самые дорогие на рынке.
Вся внутренняя поверхность очищается, в том числе и дверца шкафа. От вас потребуется лишь пройтись влажной тряпочкой после пиролиза. Во время процедуры противень можно оставить внутри. Духовки с программой «Пиролитическая очистка» также оснащаются системой охлаждения — включенный после процедуры вентилятор выводит с камеры пары и неприятные запахи.
Пиролиз потребляет много электроэнергии. Для духовки с таким режимом уничтожения жира потребуется силовой кабель, выдерживающий высокую мощность.
Гидролиз: обработка паром
Паровой (или гидролизный) режим позволяет быстро и эффективно удалить жир и другие загрязнения. Работает это следующим образом: на противень наливается пол-литра воды, выставляется температура от 90 до 100°С. В течение 30 минут остатки еды размягчаются под воздействием горячего пара.
В некоторых моделях духовых шкафов предусмотрена программа гидролизной очисткой. Кнопку для включения функции можно найти на панели управления. Производители отмечают ее по-разному, поэтому стоит заглянуть в инструкцию и найти нужный значок. Если в вашей духовке отсутствует программа гидролиза, процедуру можно провести самостоятельно, установив рекомендованную температуру и включив нагрев снизу.
После окончания очистки загрязнения можно без труда удалить с помощью мягкой ткани и без применения специальных средств.
Однако очистка паром не помогает при уборке давно застывшего слоя жира.
Такие системы еще называют Aqualytic. Ими оборудованы многие модели на отечественном рынке. Гидролизный способ более экономный в сравнении с другими режимами: потребление электроэнергии и цена духовых шкафов не так высоки, как в случае с пиролизом или катализом.
Плюсы и минусы
Если вы не хотите отчищать вручную дверцу, покупайте духовку с пиролизом — это самый действенный метод избавления от жира. Однако и самый дорогой.
Менее затратным будет катализ. Такая система не нуждается в надзоре пользователя, зато требует дополнительного ухода: отмывать дверку и дно духового шкафа придется самостоятельно.
Паровой режим — самый недорогой. Он работает при относительно низкой температуре. Добиться хорошего результата в этом случае получится, если использовать метод сразу после приготовления. Главное, не дать жиру засохнуть, тогда пары размягчат загрязнения, и вы без труда уберете их тряпочкой.
| Пиролиз | Катализ | Обработка паром |
Уровень затрат на покупку и энергопотребление | Высокий | Средний | Низкий |
Нужно ли включать функцию отдельно | + | — | + |
Нужно ли убирать вручную после работы системы | + | + | + |
Как часто надо использовать | Не реже, чем через каждые 2 раза после приготовления мяса | Работает постоянно при температуре от 150С | После готовки |
Повышается ли температура в комнате | + | — | — |
Производители духовых шкафов экспериментируют с разными способами очистки.
Так, в каталоге Hansa можно найти все три варианта: пиролитическую и каталитическую очистку, а также систему Aqualytic. Выбор зависит от привычек покупателя.
Статьи: Системы очистки духового шкафа
Системы очистки духового шкафа
Как очистить духовой шкаф? Какие системы очистки бывают? Что лучше? Ответы на эти вопросы Вы получите посмотрев данный ролик!
Современные и практичные решения, используемые в моделях духовых шкафов Hansa, предоставляют расширенные возможности приготовления пищи. Они также обеспечивают пользователям комфорт и легкость приготовления еды, придавая уверенность начинающим кулинарам. И все же никто, будь то профессиональный повар или начинающий кулинар, не может избежать процесса очистки духовки.
Многие пользователи часто забывают, насколько важна правильная эксплуатация и техническое обслуживание такой техники, ведь это обеспечит приготовления вкусной и здоровой пищи. Большинство духовых шкафов Hansa имеют специальные опции, которые облегчают очистку.
- Очистка паром Aqualytic
Во многих духовых шкафах Hansa вы найдете систему паровой очистки Aqualytic. Она работает очень просто – горячий пар пропитывает и размягчает загрязнения на стенках камеры, и вам остается только протереть их влажной тряпкой.
В таких духовках внутренняя камера и комплектующие также покрываются специальной эмалью, чтобы частицы пищи не прилипали к решетке, противню и стенкам. Ее сверхгладкая поверхность без отверстий обладает способностью противостоять воде и обеспечивает быструю и легкую очистку.
Духовые шкафы с системой очистки паром Aqualytic можно посмотреть у нас на сайте или в фирменном интернет-магазине.

- Каталитическая очистка
Для того, чтобы не только процесс приготовления, но и процесс очистки был комфортным и легким, некоторые духовые шкафы Hansa оборудованы каталитическими панелями. Они покрыты специальной каталитической эмалью, которая предотвращает прилипание жира и не вступает в реакцию с другими химическими соединениями в пищевых продуктах.
Уже при температуре от 150°C она расщепляет жир и загрязнения и очищает духовой шкаф прямо во время приготовления! Вам остается всего лишь взять сухую тряпку и убрать оставшиеся загрязнения без применения чистящих средств. Теперь духовой шкаф очистит себя сам!
Выбирайте духовой шкаф с каталитической очисткой у нас на сайте или в фирменном интернет-магазине.
- Пиролитическая очистка
Пиролитическая очистка – это самый современный и простой способ поддерживать чистоту вашей духовки.
В таких моделях стенки покрыты специальной пиролитической эмалью, способной выдерживать высокие температуры. После выбора соответствующей программы духовка нагревается до 500°С, чтобы обеспечить расщепление органического вещества.Пиролиз длится около двух часов и превращает остатки пищи в пепел, который можно легко убрать влажной тряпкой. В то же время, охлаждающий вентилятор выводит любые пары и освобождает камеру духового шкафа от неприятных запахов.
Такой метод очистки не требует чистящих средств и является полностью безопасным. После начала программы двери автоматически блокируются, и их можно будет открыть только после того, как температура внутри духовки опустится ниже 250°С.
Сейчас в линейке духовых шкафов Hansa есть две модели с пиролитической очисткой. Вы можете посмотреть их у нас на сайте или в фирменном интернет-магазине.
Возможно вас заинтересуют другие материалы
⚖ Каталитическая, пиролитическая и гидролизная очистка духовки: что это такое
Тем, кто решил приобрести новую бытовую технику, будет интересно узнать, что существует каталитическая, пиролитическая и гидролизная очистка духовки.
Предлагаем разобраться, что это такое и что лучше будет для вашего дома, а также познакомиться с принципом и особенностями каждого вида. Это позволит подобрать модель с оптимальными функциями и по доступной цене.
Духовка должна приносить только удовольствие
Читайте в статье
Функции самоочистки духового шкафа – достоинства и недостатки
Наличие функции самоочистки является неоспоримым преимуществом любой модели духового шкафа. В то же время такая возможность может реализовываться по-разному. Рассмотрим доступные варианты более подробно, чтобы вам было проще ориентироваться в преимуществах и недостатках каждого.
Самоочистка может выполняться по-разному
Что такое каталитическая очистка духового шкафа: отличительные особенности процесса
Сначала рассмотрим, что такое каталитическая очистка духового шкафа. В этом случае нет необходимости в переводе устройства на специальный режим работы. Изначально внутренние стены обработаны специальным составом, обеспечивающим очистку внутреннего пространства во время приготовления еды.
Это позволяет отказаться от использования дополнительных средств, предназначенных для очистки духовки.
Грязь удаляется сама в процессе готовки
Особенности процесса
Чтобы лучше разобраться с тем, что значит каталитическая очистка духовки, стоит вникнуть в особенности процесса. Катализ широко используется для ускорения химических реакций. В процессе работы духовки это используется для более быстрого превращения выделяющегося во время готовки жира в воду либо сажу.
Специальное покрытие ускоряет процесс распада жира
Это обеспечивается благодаря нанесению на внутренние поверхности устройства комплексного покрытия, включающего:
- пористую жиропоглощающую эмаль;
- катализатор. В зависимости от модели это может быть медь, церий, марганец или кобальт. Заполняя поры эмали, катализатор ускоряет распад жира, налипающего на стенки;
- абсорбент, в состав которого входят наночастицы.
Внимание! Покрытие наносится только на боковые стенки и заднюю поверхность.
Иногда – на лопасти конвектора.
Предлагаем посмотреть видео о модели EOA95551AK от Electrolux, в котором рассказывается о каталитической системе очистки духовки:
Инструкция по очистке
Процесс очистки протекает автоматически при разогреве устройства до 200–250ºС. Учитывая, что при такой температуре обычно выпекают большинство блюд, отпадает необходимость в дополнительном включении техники. Надо лишь после окончания готовки протереть стенки и удалить следы распада.
Внимание! Если на стенках появились сложные загрязнения, воспользуйтесь моющим средством либо порошком без абразива.
Надо только протереть стенки
Разобравшись, что это такое – каталитическая очистка духовки, предлагаем познакомиться с отзывами реальных пользователей. Это позволит оценить преимущества и недостатки данного варианта.
Отзыв о модели Bosch HBA 43S450E с каталитической самоочисткой:
Подробнее на Отзовик: http://otzovik.
com/review_325097.html
Отзыв о модели Bosch Gourmet HBC84K551 с каталитической самоочисткой:
Подробнее на Отзовик: https://otzovik.com/review_388107.html
Bosch HBA 43S450E с каталитической самоочисткой
Пиролитическая очистка духовки – что это такое и главные её достоинства
Говоря о том, что это такое – пиролитическая очистка духовки, стоит сразу упомянуть, что это самый эффективный способ избавления от жира, но и самый агрессивный. С его помощью можно очистить абсолютно все элементы внутреннего пространства духовки. Сгоревший жир превращается в пепел и оседает на нижнюю поверхность. Ознакомимся более подробно с особенностями процесса.
Жир и другие загрязнения становятся пеплом
Особенности процесса
Очистку поверхности выполняют при достаточно высокой температуре: 500ºС. Если предусмотрен многоступенчатый процесс, удаление грязи может выполняться при 300ºС. Для предотвращения бытовых травм предусматривается автоматическая блокировка, благодаря которой дверцу устройства нельзя открыть, пока температура внутри не опустится до 200ºС.
Грязь оседает в виде пепла
Комментарий
Виктор Поляков
Консультант розничной сети «М-Видео»
Задать вопрос
«Пиролиз является весьма энергоёмким процессом, а потому для подключения устройства следует использовать качественный силовой кабель с подходящей мощностью.
«
Думаем, вам будут интересны отзывы о духовках с подобным типом очистки.
Отзыв о модели IKEA Kulinarisk с пиролитической самоочисткой:
Подробнее на Отзовик: http://otzovik.com/review_2987008.html
IKEA Kulinarisk с пиролитической самоочисткой
Инструкция по очистке
Прежде чем воспользоваться данной функцией, следует внимательно изучить инструкцию по эксплуатации. В ней производители достаточно подробно расписывают последовательность действий, дополняя её поясняющими иллюстрациями.
Как правило, чистку выполняют в следующей последовательности:
- подготавливают духовку, вынимая все предметы, не выдерживающие воздействия высокой температуры;
- включают нужный режим.
Дверка при этом блокируется. Через 1–1,5 часа процесс будет завершен; - дожидаются остывания устройства. Как только температура опустится ниже 200ºС, дверка автоматически разблокируется;
- смахивают пепел.
Чем реже чистка, тем больше пепла
Внимание! В процессе очистки потребляется достаточно много электроэнергии.
Предлагаем посмотреть видео, чтобы ещё лучше разобраться в том, что это такое – пиролизная очистка духовки.
Гидролизная очистка духовки – что это такое и нюансы её использования
Уже из названия гидролизной очистки духовки должно быть понятно, что это такое. В данном случае для удаления загрязнений используется вода, точнее – образующийся пар. Чаще всего такую процедуру выполняют перед основной уборкой, так как под воздействием пара образовавшиеся загрязнения размягчаются, но полностью не удаляются. Остановимся на этом более подробно.
В процесс обработки паром загрязнения становятся мягкими
Особенности процесса
Отличительной особенностью процесса является наличие внутри устройства ёмкости с водой, которая постепенно под воздействием высокой температуры превращается в пар.
Способ актуален для всех духовок, в том числе не имеющих специальной функции.
Для реализации гидролизной очистки достаточно установить ёмкость с водой
К преимуществам процесса стоит отнести невысокую стоимость и низкое энергопотребление. Из недостатков: сложность удаления застарелых пятен. Чистку желательно выполнять сразу после приготовления обеда.
Удалить прилипшую грязь достаточно сложно
Инструкция по очистке
Процесс очистки выполняется в несколько этапов:
- подготавливаем устройство к очищению. В ёмкость либо углубление на дне заливается вода. Количество жидкости указано в инструкции по эксплуатации;
Воду наливаем в специальное углубление
Совет! Для усиления эффекта добавьте специальный порошок, а чтобы убрать неприятный запах – уксус.
Уксус усилит эффект
- включаем режим гидролиза. Система автоматически выставит необходимый ей температурный режим. Если функция «AquaClean» не предусмотрена, можно установить терморегулятор на 60–90ºС и включить нижний подогрев;
Устанавливаем нужный режим
- удаляем размягчившиеся загрязнения с помощью губки;
- просушиваем внутреннее пространство, оставив дверку приоткрытой на час.

Комментарий
Виктор Поляков
Консультант розничной сети «М-Видео»
Задать вопрос
«Для очистки поверхности нельзя использовать жёсткие губки и агрессивные вещества.
«Тщательно вымываем внутреннее пространство
Если вас заинтересовала возможность очистки духовки паром, предлагаем более детально разобраться, что это такое, посмотрев следующее видео:
Прочие виды очистки духовых шкафов – плюсы и минусы
Кроме перечисленных, имеются и другие виды очистки духовых шкафов. У них есть плюсы и минусы. Рассмотрим их более подробно, чтобы вы могли более осознанно выбрать подходящий вариант для своего дома.
Добиться идеальной чистоты можно другими способами
Эмаль лёгкой очистки духовки – что это такое и почему заслуживает внимания
Если вы не любите мыть жирные поверхности, обратите внимание на духовку с эмалью лёгкой очистки. Для этого предлагаем более подробно узнать, что это такое, чтобы вы могли оценить преимущества подобных моделей.
Отсутствие пор не позволит жиру проникнуть внутрь покрытия
Особенности процесса
Главной особенностью данного способа очистки является нанесение на внутренние поверхности устройства ещё в процессе производства специального покрытия, не имеющего пор. Структура материала не позволяет впитывать жир.
Грязь легко стереть
Инструкция по очистке
Чтобы убрать образовавшиеся загрязнения, необходимо воспользоваться обычной тряпкой. Когда на поверхности появляются жир и копоть, их просто вытирают. В результате значительно экономится время, но при этом все работы выполняются вручную.
Для очистки потребуется тряпка
Срок службы такого покрытия ограничен. В среднем через пять лет боковые панели приходится менять на новые.
Традиционная очистка духовки – что это такое и в чём главное преимущество
Отсутствие функции самоочистки значительно снижает стоимость духового шкафа. Для очистки подобных духовок используются традиционные методы. Остановимся более подробно на том, что это такое, и какие средства могут использоваться.
Для очистки используются химические вещества и разные губки
Особенности процесса
Отличительной особенностью данного способа является возможность удаления даже самых сложных загрязнений без использования электроэнергии. Это значительно удешевляет не только начальную стоимость духового шкафа, но и его последующую эксплуатацию.
Большой ассортимент позволит выбрать подходящий состав
Отказавшись от использования электроэнергии, придётся потратить своё время. Чистка решёток и поддонов будет производиться отдельно от внутреннего пространства. Кроме того, неправильно подобранное средство может стать причиной механического повреждения поверхностей.
Народные средства весьма востребованы
Инструкция по очистке
Зная, какие существуют способы очистки духовых шкафов, многие считают, что всё же лучше традиционный вариант. Каким образом выполняется очистка – зависит от выбранного средства.
Совет! Если вы решили выбрать бытовую химию, убедитесь, что средство может использоваться для очистки внутренней поверхности духового шкафа.
Для получения качественного результата следует:
- вынуть из духовки все решётки и противни;
- нанести на обрабатываемую поверхность состав. Если он в виде спрея, распрыскать по поверхности. Если в жидком состоянии или виде кашицы – аккуратно распределить по стенкам, дну духовки, а также по противням и решётке;
Спрей распрыскиваем по очищаемой поверхности
- подождать отведённое время;
- тщательно смыть состав.
Металлические и жёсткие губки следует использовать с особой осторожностью
Какой тип очистки духовки лучше: сравнительный анализ
Существующее разнообразие значительно усложняет выбор подходящего варианта. Чтобы сделать правильный выбор, надо однозначно решить, какой тип очистки духовки лучше именно для вас.
Каждый способ очистки имеет своих поклонников
Сравнение каталитической очистки с прочими видами самоочистки
Это универсальный вариант, применяемый для очистки не только электрических моделей, но и газового оборудования.
В отличие от других способов самоочистки, он позволяет отказаться от дополнительной обработки. Загрязнения удаляются непосредственно в процессе приготовления обеда, что существенно снижает энергозатраты.
Способ имеет ограниченное время использования. Со временем каталитические панели теряют свою эффективность, и становится необходимой замена боковых панелей. В зависимости от модели срок службы такого покрытия составляет около 300 часов. Однако более качественные современные устройства могут похвастаться более продолжительным временем эксплуатации.
Готовим и чистим одновременно
Сравнение пиролитической очистки с прочими видами самоочистки
Если вы не любите тратить время на уборку, даже не стоит задумываться о том, какая система очистки духовых шкафов лучше. Это однозначно пиролитическая. Процесс полностью автоматизирован и позволяет справиться с различными загрязнениями. По эффективности пиролитической чистке присваивают самый высокий балл.
Если вы готовы потратить значительную сумму на покупку и последующую эксплуатацию, оборудование с такой функцией будет лучшим решением.
При этом следует учитывать, что большой нагар обязательно вызовет появление неприятного запаха гари в процессе чистки. Учитывая, что обработка выполняется при достаточно высокой температуре, может появиться негативное воздействие на встроенную я.
Вся грязь превращается в пепел
Сравнение традиционного способа очистки с функциями самоочистки
Важным достоинством традиционного способа является полная энергонезависимость, так как отпадает необходимость в дополнительном включении духового шкафа. Достаточно приобрести состав, предназначенный для борьбы с жиром, и нанести на поверхность.
Комментарий
Виктор Поляков
Консультант розничной сети «М-Видео»
Задать вопрос
«Решив использовать традиционный способ чистки, обратите внимание на паровую очистку духовки, разобравшись, что это такое.
«Народные средства могут быть весьма эффективными
Предварительная гидролизная обработка существенно облегчает традиционную чистку, так как по сравнению с другими видами для удаления загрязнений требуется больше времени.
Резюме, которое поможет понять, что это такое – каталитическая, пиролитическая и гидролизная очистка духовки, и определить, что лучше для вашего дома
Иногда бывает сложно и однозначно решить, какая очистка духовки лучше: каталитическая или паром, пиролитическая или традиционная. Выбор зависит от условий последующей эксплуатации. Если вы планируете использовать духовой шкаф для ежедневного приготовления обеда, лучшим решением станет пиролизная чистка. Для воскресных обедов достаточно гидролитической. Тем, кто часто запекает рыбу, овощи и мясо, стоит обратить внимание на каталитическую систему.
Внимание! Решать, что лучше – каталитическая или пиролитическая очистка духовки, стоит в том случае, если вы часто выпекаете торты и пирожные.
Чтобы сделать правильный выбор, обратите внимание на сравнение основных показателей:
| Параметр | Вид чистки | ||
| Каталитическая | Гидролизная | Пиролитическая | |
| Температура, ºС | 150–250 | 50–90 | 350–500 |
| Потребление электроэнергии | Минимальное | Минимальное | Высокое |
| Ручная обработка | Обязательна | Обязательна | Минимальная |
| Смена элементов | Раз в 4 года | Не предусмотрена | Не предусмотрена |
| Чистящее средство | Требуется | Требуется | Не требуется |
| Периодичность использования | После каждого приготовления обеда | После каждого приготовления обеда | По пере необходимости |
| Эффективность очистки | Высокая | Средняя | Высокая |
Совет! Чтобы как можно реже прибегать к очистке, при приготовлении блюд используйте фольгу и бумагу.
Делитесь в комментариях, какой тип очистки духового шкафа лучше с вашей точки зрения, а также почему вы пришли именно к такому мнению.
ПОНРАВИЛАСЬ СТАТЬЯ? Поддержите нас и поделитесь с друзьями
Что такое каталитическая и гидролизная очистка духового шкафа
Духовка, как и любой другой прибор, нуждается в периодической очистке. Что такое и как происходит каталитическая очистка духового шкафа?
Особенности каталитической чистки
С научной точки зрения – это химический распад веществ. С точки зрения обычного пользователя эта процедура выглядит так.
- Вся поверхность духовки покрывается специальной смесью, которая имеет шершавую структуру и темный цвет. Эта субстанция содержит специальный катализатор окисления (оксид).
- Оксидами для каталитической очистки духовки выступают: медь, кобальт, марганец, двуокись церия.
- Эта смесь впитывает жир с поверхности. Принцип ее работы похож на промокашку.
На практике же при повышении температуры катализаторы активируются, запуская начало процесса окисления накопившихся жиров. После окончания каталитической очистки жиры становятся обуглившимся пеплом и частицами воды.
Проводить очистку каталитическим способом можно при начальной температуре в 150 градусов. Наиболее эффективная работа начинается при разогреве духового шкафа до 220 градусов цельсия.
Каталитическая чистка не требует включения специального режима – она запускается автоматически при приготовлении пищи в духовке.
Плюсы и минусы
Этот метод подходит хозяйкам, которые не обладают достаточным количеством времени на то, чтобы мыть духовку вручную, но не могут представить процесс приготовления пищи без этого устройства. Плюсы способа:
- Плиты, обладающие этой функцией, стоят не так дорого. Каталитическая чистка не является серьезной и затратной технологией.
- Существенная экономия времени, так как процесс происходит во время приготовления пищи, благодаря чему духовка всегда остается чистой.

- Убрать результаты каталитической чистки не сложно, достаточно просто протереть специальную пластину прибора.
- Срок службы жиропоглощающего покрытия – около пяти лет, после чего его можно заменить. Многие модели оснащены пластиной с двухсторонним покрытием. Это позволяет просто перевернуть ее и забыть о чистке духовки еще на 5 лет. Сделать это можно самостоятельно, просто следуя инструкции.
- Функцией обладают и газовые, и электрические плиты, так что можно выбрать ту, что пришлась по вкусу.
- Если каталитические пластины установлены на электрической плите, то этот способ очистки экономит энергию.
- Она одинаково эффективна в любых моделях и любых марках.
- Усиливающийся эффект при многократном использовании.
Духовой шкаф с пластинами для каталитической очистки
К сожалению не все так идеально, и у каталитической системы наблюдаются свои недостатки:
- Каталитическое покрытие (пластина) не может очищать большое количество накопившегося жира.
Это приводит к тому, что приходится прогонять духовой шкаф вхолостую или использовать другие доступные методы очистки загрязненной поверхности. - Не защищенными остаются дверца и дно духового шкафа: их придется промывать вручную.
- Решетку и другие приборы для приготовления также приходится мыть самостоятельно.
- Один из самых слабоэффективных способов.
- Не терпит попадание сладкого или молочного. Те места пластины, куда попали запрещенные вещества, сразу же теряют свою жиропоглощающую функцию.
Каталитические пластины запрещается мыть жесткой губкой и использовать при этом средства, содержащие абразивные элементы.
Гидролизная очистка духового шкафа
Еще одним удобным способом очистить духовку от жира является гидролизная очистка.
Она осуществляется при помощи воды и заключается в следующем:
- В емкость наливается вода с чистящим средством.
- Емкость помещается во включенную духовку на 20-30 минут при температуре, не превышающей 90 градусов.
- Под воздействием пара жир очищается, и после завершения процесса остается только вытереть его тряпкой.
Важно понимать, что гидролиз это не столько метод самоочистки, а сколько удобный и быстрый способ справиться с загрязнениями. Использовать его можно только в том случае, если жир не успел засохнуть.
Достоинства метода:
- Низкая стоимость.
- Низкое потребление энергии.
Недостатки:
- Не является способом самоочистки.
- Метод эффективен только в случаях, когда грязь свежая.
- Нельзя использовать сразу после того, как вы закончили готовить. Это объясняется тем, что духовка будет слишком разогрета для применения данного метода.
Даже специалисты не всегда знают, какой метод очистки подойдет именно вашей духовке. Но существует несколько изобретений, которые помогут упростить вам работу:
- Возможность установить съемную дверь на духовой шкаф.
- Установка специальной конструкции, которая выдвигает всю рабочую часть духовки наружу и позволяет полностью ее снять.
Заключение
Выбор способа очистки во многом зависит от частоты использования духовки. Принимая решение, какая лучше очистка: гидролизная или каталитическая, важно понимать, что первый вариант не является методом самоочистки, но подходит для моделей, не оснащенных каталитическими пластинами. Второй вариант идеально подходит тем, кто часто использует духовку для приготовления пищи.
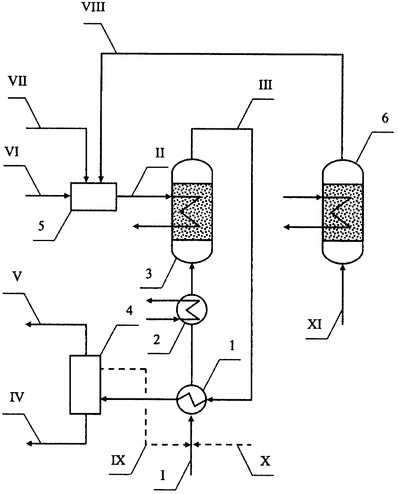
Каталитическая система очистки отработанного этиленоксида (EO)
Вторым этапом является каталитическое снижение концентрации ЕО в Абаторе.
Абатор (с англ.: Abator) используется для сжигания токсичных газов, которые используются при стерилизации медицинских изделий. После завершения процесса стерилизации отработанный воздух, насыщенный этиленоксидом, удаляется и должен быть нейтрализован.
Абатор использует технологию каталитического окисления для превращения этиленоксида в водяной пар и диоксид углерода. Принцип каталитической системы приводит к её экономичной и чрезвычайно чистой работе. Никаких токсичных или химических отходов не образуется. Используемые катализаторы утилизируют более 99,99% этиленоксида, содержащегося в удаляемом газе. Эффективность 99,9% гарантируется при концентрированном удалении газа из стерилизаторов и других удалений с низкой концентрацией выбросов. В сравнении с другими технологиями по контролируемым выбросам, абатор очень прост в обслуживании, и требует лишь периодической замены воздушного фильтра на притоке воздуха.
Принцип работы:
Воздух всасывается в абатор, который необходимо нагреть до заданной температуры.
Токсичный газ (этиленоксид) затем впрыскивается в нагретый воздух, и из-за повышенной температуры воздуха газы самовозгораются и впоследствии сгорают. Вредные компоненты улавливаются на специальных катализаторах. Оставшиеся дымовые газы удаляются в атмосферу, проходя через теплообменник воздух/воздух.
При запуске устройства Абатора воздух должен быть нагрет до заданной температуры — для этой операции установлены электрические нагревательные спирали. Как только достигается заданная температура, происходит самовоспламенение газовой смеси, и всасываемый воздух, проходящий через теплообменниквоздух/воздух, начинает нагреваться выхлопными газами. После запуска этого цикла электрический нагрев завершается, и устройство работает независимо. Операция прекращается закрытием подачи газа.
Управление процессом очистки этиленоксида обеспечивается контроллером PLC в автоматическом режиме или ручным управлением оператором. В случае автоматической работы абатором можно управлять с помощью стерилизатора.
Эти преимущества ставят абатор на передний план технологий по контролю процесса выбрасываемых отходов при соблюдении всех требований европейских норм и стандартов.
АБАТОР – MACETO
|
Радость от процесса готовки для многих омрачалась необходимостью сталкиваться с уборкой после. Часто приходится вытаскивать решётки, противни, съёмные панели. Если жир застыл, нужно сначала отмочить, потом довольно долго оттирать. Особенно трудно привести духовку в порядок после любимых многими блюд: утки, приготовленной на гриле, свиных рёбрышек…
Однако современные духовки способны не только удивлять большим количеством различных функций, но и приятно поражать встроенной системой самоочистки.
Всего существует два основных варианта: первый известен как каталитический, исторически появился раньше, встречается гораздо чаще. Пиролитический считается более современным и радикальным, даёт лучшие результаты, однако имеет свою специфику.
Катализ предполагает самостоятельное очищение задней стенки духовки прямо во время готовки. Происходит это благодаря специфической пористой структуре и особому покрытию. При температуре 140 градусов Цельсия и выше начинается процесс распада остатков продуктов на воду, жиры и углеводы. Благодаря этому после готовки хозяйке остаётся только протереть поверхность тряпочкой. Достаточно удобно. Однако далеко не все производители делают каталитическими боковые стенки. И если здесь ещё можно дополнительно оформить заказ, то дверцу с внутренней стороны всё равно нужно будет отмывать.
Помимо этого, каталитические пластины имеют срок годности. И чем чаще вы их используете, тем хуже будет эффект. Так что однажды владельцы духовки с катализом всё равно придут к необходимости заниматься очищением загрязнённой поверхности самостоятельно, без обращения к высоким технологиям. Впрочем, если вы не собираетесь эксплуатировать модель постепенно, вам хватит надолго.
Пиролитическая система очистки
Пиролиз как средство очистки грязи в духовке основан на достаточно простом принципе: модель накаляется до 500 градусов, вся грязь попросту превращается в пепел. Который достаточно будет потом уже просто смести тряпочкой или щёточкой, очищать дверцу в данном случае не надо. Вообще участие владельцев сведено к минимуму. Духовка после такой очистки будет смотреться как новая. Большим преимуществом также стало то, что для производства берут только качественный металл, способный выдержать неоднократное нагревание до таких температур, а потом остывание.
Однако у этого прогрессивного метода есть свои минусы:
Возникает необходимость организовать дистанцию между духовым шкафом и прилегающей мебелью. Эту проблему можно решить, но требуются дополнительные траты. Что может быть накладно: духовки с пиролизом и так входят в число самых дорогих.
Подводя итоги, можно сказать, что каждый способ обладает своими бесспорными преимуществами. Однако при покупке модели для конкретной семьи необходимо учитывать наличие животных, маленьких детей, способность сети выдержать нагрузку, семейный бюджет.
|
Пиролитическая и каталитическая очистка духовки
Пиролитическая и каталитическая очистка духовки: в чем разница?
Если есть одна работа, которую ненавидит весь народ, это чистка духовки. Тем не менее, самоочищающиеся духовые шкафы предлагают простой способ мыть духовку, не беспокоясь о ручной очистке и появлении агрессивных продуктов. Духовки с самоочисткой обычно делятся на два типа: пиролитические и каталитические. Но в чем разница?
Ниже мы обсудим различия между пиролитическими и каталитическими самоочищающимися печами.
Пиролитическая очистка духовки
Пиролитическая очистка духовки обычно более жесткая очистка пищевой грязи, чем каталитическая очистка.
Во время цикла пиролитической очистки духовка нагревается до экстремальных температур, превышающих 400 ºC. Эти высокие температуры означают, что все остатки пищи превращаются в пепел и могут быть сметены.
Пиролитическая очистка занимает несколько часов по сравнению с 30 минутами на каталитической очистке. Однако в большинстве духовок с пиролитической очисткой вы можете запрограммировать цикл так, чтобы он начинался в то время, когда духовка не используется.Также рекомендуется не выходить из дома, когда активна функция самоочистки. Если вас беспокоят опасности режима самоочистки духового шкафа, почему бы не получить расценки на профессиональную очистку духового шкафа от Ovenclean?
* Получите бесплатное предложение
Безопасна ли духовка с пиролитической самоочисткой?
Когда активирован режим пиролитической самоочистки, духовка нагревается до очень высоких температур. Это может беспокоить семьи с маленькими детьми, однако во время цикла уборки дверь останется заблокированной.
Для получения дополнительной информации о безопасности прочтите наш блог «Чем опасна самоочищающаяся духовка».
Плюсы пиролитических печей:
- Самый эффективный тип самоочищающихся духовок, так как они обеспечивают более глубокую очистку, чем другие функции самоочистки.
- Простота использования — после завершения цикла грязь можно просто стереть влажной тканью.
- После установки программы очистки духового шкафа дверца заблокируется. Это предотвратит случайное нанесение вреда себе во время уборки.
Минусы пиролитических печей:
- Пиролитические печи обычно дороже каталитических из-за технических характеристик, необходимых для работы при экстремальных температурах.
- Если кто-то случайно переведет духовку в режим самоочистки, дверца будет заблокирована примерно на 3 часа.
Каталитические самоочищающиеся печи
Каталитические печи содержат специальные каталитические прокладки внутри камеры печи.
Эти специальные покрытия для духовки быстро впитываются, поэтому удаляют жир и грязь из духовки. Основное отличие каталитических печей заключается в том, что им не нужно нагреваться до экстремальных температур для очистки. Во время цикла очистки каталитическая печь нагревается примерно до 200 ºC, что позволяет сжечь жир и остатки пищи. Затем излишки смазки можно удалить влажной тряпкой. Однако может потребоваться дополнительная смазка для удаления этого беспорядка по сравнению с пиролитической печью, которая сжигает остатки пищи до пепла.
Плюсы каталитических печей:
- Быстрее пиролитической — Чистка духовки занимает около 20-30 минут.
- Как правило, каталитические печи дешевле покупать, чем пиролитические печи.
- Простота использования — подготовка не требуется, просто переведите духовку в режим самоочистки и наблюдайте, как происходит волшебство!
Минусы каталитических печей:
- Каталитическая печь не даст вам выполнить глубокую чистку духовки.
Скорее всего, вам нужно будет вручную очистить духовку после того, как процесс будет завершен. - Не каждая поверхность в духовке покрыта специальной пленкой. Это означает, что вам, возможно, придется почистить верх и низ духовки самостоятельно.
- Наконец, это может быть не идеальный духовой шкаф для тех, кто любит печь. Каталитические печи не могут очистить духовку от сахара из-за низких температур.
Профессиональная глубокая очистка духовки
Альтернативой самоочищающимся духовым шкафам является профессиональная чистка духовок.Специалисты Ovenclean устраняют стресс, связанный с чисткой духовки, с помощью уникальной системы, которая является идеальным решением для восстановления вашей духовки. Специалисты Ovenclean используют наш уникальный ассортимент без добавления щелочей, поэтому ваш дом будет свободным от дыма и безопасным.
Получите БЕСПЛАТНУЮ расценку здесь!
Обзоры очистителя каталитического нейтрализатора — Как очистить ваш
Какой очиститель каталитического нейтрализатора самый лучший?
После изучения всех лучших очистителей каталитических нейтрализаторов, представленных на рынке, мы столкнулись с трудной задачей порекомендовать нашим читателям только одно.
Чтобы решить эту задачу, мы сначала сузили выбор до 3 лучших чистящих средств на основе отзывов клиентов. К ним относятся очиститель Cataclean Cleaning Treatment, CRC Guaranteed to Pass Formula, а также очиститель и дезодорант Solder-it.
Наши тщательные тесты выявили только одного истинного победителя. Если вы хотите решить проблемы с контрольной лампой двигателя, есть только один очиститель каталитического нейтрализатора, которому вы можете доверять: Cataclean Engine and Catalytic Converter Cleaning Treatment
Cataclean соответствует законодательству 50 штатов и соответствует требованиям VOC (включая Калифорнию) и OTC, а также федеральным требованиям к низкому содержанию серы для использования в дизельных моторных транспортных средствах и внедорожных двигателях.
Для оптимальной производительности и защиты используйте очиститель каталитического нейтрализатора четыре раза в год. Эта жидкость совместима как с гранулированными, так и с сотовыми преобразователями. Он также безопасен для бензиновых, дизельных, гибридных автомобилей и транспортных средств с гибким топливом.
Как очистить каталитический нейтрализатор
Очиститель каталитического нейтрализатора продается в канистрах емкостью 16 унций с одним основным способом его использования. Лучший способ очистить конвертер — это вылить его содержимое в бензобак и ехать почти до полного опустошения, чтобы убедиться, что это химическое вещество полностью израсходовано.
Пошаговая очистка:
- Налейте бутылку Cataclean в резервуар
- Ехать, пока резервуар почти не опустеет
- Очистить коды ошибок OBDII, если они есть
- Заправить бензобак
- Проехать около 50 миль по шоссе и переулкам для повторной калибровки бортового компьютера (OBDII)
Что такое каталитический нейтрализатор?
Что такое каталитический нейтрализатор и почему существует средство для его очистки?
При нормальной работе двигатель вашего автомобиля выделяет вредные загрязнители при сгорании.
Проще говоря, работа каталитического нейтрализатора состоит в том, чтобы преобразовать эти загрязнители в газ, менее вредный для окружающей среды. Это достигается за счет химической реакции между выхлопными газами, контактирующими с металлами внутри каталитического нейтрализатора.
Если ваш автомобиль не работает должным образом и использует больше топлива, чем обычно (работает на обогащенной смеси), несгоревшее топливо повредит каталитический нейтрализатор и в некоторых случаях создаст запах тухлых яиц. Это то, что очиститель стремится устранить, наряду с общей очисткой компонентов, с которыми он контактирует.
Что вызывает проблемы с каталитическим нейтрализатором?
Со временем ваш каталитический нейтрализатор может забиться отложениями углерода — это одна из наиболее распространенных проблем каталитических нейтрализаторов, с которыми мы сталкиваемся регулярно.
Накопление внутри каталитического нейтрализатора препятствует удалению катализатором вредных выбросов из выхлопных газов.
Когда производительность каталитического нейтрализатора начинает ухудшаться, бортовая диагностическая система (OBD2) в вашем автомобиле сообщит вам об этом, включив индикатор «Service Engine Soon».
Часто сигнальная лампа включает специальный код, такой как P0420 или P0430, который указывает, что производительность каталитического нейтрализатора ниже минимального порога выбросов.
Итак, что вызывает все это накопление углерода?
Чрезмерное накопление углерода в каталитическом нейтрализаторе может быть признаком того, что ваш автомобиль работает на богатой смеси. «Работа на богатой» означает, что соотношение воздух-топливо ниже оптимального, и ваш двигатель не сжигает все топливо, которое он использует.
Хотя есть много причин, по которым ваш автомобиль может разогнаться, одним из первых шагов, которые вы должны предпринять, является замена свечей зажигания. Если вы не можете вспомнить, когда в последний раз меняли свечи зажигания, то это должно быть в верхней части вашего списка дел.
Изучите руководство по эксплуатации, чтобы узнать, какой тип свечей зажигания нужен вашему автомобилю или грузовику. Вы также можете использовать инструмент для установки на Amazon, чтобы найти правильные свечи зажигания для вашего автомобиля.
Автомобильные двигатели обычно имеют 4, 6 или 8 цилиндров — это означает, что вам нужно будет приобрести правильное количество свечей зажигания для вашего двигателя.Свечи зажигания продаются индивидуально, поэтому вам нужно будет проверить руководство пользователя, чтобы определить, сколько свечей зажигания вам нужно.
Следующим шагом после замены свечей зажигания является использование бутылки очистителя каталитического нейтрализатора для удаления вредного углерода внутри выхлопных газов.
Работает ли очиститель каталитического нейтрализатора?
Один из наиболее частых вопросов, который мы получаем от читателей каждую неделю: «действительно ли работает очиститель каталитического нейтрализатора или это змеиное масло?»
Очиститель каталитического нейтрализатора удаляет нагар в двигателе и выхлопной системе. Итак, ответ: да, очиститель каталитического нейтрализатора работает каждый раз, когда вы его используете, чтобы удалить углеродные отложения.
Удалит ли он накопление углерода более чем за десять лет при первом использовании? Наверное, нет.
Вот почему такие продукты, как Cataclean, следует использовать 4 раза в год .
Регулярное использование поможет очистить эти стойкие отложения и предотвратить образование нового нагара.
Если вы читали в Интернете какие-либо обзоры рекомендованных нами продуктов, вы можете столкнуться с несколькими людьми, которые почувствовали себя обманутыми, купив бутылку очистителя каталитического нейтрализатора.Хотя это прискорбно, вас следует предупредить, что вам может потребоваться купить более одной бутылки очистителя, чтобы получить желаемые результаты.
Да, покупка нескольких бутылочек моющего средства может быть дорогостоящим. Однако это намного дешевле, чем покупка нового каталитического укрывателя, который может стоить сотни долларов, не считая затрат на рабочую силу для его установки!
Хорошо, теперь, когда это у нас есть, давайте узнаем, как это работает на самом деле…
Очиститель каталитического нейтрализатора использует растворители и ацетон для поддержания чистоты двигателя и выхлопной системы.Когда эти ингредиенты добавляются в ваш бензобак и в конечном итоге израсходуются во время движения, побочный продукт составляет:
.
Это волшебные ингредиенты, очищающие каталитический нейтрализатор изнутри. Помимо очистки выхлопной системы, бутылка Cataclean также очистит топливные форсунки, удалит отложения в цилиндрах и улучшит экономию топлива.
Заключение
Итак, мы наконец-то решили загадку: очиститель каталитического нейтрализатора действительно работает!
Однако в этой статье мы определили несколько причин, по которым у вас могут быть проблемы с каталитическим нейтрализатором с самого начала.
Во-первых, подумайте о замене свечей зажигания, если ваш автомобиль проехал более 50 000 миль. Поврежденные или изношенные свечи зажигания могут привести к тому, что ваш двигатель будет работать на обогащенной смеси, что приведет к чрезмерному накоплению углерода.
Затем используйте бутылку очистителя каталитического нейтрализатора, чтобы удалить нагар из вашей выхлопной системы. Если первая бутылка чистящего средства не дает желаемых результатов, попробуйте еще раз. Чтобы удалить нагар из выхлопной системы, может потребоваться несколько попыток.
Наконец, после того, как вы попробовали все предложения и по-прежнему получаете коды ошибок OBD2, такие как P0420 или P0430, вам может потребоваться заменить каталитический укрыватель.
Драгоценный металл внутри преобразователя может быть легко поврежден и не подлежит ремонту. В этом случае ознакомьтесь с нашим руководством, в котором рассматриваются расходы на каталитический нейтрализатор и где можно приобрести замену.
Что такое очиститель каталитического нейтрализатора и действительно ли он работает?
Многие из нас заявляют, что заботятся об окружающей среде, но немногие знают, что состояние каталитических нейтрализаторов наших транспортных средств важно для предотвращения вредных выбросов.Когда они забиваются, производительность транспортного средства должна ухудшаться, и в атмосферу выбрасывается больше вредных газов. Поскольку это дорогие детали, некоторые люди пытаются починить их с помощью этих чистящих средств, но можно ли их очистить и восстановить?
Прежде чем мы ответим на этот вопрос, давайте разберемся, что такое каталитический нейтрализатор и как он работает. Являясь неотъемлемой частью выхлопной системы любого транспортного средства с двигателем внутреннего сгорания, он контролирует и снижает выбросы, выходящие из выхлопных труб.
В нем используются встроенные катализаторы для преобразования токсичных углеводородов, монооксида углерода и оксидов азота в менее вредные газы, такие как диоксид углерода, азот и пар.
Они такие дорогие, потому что содержат драгоценные металлы, такие как платина, палладий и родий, которые взаимодействуют с углеводородами, оксидом углерода и оксидами азота, выделяемыми двигателем, превращая их в менее вредные газы, упомянутые ранее.
Как и многие другие детали, подверженные износу, они имеют ограниченный срок службы приблизительно 100 000 миль (160 934 км), но подавляющее большинство продолжает работать должным образом и после этого.
Со временем они засоряются, и первым признаком этого является наличие светового сигнала уведомления или предупреждения на приборной панели вашего автомобиля.Другие симптомы включают повышенный расход топлива, потерю мощности и темный дым из выхлопных труб, сопровождающийся запахом серы или тухлых яиц.
Это подводит нас к чудесным очищающим и лечебным средствам. Они рекламируются как специально разработанные продукты, которые удаляют и предотвращают накопление углерода внутри кошки, очищают всю выхлопную систему, клапан рециркуляции отработавших газов, камеру сгорания и топливные форсунки.
Большинство из них заливается в бензобак и творит чудеса во время вождения, не изменяя химический состав топлива и не повреждая какие-либо жизненно важные компоненты.
Но могут ли эти продукты оживить забитую кошку, которую в противном случае следовало бы заменить? Краткий ответ: нет. Использование одного из этих продуктов, вероятно, приведет к облегчению симптомов, в основном потому, что они содержат присадки, которые очищают отложения углерода в топливной и выхлопной системах вашего двигателя. Имейте в виду, они не устранят их полностью или не отремонтируют волшебным образом поврежденный каталитический нейтрализатор.
Учитывая, насколько дорогая новая кошка даже на старых моделях, стоит попробовать эти продукты, прежде чем заменять ее, не так ли? Именно на этом и зарабатывают компании, производящие эти чистящие средства.
Эти очистители могут хорошо справиться с уменьшением нагара в полностью работающем каталитическом нейтрализаторе, но не ожидайте, что они оживят поврежденный каталитический нейтрализатор, длина которого намного превышает 100 000 миль (160 934 км).
Мой личный опыт использования высококачественного очистителя не дал абсолютно никаких положительных или отрицательных эффектов, действуя скорее как плацебо, хотя я старательно следовал точным инструкциям, указанным на этикетке.
Если вы тоже хотите попробовать, не забудьте купить высококачественный, чтобы убедиться, что он не окажет негативного воздействия на ваш двигатель и выхлопную систему.К ним относятся Cataclean мистера Гаскета, который, кажется, самый популярный, средство строгой каталитической очистки и очистки выхлопных газов от Dura Lube, очиститель каталитической системы Liqui Moly или очиститель EZ EZ Emission Pass и очиститель каталитического нейтрализатора от Hi-Gear.
Но если вы действительно заботитесь о своем автомобиле и, что еще более важно, об окружающей среде, замените изношенный каталитический нейтрализатор.
Каталитические печи — все, что вам нужно знать о самоочистке
Каталитические печи являются частью самоочищающихся печей — высшее волшебство новых технологий в 21 st веке.Несомненно, наличие духовки, которая может избавить вас от посттравматического стресса, связанного с ее периодической чисткой, является преимуществом для каждого повара с долей самоуважения.
Эта печь была оценена как черно-белая, потому что она была слишком грязной для нашего блога.
Да! Название происходит от катализаторов, которые они используют в качестве материала покрытия, которое помогает превратить любой нежелательный пищевой беспорядок в пепел. Мы доберемся туда через секунду. Обратите внимание, что на самом деле существует более одного типа самоочищающихся духовок, в том числе: каталитический и пиролитический .Двое сделают работу… более или менее. Не волнуйтесь — вот почему мы вложили средства в людей, которые пишут сообщения в нашем блоге — чтобы информировать вас, когда дело доходит до таких деликатных вопросов, связанных с духовкой.
В чем разница?
Самое главное отличие в механизмах самоочистки духовки.
Поясним.
- Каталитические печи используют специальные эмали , покрывающие их внутренности , содержащие катализаторы окисления , которые заставляют пищевые беспорядки очень легко превращаться в мелкую золу (при температурах выпечки).Покрытие пористое и защищено от царапин. Мы могли бы утомить вас названиями материалов, использованных для покрытия, но не будем. Во всяком случае, это причудливый способ сказать, что всякий раз, когда жир попадает на стенку / дно вашей духовки, вы можете просто стереть его после того, как закончите готовить. Никаких чистящих средств для духовки, достаточно сухой тряпки.
- Пиролитические печи вроде как делают то же самое, но не совсем. Их стратегия ниндзя-уборщиков также заключается в превращении пищевых отходов и мусора в пепел.Но для этого у них есть собственный цикл очистки, который в некоторых случаях может длиться до 4 часов. В то время как защитный пиролитический фарфор эмаль внутри нагревается до 800 градусов Цельсия. По понятным причинам во время происходящего там адского бедствия печи часто дымят и могут срабатывать пожарную тревогу. Кроме того, вы не можете использовать его в это время, потому что он буквально сжигает ваших врагов пищевых отходов дотла, если у вас нет сырого глиняного горшка, который вы хотите закончить, то есть. Эти типы духовок имеют улучшенную изоляцию и снижают вероятность возгорания.
Грязь получает то, чего заслуживает.
Почему каталитические печи?
Это не одна из тех статей, где автор сравнивает 2 продукта и в конце говорит: «Ну, правда, решать вам». Это не тебе решать. Обозначив механизмы самоочистки духовок, мы определим победителя. Кстати, именно каталитические.
Духовки с пиролитической самоочисткой:
- Имеет длительный цикл очистки
- Не может использоваться в указанном цикле, обычно запрограммирован на запирание дверей при высоких температурах
- Выкуривает кухню, может вызвать пожарную тревогу
- Потребляет больше энергии при очистке (разумной практикой было бы включить функцию очистки сразу после того, как вы закончили ее использовать, чтобы сэкономить немного электричества при нагревании)
- Прекрасная изоляция, что означает снижение обычных затрат на приготовление пищи, для ускоряет процесс нагрева.
- Меньшая вероятность возгорания благодаря усиленной изоляции.
- Не подпускайте домашних животных, пока включена функция очистки — нагретые тефлоновые детали могут выделять пары без запаха, которые являются высокотоксичными для птиц.
Духовки с каталитической самоочисткой:
- Вам нужно искать те, у которых есть каталитические прокладки на дне духовки, иначе вам придется чистить их самостоятельно
- Нет цикла очистки, самоочищает загрязнения при нормальной температуре приготовления
- Отсутствие дыма и неприятных запахов
- Цены ниже, чем у пиролитических
- В очень редких случаях может потребоваться замена каталитических эмалей
Наличие любого из них, безусловно, улучшит процесс приготовления, но, по нашему скромному мнению, Каталитические печи опережают конкурентов.Обратите внимание, что это только наш вывод, и мы не несем ответственности за ваш будущий печной блюз с обоими.
Penray предлагает новый набор для очистки каталитического нейтрализатора | 2016-10-26
Penray Inc. представила набор для очистки каталитического нейтрализатора № 2901 для автомобилей с бензиновым двигателем и легких грузовиков.
Компания заявляет, что это первая статья такого рода, доступная на рынке запчастей для автомобилей, и единственная такая статья, получившая одобрение EPA.
Этот новый двухступенчатый комплект химической очистки удаляет загрязнения из каталитического нейтрализатора, восстанавливая его способность снижать вредные выбросы углеводородов и устраняя необходимость в дорогостоящей замене, по словам Пенрея.Ключевым преимуществом является сокращение выбросов на целых 50%, что позволяет автомобилям проходить испытания на выбросы и предотвращение повторения кода неисправности.
В комплект также входит средство для очистки топливной системы Penray # 2216, которое удаляет отложения с топливных форсунок и других важных компонентов топливной системы. Это обеспечивает улучшенные характеристики и экономию топлива, помогая предотвратить загрязнение каталитического нейтрализатора в будущем.
Пенрей говорит, что каталитические нейтрализаторы обычно содержат шарики или сотовую матрицу, покрытые экзотическими материалами, такими как платина или палладий.Эти металлы вызывают химическую реакцию в каталитическом нейтрализаторе, которая сжигает остатки топлива в потоке выхлопных газов, прежде чем они могут выйти из выхлопной трубы. Поверхности конвертера могут покрыться различными загрязнениями, что приведет к неполному сгоранию конвертера.
Penray говорит, что его химики разработали эксклюзивные смеси, которые могут удалять эти загрязнители, подвергая большую часть катализатора воздействию выхлопных газов и приводя к сокращению выбросов углеводородов на целых 50 процентов.Затем двухэтапный процесс Penray очищает систему подачи топлива от загрязнений, предотвращая загрязнение драгоценных металлов преобразователя в будущем. При этом он помогает предотвратить повторение пугающего индикатора Check Engine.
«Наши химики создали гениальную смесь, которая способна удалять углеродистые отложения внутри каталитических нейтрализаторов, восстанавливая их способность сокращать вредные выбросы», — говорит Марк Кардон, директор по маркетингу. «До сих пор основным решением для загрязненных или неисправных каталитических нейтрализаторов была замена, которая была очень дорогой и стоила более 1500 долларов.«
«Однако теперь есть доступное решение в виде нашего нового набора для очистки каталитического нейтрализатора № 2901, который восстанавливает преобразователи до их первоначального уровня производительности. А включение нашего общего очистителя топливной системы № 2216 гарантирует, что преобразователь останется загрязненным. бесплатно на многие тысячи миль «.
Для получения дополнительной информации о статьях Penray посетите www.penray.com.
Что такое пиролитическая (самоочищающаяся) духовка и стоит ли она своей цены?
Необходимо знать
- Пиролитические печи работают за счет нагрева до 400–500 ° C, при котором сжигаются пригоревшие остатки
- В результате остается только пепел, который можно пропылесосить или вытереть из духовки влажной тканью.
- Они дороже обычных духовок, но становятся более доступными и распространенными.
Помимо пакета Tim Tams, который никогда не заканчивается, самоочищающаяся духовка, вероятно, единственное, что сделает вашу кухню законченной.Если вы думаете, что это звучит слишком хорошо, чтобы быть правдой, это не так — пиролитические печи действительно очищаются с минимальным вмешательством человека.
Если у вас аллергия на чистящие средства или просто на саму чистку, пиролитическая печь может быть для вас.
Вот как они работают и что вам нужно о них знать.
Как работает пиролитическая печь?
Каждый раз, когда вы готовите в духовке, на стенах, потолке и дверцах духовки появляются брызги жира, мясные соки и всевозможные виды жира и грязи.После того, как они запекутся, их будет трудно очистить — отсюда и необходимость в сильно едких чистящих средствах для духовки, чтобы ваша духовка снова стала сверкающей (или, по крайней мере, менее грязной, в зависимости от ваших навыков чистки духовки).
Пиролитические печи справляются с грязью иначе: сжигают ее огнем. Что ж, более конкретно, духовка нагревается примерно до 400-500 ° C, нагревая пригоревшие кусочки до тех пор, пока они не карбонизируются и не превращаются в золу — процесс, называемый пиролизом.
«Духовка с функцией пиролитической очистки упростит очистку вашей духовки», — говорит эксперт по кухне CHOICE Фиона Майр.
«Так как в большинстве духовок гриль находится внутри духовки, если вы готовите на гриле и запекаете много мяса и овощей, вам обязательно стоит подумать о духовке с этой функцией».
Сколько стоят пиролитические печи?
Мы протестировали ряд духовых шкафов с пиролитической стенкой, цена которых варьировалась от 895 долларов за базовую модель Beko до 8099 долларов за пиролитическую печь Miele со всеми наворотами.
Для сравнения, каталитические настенные печи (мы объясняем разницу между ними и пиролитическими печами ниже), которые мы тестировали, обойдутся вам в сумму от 849 до 2299 долларов за DeLonghi.
Обычные настенные духовые шкафы, которые мы тестировали, обычно стоят от 599 до 1300 долларов.
«Духовки с функцией пиролитической очистки становятся все более доступными и распространенными», — говорит Фиона. «В нашем последнем обзоре духовок большинство духовок имели функцию пиролитической очистки».
В чем разница между пиролитическими печами и каталитическими печами?
Другой основной тип «самоочищающейся» печи называется каталитической печью. Это помогает поддерживать чистоту духовки благодаря использованию каталитических прокладок, содержащих минералы и химические вещества, поглощающие брызги жира.
Важно, чтобы каталитические вкладыши обеспечивали хорошее покрытие: идеально закрывали обе стороны, заднюю часть и крышу. Но у некоторых есть вкладыши только на задней стенке или только по бокам. Помните: где бы ни был лайнер, чистить вам не придется!
Вам необходимо регулярно нагревать каталитическую печь до 250 ° C в течение часа, чтобы сжечь брызги. Когда духовка остынет, протрите каталитические прокладки влажной тканью. Если вы регулярно используете духовку при температуре выше 200 ° C, то подкладки, скорее всего, останутся в хорошем состоянии и не пропадут грязью и жиром.
Вкладыши должны служить долго, но в конечном итоге может потребоваться их замена за дополнительную плату.
Пиролитическая печь выполняет всю очистку самостоятельно?
Хотя пиролитические печи часто называют «самоочищающимися», к сожалению, они не сделают за вас всю работу, но хорошая новость в том, что они возьмут на себя большую часть этой работы.
В зависимости от вашей духовки вам необходимо снять полки и боковые направляющие и протереть внутреннюю часть дверцы перед запуском пиролитического цикла.Также рекомендуется очистить любые крупные куски прикипевшего материала перед использованием пиролитической функции и хорошо очистить внешнюю стеклянную дверцу, так как любые следы прилипнут и их будет трудно удалить.
Пиролитические печи не сделают за вас всю работу — но они позаботятся о большей ее части
Мы протестировали несколько моделей, которые поставляются с аксессуарами, которые можно оставить в духовке во время чистки, включая боковые направляющие и решетки для жарки, что избавляет вас от необходимости снимать их и чистить по отдельности.Другие модели могут предлагать пиролитические аксессуары, такие как опоры для полок.
После завершения цикла пиролитической очистки вам нужно будет пропылесосить или стереть золу. Вот и все.
Безопасны ли пиролитические печи?
Да, но все же следует принять некоторые меры предосторожности.
Во-первых, духовка снаружи станет горячее, чем обычно, даже если дверца имеет дополнительную изоляцию, поэтому лучше держать кухонные полотенца подальше от дверцы и не подпускать детей к духовке, пока она выполняет цикл очистки.
Во-вторых, пиролитические печи также могут выделять дым, если есть много остатков, которые нужно сжечь, поэтому важна хорошая вентиляция.
Во время цикла очистки дверца духовки автоматически блокируется, чтобы предотвратить ее случайное открытие. Он будет оставаться заблокированным, пока температура не упадет до безопасного уровня.
Стоит ли пиролитическая печь своих денег?
Это действительно зависит от того, насколько вы ненавидите мыть духовку! Пиролитические печи стоят больше, чем обычные духовки, но можете ли вы назначить цену за то, чтобы никогда больше не чистить духовку?
Пиролитическая очистка тщательно обработает вашу духовку, особенно в труднодоступных местах, поэтому она не только сэкономит ваше время и усилия (не говоря уже об отказе от использования каустических очистителей для духовок), но и, вероятно, поможет лучше работу, чем вы могли бы сделать сами.
Сколько времени занимает пиролитическая очистка?
Цикл пиролитической очистки занимает от одного до трех часов, в зависимости от настроек духового шкафа. Многие модели имеют несколько настроек цикла очистки, которые вы можете выбрать в зависимости от степени загрязнения духовки.
«Ищите духовку, у которой есть как минимум два режима пиролитической очистки: чистка от легких загрязнений и интенсивная очистка», — говорит Фиона.
Как часто нужно проводить пиролитическую очистку?
В зависимости от того, как часто вы готовите, вам необходимо проводить пиролитическую очистку каждые два месяца, а также рекомендуется как можно скорее убирать пролитые и крупные куски пищи, чтобы они не пригорели в первый раз. место.
Биокаталитическая очистка — Bio-Organic Catalyst, Inc.
Биокатализаторы (BOC)
Bio-Organic Catalyst, Inc. — это новое поколение экологически чистой химии; где поверхностные загрязнители отходов безопасно очищаются, а затем быстро распадаются с помощью биокатализа на их основные составляющие. BOC обладают высочайшими характеристиками среди дезодорантов, очистителей или обезжиривателей; с нетоксичным и биоразлагаемым (зеленым) химическим составом в сочетании с практически мгновенным каталитическим разрушением (биоразложением) загрязняющих веществ в отходах; получение сверхчистых поверхностей, оснований и дренажных систем.
Технология биокатализатора BOC представляет собой преобразование в отрасли очистки, при котором все общие операции по очистке, обезжириванию, восстановлению углеводородов, очистке канализации, устранению запаха и сбросу сточных вод синергетически интегрированы. Весь процесс превращается в единую и экономичную модель управления окружающей средой, приносящую пользу персоналу, качеству уборки и прибыли.
Преимущества:
- Устранение микроскопических образований органических биопленок («биопленок»), а также остатков традиционных моющих средств, химикатов и дезинфицирующих средств; Результатом стал новый стандарт чистоты и здоровья населения.
- Отвечает требованиям EPA и USDA для использования при приготовлении пищи и сбросе в общественные водные пути. Использование BOC продемонстрировало впечатляющие результаты в сокращении выбросов загрязняющих веществ в окружающую среду и сточных вод.
- Абсолютно нетоксичны, биоразлагаемы и неаллергенны.
- Заменяет большинство чистящих средств, моющих средств, обезжиривателей и растворителей. BOCs немедленно устраняют септические состояния и вредные газы.
- Глубокая очистка самых стойких пятен и загрязнений.
- Опасные летучие газы и запахи немедленно нейтрализуются.
- Смазки и масла легко удаляются и быстро катализируются.
- Сливы выполнены безнапорные.
- Сбросы сточных вод обрабатываются «у источника».
- Микроскопические биопленки, содержащие токсины, быстро растворяются.
- Обе поверхности и нижележащие основания остаются сверхчистыми.
Биокаталитические композиции BOC, которые обладают быстрым разложением ВОГ (липидов и углеводородов), являются уникальными на рынке и обеспечивают огромные преимущества почти для всех систем очистки.

В таких моделях стенки покрыты специальной пиролитической эмалью, способной выдерживать высокие температуры. После выбора соответствующей программы духовка нагревается до 500°С, чтобы обеспечить расщепление органического вещества.
com/review_325097.html
Дверка при этом блокируется. Через 1–1,5 часа процесс будет завершен;


На практике же при повышении температуры катализаторы активируются, запуская начало процесса окисления накопившихся жиров. После окончания каталитической очистки жиры становятся обуглившимся пеплом и частицами воды.
Это приводит к тому, что приходится прогонять духовой шкаф вхолостую или использовать другие доступные методы очистки загрязненной поверхности.
К тому же при покупке духового шкафа никто не мешает сразу приобрести дополнительные пластины, чтобы можно было при износе произвести замену своими силами. Стоит также отметить, что по цене духовки с катализом намного доступнее альтернативы. Кроме того, они подходят и к газовым вариантам, и электрическим.
Поэтому встречается исключительно у электрических;
Исходя из указанных параметров, для одних наилучшим вариантом окажется катализ. Для тех, кто предпочитает минимум вмешательства и гарантированное качество, а также передовые технологии – пиролиз.