Алюминиевые двери как регулировать: как отрегулировать входную металлическую дверь, видео, железная своими руками
как отрегулировать входную металлическую дверь, видео, железная своими руками
Как правило, регулировку алюминиевой двери следует проводить регулярно
Даже если входную металлическую дверь установили по всем правилам и работой занимались настоящие профессионалы, то с течением времени в процессе эксплуатации могут возникать некоторые проблемы и трудности. Именно они доставляют сильный дискомфорт в виде затрудненного открывания/закрывания, а в некоторых случаях, может вообще наблюдаться блокирование дверного полотна. Именно в таком случае требуется регулировка алюминиевых дверей, за счет чего можно вернуть конструкции надлежащий вид и возможность эксплуатировать изделие без проблем. Стоит заметить, что восстановление работы дверного полотна вполне возможно сделать своими руками. Для работы потребуется всего лишь ознакомиться с последовательностью выполнения ремонта.
Содержание материала:
Когда необходима регулировка входной двери: причины
Каждый человек стремится сделать свой дом максимально надежным, комфортным, защищенным.
Стоит заметить, что особое внимание нужно уделять именно двери, независимо от того, частный дом это или квартира. Многие не имеют представления о том, что даже после грамотно проведенного монтажа дверной конструкции требуется проводить регулировку. Есть ряд критериев, по которым можно определить то, что нужно или нет проводить регулирование полотна, так как пренебрежение ими может стать причиной преждевременного выхода из строя изделия.
Первоначально, чтобы самостоятельно отрегулировать железную дверь, нужно обратить внимание на ее петли.
В данном случае речь идет о дверях распашного типа. Установка полотна должна проводиться на петли максимально равномерно. Именно это позволит избежать ряда серьезных проблем, например, таких как искажение двери, перекос и вовсе отламывание петель. Помимо этого, петли должны быть подобраны именно в соответствии с весовой категорией изделия, так как в противном случае, нормально попользоваться полотном получится максимум 1-2 месяца.
Причиной регулировки входной двери может стать любого рода поломка
К признакам того, что не требуется регулировать дверь относительно дверного короба, относят отсутствие надобности в применении силы при открытии, наличие одинакового зазора между дверью и коробом по периметру створки, отсутствие изменений в положении при внешнем воздействии, отсутствие плотного касания полотном короба в закрытом состоянии, возможность свободно открывать и закрывать конструкцию без препятствий. Если хотя бы один из данных критериев не выполнятся, то это свидетельствует о наличии дефекта в конструкции, и требуется выровнять перекосившуюся дверь.
О том, что требуется регулирование дверных конструкций, свидетельствует наличие:
- Неприятного скрежета при использовании полотна, причиной которого становится высокое трение соприкасающихся поверхностей или же проникновение пыли с песком между ними.
- Люфт створки, который возникает при неплотном прилегании двери и короба, а причина тому в том, что дверь просела или неправильный монтаж петель.

- Тугого открытия двери, которое происходит при провисании.
- Большого зазора между дверью и коробом, к чему приводит изнашивание уплотняющего слоя.
Все полотна из металла регулируемые, а процесс их выравнивания нужно осуществлять в момент монтажа, а также периодически при эксплуатации. Только таким образом можно сохранить полотно как можно лучше в надлежащем виде и избежать не только серьезных поломок, но и больших вложений на обслуживание и восстановление защиты дома.
Как отрегулировать входную металлическую дверь: инструменты
Если плохо закрывается дверь, то нужно делать регулирование. Другими словами, как уже было отмечено, причин, по которым нужно восстановить оптимальное состояние дверного полотна, может быть множество, однако проводить работы следует, только руководствуясь таким документом, как инструкция, которая идет в комплекте с каждым изделием. Многие компании предлагают дополнительное обслуживание при продаже дверей, однако эта услуга совершенно бесполезна, ведь данные действия можно осуществить самостоятельно.
Перед тем как приступить к регулировке металлической двери, необходимо подготовить необходимые инструменты для работы
Для регулировки потребуется наличие:
- Шестигранных и торцевых ключей;
- Напильника;
- Отверток.
В некоторых случаях дополнительно может пригодиться машинное масло, которое после проведения регулировки, добавляется в небольшом количестве в те места, где происходит трение сопряженных деталей. Желательно сразу же приобрести новый уплотнитель, чтобы не проводить техническое обслуживание дважды.
Советы: как отрегулировать входную дверь для устранения скрипа
Чтобы исправить такую проблему, как скрип, который возникает, когда дверь захлопывается и открывается, потребуется позаботиться о приобретении специального смазочного материала. Чаще всего, приходиться обслуживать именно по этой причине китайскую дверь, так как они с завода идут с минимальным количеством смазки.
Для смазки можно использовать самые различные материалы, например, аэрозольное средство WD-40.
Если в местах, где происходит трение деталей, присутствуют абразивные частички, то это более сложно, так как не достаточно просто прокапать петли конструкции маслом. В целом, чтобы удалить наличие неприятного скрипа при использовании металлической двери, нужно провести ревизию.
Для того чтобы дверь не скрипела, нужно использовать специальную смазку
А именно:
- Разбор конструкции;
- Чистку всех мест, где соприкасаются дверные элементы;
- Сборку изделия, предварительно смазав все необходимые детали, расположенные внутри и особенно тщательно промазывается поворотный механизм.
Если скрип, став назойливым, возникает из-за того, что дверь осела, то, когда она плотно закрытая, постепенно начнет оставаться след на коробе. В таком случае требуется провести ослабление петель, регулирование пространственного расположения створки, затягивание крепежных элементов.
Инструкция: как отрегулировать алюминиевую дверь при тугом открывании
С внутренними дверными полотнами все обстоит намного проще, так как отрегулировать входную дверь – это все равно, что работать с таким изделием, как сейф, в котором, начиная с язычка замка и оканчивая полностью сборкой створки, нужно быть не только аккуратными, но и не допустить ошибок, которые могут стать выгодными для злоумышленников.
Отрегулировать входную дверь вполне можно самостоятельно, главное — грамотно подходить к этому процессу
Другими словами, если есть желание самостоятельно провести регулировку входной металлической двери, то нужно:
- Терпение;
- Грамотный подход;
- Наличие всех необходимых инструментов.
Если начала туго открываться дверь в квартиру, то нужно посмотреть, на сколько уплотнитель прилегает к поверхности конструкции. Порой это может быть из-за того, что он топорщиться или же из-за слишком большого его слоя. В таком случае происходит некачественная герметизация двери, а наоборот, образование дополнительных щелей и снижение уровня безопасности. В крайне редких случаях тугое открывание двери возможно только по причине того, что она новая, это часто происходит с полотнами компании Торекс.
Часто уплотнитель слишком новый и он не притерся к изделию, но это вовсе не проблема и она не опасна.
Также причина может крыться в такой детали, как замок, к примеру, если расположение язычка и ответной пластины находится на разном уровне.
Чтобы устранить проблему, нужно взять напильник, и удалить излишки материала, которые и стали причиной.
Как отрегулировать входную металлическую дверь (видео)
При желании, регулирование металлической двери можно сделать самостоятельно, однако для этого нужно приложить силы, смекалку и, конечно же, инструмент. Нет таких поломок, которые бы невозможно было устранить самостоятельно, так как мастера – это точно такие же люди. К чему переплачивать, если можно сэкономить? При грамотном соблюдении всех рекомендаций, получится сделать регулирование быстро и, самое главное, правильно.
Регулировка алюминиевых дверей | Компания РКС Киев
Профессиональный
оконный сервис, выполняем все виды работ по ремонту окон и дверей по доступным
ценам в Киеве и области.
Наши
мастера в каждом районе Киева.
Звоните
или оставьте заявку на нашем сайте.
Отремонтировать алюминиевые двери возможно только, если профиль в приемлемом состоянии. Не ждите, пока ваша окончательно сломается! Что бы потом не пришлось ставить новую дверь и переплачивать много денег!
Звоните! Ремонт алюминиевых, регулировка пластиковых балконных дверей и многое другое мы сделаем быстро и не дорого!
Если у вас есть какие-либо сомнения по поводу неисправностей фурнитуры или других компонентов дверей – рекомендуем позвонить в нашу компанию, чтобы специалисты выполнили обнаружение и исправили поломки. Стоит отметить, что в большинстве случаев проблемы алюминиевых компонентов – петли и замки, защелки и замки. Так же нашими специалистами легко будет сделана регулировка пластиковых окон и дверей, регулировка входных дверей и многое другое! Звоните!
С точки зрения устройств ввода, рекомендуется чтобы установка, ремонт и регулировка пластиковых окон и дверей были сделаны только специалистами, так как высокое качество продукции слишком сложная конструкция и без особых знаний и инструментов вы вряд ли справитесь .
Основная цель каждой двери в дополнение к общей безопасности и охраны – это защита дома от пыли, шума, холода и других климатических воздействий, которые могут попадать в дом из внешней среды.
И главный ваш помощник в этом – это система герметизации, которая обеспечивает удобную посадку для коробки окон и дверей. Замена уплотнителя – это быстрая и не дорогая процедура! Регулировка пластиковых окон и дверей, регулировка балконных дверей так же может быть сделана быстро и дешево!
Со временем некоторые компоненты дверей ждет износ и резиновые уплотнители должны быть заменены. Следует отметить, что существует множество систем уплотнения дверей, и наши мастера всегда подберут для вас наилучшие уплотнители, чтобы ваши двери работали на полную мощь.
Наша компания предоставляет множество услуг! Регулировка входных дверей, регулировка пластиковых окон и дверей, замена уплотнителей и это далеко не весь печень! Мы всегда даем гарантии на наши товары и услуги! Работаем в городе Киеве и области!
Звоните! Убедитесь что регулировка входных дверей – это совсем не дорого!
Наши Мастера умеют много: Отремонтировать Окна, Двери,
Балконы.
Изготовить и установить москитные сетки Стеклопакеты, Доводчики,
Подоконники, отливы, козырьки. Установить, настроить спутниковые антенны. И другие виды
работ.
Обращайтесь к нам.
Регулировка алюминиевых дверей в Москве — цена от 1000 р
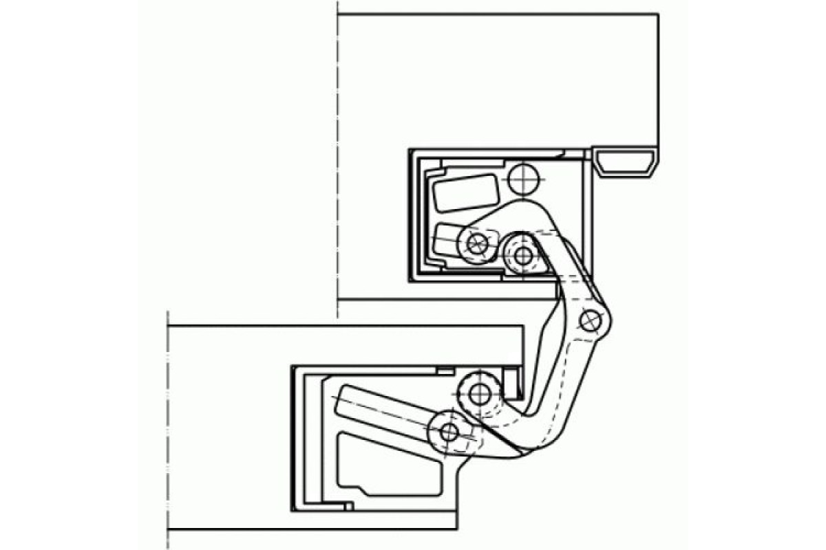
Каким деталям алюминиевой двери нужна регулировка?
На дверях из алюминия в основном устанавливаются накладные петли, замки могут быть как врезными, так и накладными. Что касается навесов, важный критерий для них – способность выдержать вес полотна. Поэтому эти элементы конструкции подбираются исходя из типа двери – входные, межкомнатные или балконные. Замки должны отвечать требованиям по надежности и устойчивости к различным методам взлома, обеспечивать плотное прилегание полотна двери к коробке. Выполняя регулировку алюминиевых дверей, в первую очередь обращают внимание на петли и замки. При регулировке двери выполняются следующие операции:
- Смазка петель.
Эта процедура помогает избавиться от скрипа двери, обеспечивает плавное открывание и закрывание полотна. В качестве смазочного средства используется либо машинное масло, либо специальная жидкость. Выбор смазки для двери зависит от температурного режима помещения, в котором установлена конструкция; - Настройка петель. Эта процедура выполняется при помощи специального инструмента и позволяет поднять и выровнять положение полотна двери, что избавляет его от трения о коробку, помогает устранить перекос. В данном случае для регулировки нужно найти проблемный участок конструкции, зажать или ослабить петлю, которая находится ближе всего;
- Работы по настройке замков алюминиевых конструкций. Здесь в зависимости от проблемы могут выполняться разные операции: очистка и смазка механизма, настройка его отдельных деталей, расточка коробки двери;
- Часто регулировка алюминиевых дверей включает в себя и монтаж уплотнителя. Это помогает избавиться от сквозняка и проникновения в помещение постороннего шума.

Как понять, что дверь из алюминия отрегулирована правильно?
Если вся работа по настройке петель и замков двери была выполнена без ошибок, полотно будет плотно прилегать к коробке, не будет никаких щелей и зазоров. Во время открывания и закрывания алюминиевой двери элементы конструкции не будут тереться друг о друга. Полотно будет находиться в одном положении и в закрытом, и в открытом виде, не будет никаких провисаний и перекосов. Замки и ручки двери будут функционировать без заеданий. В помещение не будет проникать холодный воздух, шум, посторонние запахи.
Обязательно ли вызывать мастера для регулировки алюминиевых дверей?
В некоторых случаях регулировка дверей из алюминия может быть выполнена без привлечения специалистов. Например, своими силами можно очистить запирающий механизм от посторонних предметов. Главное выполнять всю работу аккуратно, грамотно подобрать смазочное средство. Если алюминиевая дверь требует более серьезных действий, например, настройки петель в целях избавления от провисания или смазки для избавления от скрипа, то тут без квалифицированного мастера не обойтись.
Во-первых, часто для выполнения работы полотно требуется демонтировать: учитывая вес алюминиевых полотен, сделать это одному очень сложно. Во-вторых, чтобы зажать или ослабить петли требуется специальный инструмент, а также знания и навыки, чтобы сделать всё грамотно, не переусердствовать и не испортить фурнитуру. Задача усложняется, если петли скрытые и спрятаны внутри конструкции. Поэтому данную работу лучше доверить опытному специалисту.
Кроме того, если в процессе выполнения работы потребуется замена какой-либо детали или замка, мастер сделает это сразу на месте. Каждый сотрудник нашей службы имеет при себе более 390 видов различной фурнитуры. Вся работа выполняется быстро и качественно благодаря 5-летнему опыту работы мастеров и наличию профессиональных инструментов. На все оказанные услуги предоставляется документальная гарантия.
Нуждаетесь в регулировке двери из алюминия? Звоните нам или заказывайте обратный звонок на сайте, мастер приедет в течение 20 минут!
Как отрегулировать входную алюминиевую дверь
Безусловно, пропадая днями на работе, откладывая деньги для того, чтобы приобрести что-то новое для своего дома, для его обустройства, конечно, хочется быть уверенными в том, что все нажитое имущество находится в безопасности.
Гарантом того, что все находится под надежной защитой, будет входная дверь. К выбору дверной конструкции нужно относиться очень ответственно и приобрести следует качественный, надежный продукт. С широким выбором и ассортиментом алюминиевых входных дверей можно ознакомиться на сайте https://www.oknakomforta.ru/produkcija/dveri/alyuminievye/.
Поле того, как входная дверь уже куплена, остается правильно ее установить и отрегулировать, для того, чтобы она верно функционировала. В данной статье разберемся, как же выполнить регулировку входной двери самостоятельно.
Виды алюминиевой входной двери
Давайте рассмотрим, какие есть виды данной двери:
- холодная раздвижная алюминиевая дверь. Такую дверь устанавливают на балконе, лоджии. Она подходит для помещения, для которого теплоизоляция не является основным требованием;
- теплая раздвижная алюминиевая дверь. Это наиболее предпочтительный вариант двери для установки в доме, на даче, так как данная дверная система отлично сохраняет тепло.

Как выполнить регулировку
Не зависимо от качества двери наступает момент, когда необходимо выполнить ее регулировку.
Регулировка выполняется следующим образом:
- для того чтобы регулировка была возможной необходимо чтобы был в наличии шестигранный ключ, которым и регулируются петли;
- на ботовой части дверной конструкции расположены скрытые петли, их необходимо провернуть при помощи ключа. Данных винта должно быть три;
- нужно открыть дверь и выдерживая ее в нужном положении выполнить регулировку. Шестигранным ключом необходимо провернуть один раз каждый из винтов. Это действие ослабит или усилит дверной прижим.
Если регулировка не выполняется, это может означать только одно, петли вышли из строя и больше не могу правильно функционировать, их нужно поменять.
От регулировки двери зависит, как будут открываться, и закрываться двери. Также регулировка обеспечивает хороший прижим дверного полотна, что обеспечит защиту от сквозняка и снизит уровень шума.
Также нужно следить, чтобы после проведения работ по регулировке не было перекоса двери.
Выполненная вовремя регулировка продлит срок эксплуатации двери.
пошаговая инструкция, способы и способы, советы мастеров
В наши дни заметна тенденция роста спроса на алюминиевые двери. Они постепенно пришли на рынок, составив большую конкуренцию железным дверным полотнам. Люди предпочитают данный тип все чаще, но их интересует, как осуществить регулировку алюминиевых дверей. Чтобы разобраться в искомом вопросе, следует подробно изучить информацию о представленной теме.
Плюсы алюминиевых дверей
Люди выбирают их из-за многочисленных плюсов данного металла.
Они таковы:
- Сплавы алюминия не являются горючими, что является залогом пожарной безопасности дома.
- Данный материал не поддается коррозии, устойчив к химическим воздействиям на него.
- Двери из алюминия можно эксплуатировать не один год. Данному металлу не страшны любые условия, могут появиться только механические повреждения.
- Алюминий можно разбавить магнием и добавить медь. Тогда получится сплав, который будет прочнее стали.
Чем страшна несвоевременная регулировка дверей из алюминия
Чаще всего у дверей изнашиваются петли, и алюминиевые полотна не являются исключением. Бывает, что петли были произведены из материала низкого уровня качества. Возможна ситуация, когда неверно определили размер дверного полотна. Важно вовремя понять, что петли пришли в негодное состояние. Дверь может расшататься или сместиться в сторону. Замки начинают ломаться и заклинивать. Для разъяснения непонятных моментов нужно использовать инструкцию по регулировке алюминиевых дверей.
Как понять, что дверь исправно работает
Считается, что дверь исправно выполняет свои функции, если:
- Ее легко открывать и закрывать, не нужно применять усилия.
- Если дверь без доводчика, то она должна сохранять положение, в котором ее оставили.
- Створка должна соответствовать раме. При исправной работе двери она плотно прилегает к двери.
- Отсутствуют видимые зазоры. Дверь не смещается после установки.
Если один из пунктов не будет соблюдаться, то нужно провести регулировку петель алюминиевых дверей. В таком случае конструкция не будет разрушаться.
Какие петли проще отрегулировать
Легче всего провести регулировку петель алюминиевых дверей самостоятельно, если они скрыты. Считается, что такое расположение является гарантией защиты от взлома квартиры. Петли данного типа можно отрегулировать, не откручивая дверь. Каждый винт из трех, которые установлены в скрытой петле, корректирует различные параметры. Один отвечает за корректировку ширины посадки двери, другой — за высоту.
Лучше всего проводить регулировку алюминиевых дверей с помощью шестигранника. Как правило, он напоминает по форме букву «Г». Его поставляют вместе с петлями.
Когда появляется отклонение полотна от основного положения, то его можно ликвидировать с помощью использования винтов.
Этапы регулировки
Инструкция по самостоятельной регулировке алюминиевых дверей состоит из нескольких шагов:
- Необходимо удалить накладки из пластика с каждой петли.
- Если установить одинаковые зазоры снизу и сверху полотна, то регулировка двери не должна доставить много хлопот.
- Исходя из местоположения коробки с установленным зазором, необходимо выровнять дверь.
- Существует регулировка полотна по прижиму. Нужно, чтобы дверь равномерно прилегала к основной дверной коробке.
- Следующим шагом будет установка накладок. Они крепятся на свои определенные места.
Где можно найти описание порядка регулировки алюминиевых дверей
Каждая определенная модель имеет свою техническую документацию.
В ней подробно рассказывается пошаговая схема регулировки дверей. Если четко соблюдать инструкцию, то можно производить регулировку алюминиевых дверей самостоятельно. Желаемый результат в таком случае не заставит себя долго ждать.
Что делать, если конструкция не регулируется
Далеко не все петли можно отрегулировать. Специалисты полагают, что если дверь не обладает регулирующим механизмом, то их лучше своевременно поменять на новые полотна. При этом важно проводить замену своевременно.
Какая потребуется фурнитура
Для регулировки дверей потребуются запорные механизмы высокого качества. Чем надежнее будет замок, тем дольше можно будет эксплуатировать дверь. Следует обратить внимание на то, сколько точек запирания в замке.
Существуют петли специально для балконных дверей. Они бывают разные, в зависимости от тяжести конструкции. Наиболее популярны накладные. Такие петли легко заменить своими руками, в случае поломки.
Какие есть критерии качественной работы замков
Считается, что замки исправны, в следующих случаях:
- Если имеется плотно прилегающая створка, которая близка к коробке по периметру.

- Когда происходит закрывание двери, элементы не касаются друг друга.
- Когда дверь открыта, створка не должна сдвигаться с места, где ее оставили.
- Ручка должна плотно крепиться и хорошо держаться.
- Когда дверь закрыта, не должно быть сквозняка.
Если дверь на гарантии, кто должен регулировать конструкцию
Часто можно встретить фирмы, которые дают гарантию на свои дверные полотна. Регулировку алюминиевых дверей выполняют профессионалы. Когда срок гарантии подходит к концу, допустимо попробовать отрегулировать конструкцию своими руками.
Можно самостоятельно проверить плотность прижима у конкретного дверного полотна. Нужно взять простой лист бумаги и поместить его в дверь, которая находится в закрытом состоянии. После чего необходимо попробовать достать бумагу обратно. Она может легко выдернуться из двери. В таком случае считается, что прижим нужно менять. Когда бумага застревает или выдергивается частями, прижим считается хорошим.
Регулировка алюминиевых дверей зависит также от замков. Именно поэтому важно знать, какие виды подходят к исходному типу двери. Различают следующие виды:
- Замок, в котором 1 точка закрывания. В нем имеется фалевая защелка.
- Есть тип замка, где в комплект входит роликовая защелка. Она необходима для фиксации двери, когда замок открыт.
- Некоторые элементы имеют несколько ригелей.
Советы специалистов
В некоторых ситуациях регулировка алюминиевых дверей заканчивается на смазывании механизма замка. Он перестает заедать, и дверь начинает функционировать в нормальном режиме.
Когда на дверном полотне установлен замок с цилиндровом механизмом, то возможно только оставить старый корпус. Цилиндр меняется и система начинает функционировать в нормальном режиме.
При регулировке входной алюминиевой двери важно сначала открутить винт, который держит цилиндр. Необходимо попробовать вынуть ключ из замка. Следующим шагом его нужно будет снять.
Для этого потребуется открутить несколько шурупов. Завершающим шагом будет установка нового замка в дверное полотно. Опытные мастера советуют обратить внимание, что если заблаговременного установили фалевую защелку, то нужно поменять весь механизм.
Регулировка алюминиевых дверей должна обязательно проходить поэтапно. Данное дело не терпит спешки.
Важно подбирать петли под вес алюминиевой двери. Если поставить неподходящие, то дверь придет в негодное состояние за несколько месяцев эксплуатации. Петли не требуют регулировки, если дверь легко открывается, не нужно применять силу. Полотно должно беспрепятственно открываться. По всему периметру коробки должен быть одинаковый зазор. Если есть какие-либо отклонения, то дверь необходимо регулировать. Когда дверь провисает, створка тяжело открывается и заедает. Когда при установке дверей неправильно смонтировали петли, дверь может со временем просесть. Появляется люфт, который свидетельствует о неплотном прилегании полотна к коробу.
Часто изнашивается слой уплотнителя, тогда вырастает зазор между дверным полотном и коробом.
Не стоит бояться регулировки, данный процесс допустимо провести самостоятельно. Стоит только заранее запастись необходимыми инструментами. Пригодится набор отверток, а также напильник. Для данной работы нужны будут торцевые, а также шестигранные ключи. Потребуется напильник. Некоторые мастера при работе советуют использовать машинное масло.
Ремонт алюминиевых дверей.
Двери из алюминия имеют много положительных отличий. Они стойки внешнему воздействию, атмосферным явлениям, прочны и более долговечны. Но и они периодически требуют ремонта и регулировки. Задача владельца такой двери вовремя заметить неисправность и вызвать мастера, в таком случае ремонт обойдется недорого.
Типичные неисправности алюминиевых дверей
Как отмечают специалисты, к самым распространенным поломкам алюминиевых дверей относятся:
- поломка или расшатывание дверной ручки – устраняется подтягиванием болтов или заменой ручки;
- трудности при открывании двери, требующее особых усилий при повороте ручки, неисправность устраняется путем смазки узлов;
- неплотное закрывание полотна и провисание двери – устраняются сменой уплотнителя, регулировкой или заменой петель на новые;
- отказ доводчика, при такой поломке происходит замена или смазка движущих элементов устройства;
- неисправность внутренней части замка устраняется заменой личинки;
- растрескивание, потертость или царапины исправляются обработкой полиролью, сварочными работами или, в более серьёзных случаях поломок, частичной либо полной заменой полотна.

Ремонт алюминиевых дверей: нюансы
Многие поломки возникают по причине деформации профиля, отдельных деталей, расшатывания механизмов в процессе использования. Невнимание к незначительным неисправностям может привести к необходимости полной замены двери. При установке двери из алюминия стоит обратить внимание на то, как прилегает дверь к раме, как работает поворотная ручка, хорошо ли открывается и закрывается дверь, нет ли перекоса в соединениях. Все это, оставшись незамеченным в начале эксплуатации конструкции, может привести к максимально быстрому износу петель, креплений, соединительных элементов и т.п.
Ремонт двери из алюминия может быть произведен самостоятельно только в том случае, если у владельца есть специальные инструменты и знание устройства конструкции. В противном случае, лучше обратиться к специалистам, которые проведут диагностику и устранят неисправности, вернув изделию первоначальное рабочее состояние. Большинство поломок требуют замены изношенных деталей, а это значит, что их придется заказывать при самостоятельном ремонте тоже самому, что точно выйдет дороже, чем в специализированной компании.
Регулировка доводчика двери своими руками
Дверные доводчики установленные на входную или межкомнатную дверь имеют интуитивно понятный механизм регулировки. Скорость закрытия и скорость доводки регулируется двумя винтами на теле доводчика.
Один и тот же доводчик может подходить для дверных полотен из различных материалов. Регулировка доводчика металлической, пластиковой и алюминиевой двери поэтому отличается незначительно.
Как правильно отрегулировать и настроить доводчик мы покажем на примере доводчиков Dorma.
Как правильно установить доводчик: на коробку или на дверь
Доводчик устанавливается регулировочными клапанами к петлям.
Куда крепить тягу, а куда коробку доводчика — указано в инструкции:
- Доводчик устанавливается со стороны петель — тело доводчика устанавливается на дверное полотно, а тяга на раму.
- Доводчик устанавливается с обратной стороны от петель — тогда он крепится на раму, а тяга на дверное полотно.
Как устанавливается доводчик
В некоторых типах доводчиков монтаж возможен по другому правилу. В инструкции будут описаны все варианты крепления.
Регулировка скорости и усилия закрытия двери с доводчиком
Расположенные на корпусе доводчика винты регулируют скорость закрывания и дохлопа. Винты располагаются с торца доводчика или под крышкой. Расположение зависит от типа доводчика.
Настройка усилия закрывания двери зависит от ее размера, веса и ветровых нагрузок. Так, для входных металических дверей силу запирания выбирают на уровень выше.
Видео: как установить и отрегулировать доводчик
Если регулировка двери по силе запирания не помогает то следует подобрать другой доводчик и правильно выбрать место его расположения на дверной коробке.
Не ошибиться с силой тяги достаточно просто. Каждый доводчик сопровождается инструкцией по монтажу. В ней присутствует типовая схема монтажа или шаблон. Следуя указаниям производителя доводчик будет идеально закрывать дверь.
Как отрегулировать дверь с алюминиевым экраном | Руководства по дому
Автор: Даниэль Смит Обновлено 19 июля 2021 г.
Со временем и при использовании двери с алюминиевым экраном или штормовой дверью могут возникнуть проблемы: хлопанье закрытие, слишком медленное закрытие или отсутствие закрытия вообще. Неисправная сетчатая дверь может поцарапать или сколоть дверную раму или даже разбить дверь, когда она захлопнется. Склеивающаяся раздвижная дверь с алюминиевым экраном не обеспечивает защиты. Более того, это может повредить гусеницу или раму.В зависимости от проблемы, с которой вы столкнулись, и типа двери, вам может потребоваться прямоугольная рама, отрегулировать пневматический механизм или даже получить новую раму или механизм.
Типы регулировки двери с сеткой
Первым шагом в настройке двери с алюминиевым экраном является определение проблемы, которая будет отличаться в зависимости от того, распашная это дверь или раздвижная дверь. Для распашных дверей с алюминиевым экраном или штормовых дверей дверь обычно размещается в металлической раме, которая прикрепляется к деревянной отделке входной двери дома.Скорость закрывания двери иногда регулируется пневматическим механизмом закрывания. Раздвижные двери-ширмы обычно устанавливаются на направляющей снаружи стеклянных раздвижных дверей.
Если это распашная дверь, сначала определите, закрывается ли она слишком быстро, слишком медленно или совсем не закрывается. Если проблема в скорости, скорее всего, проблема связана с пневматическим механизмом закрытия. Если он вообще не закрывается и его нужно толкать, или он царапает раму, то проблема, скорее всего, связана с навешиванием или рамой двери.Чтобы диагностировать последнее, встаньте за дверью и попытайтесь открыть ее снаружи, наблюдая за дверью со стороны петель. Попробуйте аккуратно двигать им вверх и вниз. Это поможет вам определить, не ослаблена ли рама или обшивка двери.
Для раздвижных дверей с экраном проверьте прямоугольность рамы, а также наличие препятствий на пути. Двери с раздвижными экранами могут деформироваться от использования и давления, что приводит к тому, что они не движутся по квадрату внутри их корпуса, или что-то может быть в направляющей, препятствуя ее правильному закрытию.
Регулировка алюминиевых перегородок
Если раздвижная дверь заедает или заедает, команда This Old House рекомендует простое решение. Найдите винты вдоль нижнего внешнего края дверцы и открутите их, чтобы снять дверцу с направляющей; затем тщательно очистите и пропылесосьте направляющую перед заменой двери. Если дверь по-прежнему заедает, возможно, проблема связана с ее высотой.
Сценаристы из Family Handyman советуют найти винты регулировки высоты по обе стороны двери над направляющей и попытаться найти идеальную высоту для направляющих для раздвижных дверей вашего дома.Обычно это метод проб и ошибок, но между этими двумя этапами вы сможете решить большинство проблем с раздвижными дверями с алюминиевыми экранами.
Если при диагностике проблемы вы обнаружили проблему с рамой распашной или штормовой двери, возможно, вам потребуется укрепить деревянную рамку главной двери или алюминиевую рамку штормовой двери.
Дополнительные советы по регулировке дверцы экрана
Сначала попробуйте отрегулировать алюминиевую раму, так как она гораздо более вероятна, чем деревянная облицовка, на которой она висит.Сначала вставьте прокладку, чтобы дверца экрана не двигалась; затем затяните все винты на петлях и алюминиевой раме. Если это не решит проблему, проверьте прямоугольность алюминиевой рамы и деревянной отделки. Если какой-либо из них выходит за пределы квадрата, вставьте дополнительные винты на расстоянии 2 дюймов друг от друга, начиная сверху, чтобы укрепить сначала деревянную облицовку, а затем алюминиевую раму.
Если качающаяся дверь плотно прилегает к своей раме и закрывается правильно, но либо слишком быстро, либо слишком медленно, либо не совсем в пределах рамы, то вам, вероятно, необходимо отрегулировать пневматический механизм закрытия.Авторы Today’s Homeowner объясняют, что вы можете либо отрегулировать кронштейн, который прикрепляет доводчик к двери, либо отрегулировать винт на самом механизме, который контролирует скорость, с которой дверь закрывается. Если рама квадратная и дверь входит в нее, но не закрывается полностью, то необходимо отрегулировать кронштейн, чтобы дверь могла раскачиваться дальше внутрь.
Чтобы замедлить закрывание дверцы, поверните винт на конце цилиндра по часовой стрелке. Чтобы он закрывался быстрее, поверните винт против часовой стрелки.Если никакая регулировка пневматического доводчика не работает, возможно, вам потребуется его заменить. Снимите текущий доводчик и отнесите его в магазин бытовой техники или товаров для дома, чтобы убедиться, что детали раздвижной двери, которые вы покупаете для замены, подходят к вашей двери правильно.
Как отрегулировать алюминиевые дверные петли?
Регулировка алюминиевых дверей : Method-2
Другие способы установки вашей алюминиевой двери ; есть доводчик, который выходит к проему двери .Доводчик можно отрегулировать с помощью регулировочного винта поверните регулировочный винт ближе на краю корпуса доводчика на четверть оборота. Продолжайте регулировать до тех пор, пока не будут достигнуты желаемые результаты.
Щелкните, чтобы увидеть полный ответ
Просто так, как исправить провисшую алюминиевую дверь?
Добавление прокладки Также может помочь установка прокладки для уменьшения износа и исправить провисание . Для этого открутите нижнюю петлю и очистите от грязи и мусора.Затем поместите полоску деревянной прокладки или картона возле петли. Прикрутите все обратно на место, затем проверьте выравнивание, открыв и закрыв дверцу .
Можно также спросить, как исправить смещенную дверь? Как исправить смещенную дверь
- Откройте и закройте смещенную дверь, чтобы найти области, где она прилипает или не выстраивается правильно.
- Проверьте, где защелка двери упирается в запорную планку на раме.
- Затяните винты на шарнирной пластине, которой дверь крепится к раме.
Как таким образом отрегулировать провисшую дверь?
Проверить зазор в верхней части двери . Если он шире со стороны дверной ручки, снимите центральный винт на верхней петле и замените его на 3-дюймовые с предварительно просверленными отверстиями. винт слегка наклонен к середине косяка (фото 1). Винт притянет косяк и дверь и дверь плотнее к раме и, надеюсь, решит проблему.
Как выровнять межкомнатные двери?
Простая регулировка шурупов, пазов и петель на межкомнатных дверях способствует идеальной подгонке.
- Закрепите дверь длинным винтом.
- Отрегулируйте паз, чтобы он хорошо прилегал.
- Откройте зазор со стороны петель, раздвинув петли.
- Закройте зазор со стороны петель, согнув кулаки.
- Правильное смещение отверстий под винты.
Как отремонтировать трущуюся дверь витрины магазина (4 простых способа)
Натирание двери витрины может быть проблемой, и необходимость вызова специалиста иногда является более сложной задачей, чем ремонт самой двери.Поэтому, прежде чем обращаться к специалисту, попробуйте эти простые и быстрые решения.
1. (Трение сверху / снизу) Отрегулируйте установочный винт наверху дверцы.
В верхней части двери каждой витрины есть единственный винт, который позволяет слегка отрегулировать положение двери вверх или вниз. Чтобы поднять дверцу, затяните винт по часовой стрелке. Чтобы уронить дверь, ослабьте винт, повернув его против часовой стрелки. (* Предупреждение. Используйте ручную отвертку и медленно затяните винт, так как чрезмерное затягивание иногда может разбить стекло.)
2. (Трение о нижнюю часть) Затяните винты на пороге
Порог, показанный на рисунке ниже, обычно поставляется с 3–5 винтами, которые со временем могут ослабнуть, позволяя порогу подниматься и тереть нижнюю часть. дверь. Чтобы исправить, просто затяните ослабленные винты до тех пор, пока порог не будет плотно прилегать к полу.
3. (Трение о нижнюю часть) Устраните изгибы порога с помощью молотка или киянки.
Со временем пороги могут погнуться / деформироваться, что приведет к трению нижней части двери о них.Чтобы исправить изогнутый или деформированный порог, лучше всего ударить резиновым молотком по деформированной части, чтобы она снова стала плоской.
(* Пороги предназначены для гидроизоляции дверных проемов, поэтому, если ваш порог сильно поврежден или деформирован, лучше установить новый с правильной установкой и герметиком.)
4. (Двойные двери * Протирание посередине) Исправьте двойное трение дверей посередине деревянным или пластиковым блоком
Двустворчатые двери могут тереться посередине по нескольким причинам; это может быть из-за неправильной установки, разбухания алюминия от жары или даже из-за землетрясения.Чтобы зафиксировать, поместите блок из пластика или дерева (толщиной около 1-2 дюймов) между дверями, когда они закрываются, и принудительно закройте дверь, чтобы блок оставался посередине. Это заставит двери распахнуться с более широким зазором внутри. посередине. (* Обычно это не навсегда, но устраняет незначительные потертости)
Если эти решения не решают проблему трения двери, лучше всего вызвать специалиста по дверям для диагностики проблемы.
Artisan Glass & Design более 35 лет является ведущим специалистом в Южной Калифорнии по дверям витрин и остеклению.Чтобы увидеть некоторые из наших проектов или связаться с нами, посетите наш веб-сайт здесь.
Регулировка алюминиевой двери «Wonder How To
Как к
:
Регулировка скользящей двери
Аарон показывает, как отрегулировать раздвижную дверцу с помощью отвертки с плоским жалом.Это видео поможет вам узнать, как отрегулировать дверцу-слайдер, чтобы она оставалась надежно зафиксированной в заблокированном положении. Следите за лучшими результатами.
Как к
:
Регулировка раздвижной двери
Как отрегулировать раздвижную дверь.Раздвижные двери хороши, когда они сдвигаются, но могут быть настоящей головной болью, когда они этого не делают. Сегодняшнее видео будет посвящено регулировке колес, чтобы помочь решить некоторые из этих досадных проблем. Неважно, раздвижная ли это дверь, … еще
Как к
:
Отрегулируйте неровность внутренней двери
У вас есть неровная дверь, которая при открытии ударяется об пол? Отрегулируйте неровную дверь с помощью советов профессионального мастера из этой бесплатной серии видео о ремонте дома.Часть 1 из 8 — Как отрегулировать неровную внутреннюю дверь. Отрегулируйте неровность внутренней двери — Часть 2 из 8. Нажмите, чтобы посмотреть … больше
Как к
:
Отремонтируйте перекошенную дверь с помощью этого старого дома
Посмотрите это видео из This Old House, чтобы узнать, как исправить несбалансированную дверь.Шаги: 1 Закройте дверцу и проверьте расстояние вверху и со стороны защелки дверцы. 2 Определите, на какую петлю необходимо установить регулировочную прокладку, чтобы отрегулировать дверь и обеспечить равномерный зазор. 3 Снимите соответствующую петлю с двери и … подробнее
Как к
:
Обслуживание Porsche 944
Это видео дает пошаговое руководство по обслуживанию Porsche 944.Сервис демонстрируется на S2, но большинство шагов очень похожи для других версий. В видео есть немецкий саундтрек, но на YouTube доступны английские субтитры. Работа под автомобилем Remove engi … подробнее
Как к
:
Сделать дверную сигнализацию с помощью крысоловки
Для того, чтобы сделать дверную сигнализацию из мышеловки, вам потребуются следующие материалы: мышеловка, зажим, 2 винта, колпачки, кусок веревки, ножницы, отвертка, сверло, шестигранник. винт с головкой, кусок алюминия от банки с газировкой.Просверлите отверстие в мыш … подробнее
Как к
:
Используйте газовый курильщик с наконечниками от Lowe’s
В этом видео от Lowe’s мы узнаем, как пользоваться газовым курильщиком.Этот совет исходит от Lowe’s. Готовить вместе с курильщиком можно в любое время года. Он использует газовый курильщик. Держите это подальше от сайдинга. Источник огня нагревает влажную древесную стружку, которая выделяет дым, придающий аромат еде. …более
Как к
:
Регулировка и ремонт раздвижных дверей для террас
У вас есть упорная раздвижная дверь? Часто ли оно остается или сбивается с пути? Узнайте, как решить проблему с раздвижной дверью, с помощью этого видео, в котором рассказывается, как отремонтировать и отрегулировать раздвижную дверь для террасы для бесперебойной работы.Рон Хэзлтон — мастер по ремонту дома своими руками. Eve … ещё
Как к
:
Используйте гравировальный инструмент
В этом уроке мы узнаем, как использовать гравировальный инструмент.Неважно, сколько лет вашему гравировальному инструменту, просто убедитесь, что у него разные скорости, чтобы контролировать его во время использования. Теперь положите кусок алюминия и установите самый низкий уровень мощности. Push do … больше
Как к
:
Создание комбинаций замков Redstone в Minecraft
Добро пожаловать в мир Minecraft! Ознакомьтесь с нашими расширенными руководствами и играйте на нашем бесплатном сервере.Во время еженедельного семинара в прошлую субботу мы играли с кодовыми замками из красного камня. Кодовый замок из красного камня — это устройство из красного камня, которое полагается на логические ворота, чтобы приводить в действие … подробнее
Как к
:
Защитите свою дверь от высокого напряжения
В этой статье я покажу вам, как создать простой, но эффективный способ отпугнуть злоумышленников.Конечно, есть способы обойти этот подход, но он отлично подходит для офисных шалостей и общего развлечения. Проект требует небольших знаний в области электроники и схемотехники … подробнее
Как к
:
Снизьте потребление энергии в холодильнике
В этом видео показано несколько советов, которые помогут вам сократить потребление электроэнергии в холодильнике.Подумайте, что вы хотите от холодильника, прежде чем открывать дверь, вместо того, чтобы стоять с открытой дверцей и решать, что вы хотите. Установите температуру фриджера … больше
Как к
:
Нитки на школьную швейную машинку
В этом видео мы узнаем, как заправить нитку на школьную швейную машинку.Сначала протяните верхнюю нить к бевину в верхней части швейной машины. Вы проденьте это с катушки на боковой крючок, затем на верхнюю часть и через иглу внизу. Затем проденьте нить i … подробнее
Как к
:
Чистые обычные духовые шкафы с покупным продуктом
С небольшими мускулами и мощным очистителем даже самая грязная духовка может выглядеть новой.Так как лучше оставить уборщицу на ночь, попробуйте начать уборку перед сном. Убедитесь, что комната хорошо проветривается. Открывайте двери и окна и включайте вентиляторы, чтобы не допустить попадания дыма в … еще
Как к
:
Приготовьте ужин из запеченного в духовке сома Бетти «Южный»
Что может быть южнее сома? Но как его приготовить? Бетти покажет вам рецепт вкусного запеченного в панировке сома! Ингредиенты: ½ стика сливочного масла или маргарина, растопленного (я использовала маргарин.) 2 столовые ложки лимонного сока (я использовала восстановленный лимонный сок из банки.) … подробнее
Как к
:
Выполняйте упражнение на спину вниз
Самая большая мышца спины с научной точки зрения известна как широчайшая мышца спины.Вы могли видеть, что это называется «широчайшие» или «крылья». Широчайшие используются каждый раз, когда вы что-то тянете. Например, когда вы открываете холодильник или дверцу машины, вы в первую очередь задействуете широчайшие мышцы. Th … больше
Как к
:
Установить двустворчатую дверь как профессионал
Это видео об установке двустворчатой двери.Этот дверной проем имеет размер 54 дюйма, поэтому мы будем использовать дверь 30 дюймов и 24 дюйма. Чтобы выровнять дверь: начертите линию на потолке, которая представляет собой расстояние по обе стороны от дверного проема. Проведите линию вниз, чтобы крючки такие же … подробнее
Как к
:
Регулировка выравнивания дверок шкафа
Плохое выравнивание дверей шкафа приведет к тому, что кухня будет выглядеть ветхой и может смутить домовладельца.К счастью, с одной отверткой и небольшими амбициями выравнивание дверей может выглядеть совершенно новым. Аппаратное обеспечение европейского типа (которое изображено в этой статье … подробнее
Новости
:
Скопируйте ключ с банкой из-под кока-колы
Вниманию скряг и подмастерьев слесаря, это решение для копирования ключей потрясающе просто.Мы действительно обдумали это. Как вы можете прочитать в комментариях ниже, людям сложно выполнить это успешно. Но это может и будет работать. Вам просто нужно изменить свой … еще
Как к
:
Уход за игуаной без клетки
Прежде всего, я хотел бы, чтобы вы все познакомились с моим хорошим другом Игги.Вот он, во всей своей чешуйчатой рептильной славе. Как видите, он проводит гораздо больше времени наверху своей клетки, чем внутри нее. Видишь ли, здесь Игги ВООБЩЕ не справляется с заключением. Я не знаю, поз … еще
Как к
:
Определите стоимость подержанного автомобиля
Все ненавидят чувствовать, что ими воспользовались, особенно при покупке подержанного автомобиля.Мысль приходит в голову каждому покупателю машины … «Неужели меня только что взял этот красноречивый продавец?» Когда дело доходит до автомобилей, как узнать, действительно ли вы получаете хороший … еще
Как к
:
Регулировка раздвижных стеклянных дверей
Стеклянные двери одновременно стильны и практичны… Пока они не заклинивают и не перестают скользить, после этого они становятся большой головной болью.Но заставить их снова скользить по рельсам — не очень сложный процесс. В этом видео Марк Донован из HomeAdditionPlus.com показывает нам, как … еще
Как к
:
Приготовить черничный чизкейк
Чизкейк довольно классный.Это супер универсальный продукт, позволяющий довольно резко менять основу корочки и начинку и при этом получать что-то элегантное и вкусное. Вот почему это отличное блюдо можно добавить в свой десертный репертуар! Есть несколько подходов … подробнее
Анализируя хаки
:
Объяснение девушки в паутине
Последний фильм из серии «Миллениум» американского производства «Девушка в паутине» был выпущен на Blu-ray несколько дней назад.Как и следовало ожидать, в фильме много хакерских сцен, как и в предыдущем центре фильмов на английском и шведском языках … подробнее
Как к
:
Отремонтируйте поврежденный дверной косяк с помощью этого старого дома
Посмотрите это видео из This Old House, чтобы узнать, как исправить сломанный дверной косяк.Шаги: 1 Удалите гвозди или шурупы из поврежденного участка. 2 Прибейте направляющие блоки из сосны 1х4 к дверному косяку вокруг поврежденного участка. 3 Отрегулируйте глубину реза фрезера, чтобы она равнялась толщине попла … больше
Как к
:
Обслуживание компактного автомобиля Peugeot 206
Это видео дает пошаговое руководство по обслуживанию Peugeot 206 с 1.Двигатель 4 л. Обратите внимание, что видео не на английском языке, но вы можете следить за ним, просмотрев видео и следуя письменным инструкциям ниже. Работаем под машиной. Замените масло и … подробнее
Замена придорожной плоской шины
:
Полное руководство
Когда-нибудь, может быть, не сегодня, может, не завтра, но однажды вы окажетесь на дороге в своей машине, может быть, на шоссе, и вы что-то услышите.Когда кондиционер работает на полную мощность, а стереосистема настолько громкая, что у вас в ушах кажется, что из них идет кровь, вы бы обычно … подробнее
Как к
:
Соберите комплект для выживания
Я пишу этот быстрый пост в ответ на недавние землетрясения и цунами, поразившие Японию.Как только появилась новость и мы начали слышать о предупреждении о цунами в нашем районе, я сразу понял, насколько я недостаточно подготовлен к стихийному бедствию. The thing that dro … ещё
Как к
:
Регулировка внутреннего освещения в Toyota 4Runner 2010 года выпуска
В этом видео показано, как отрегулировать внутреннее освещение в Toyota 4Runner 2010 года выпуска.Порядок действий: Чтобы отрегулировать яркость подсветки приборной панели, поверните колесико, расположенное слева от рулевого колеса. Вращение вверх увеличивает яркость света … больше
Как к
:
Починить двустворчатую дверь в доме
Устали регулировать складывающуюся дверь, потому что она не закрывается или не выровнена? Это видео с инструкциями покажет вам, как быстро исправить эти надоедливые складывающиеся двери в вашем доме.
Новости
:
* НОВОЕ И УЛУЧШЕННОЕ * Cam
Моя первая попытка использовать камеру для шлема дала хорошие результаты, но я хотел чего-то еще лучшего.Обратной стороной всего этого была цена, но она очень близка к тому, что я хочу сейчас. Да, камера перевернута, и да, изображение закрыто твердой тканью. Читайте дальше, чтобы узнать о … больше
Как к
:
Установить раздвижные дверцы шкафа
В этом видео показан способ установки раздвижных дверей шкафа-купе.Двери двух размеров. Они включают дверь в тридцать и двадцать четыре дюйма. На видео впервые демонстрируется установка тридцатидюймовой двери. Затем это повторяется для другой двери. Средняя линия т … подробнее
Новости
:
«Photo Grandpa» делает установку для сверхвысокой скорости
«Photo Grandpa», также известный как Fotoopa (на голландском языке «photographyndpa»), создал удивительную лазерную установку для сверхвысокой скорости фотографии.Как говорит Gizmodo: «Его установка включает в себя его собственный затвор, который может срабатывать за пять микросекунд, сделанный на базе контроллера Arduino и изготовленный на заказ из алюминия … подробнее
Как к
:
Используйте освещение двери сарая в своей студии
Бен для Mechanical Mashup демонстрирует, как построить галогенную систему освещения двери сарая для студии и как создать прямоугольные треугольники и параллельные линии без квадрата.По словам Бена, покупать двери сарая довольно дорого, поэтому они могли быть построены нами. Эти двери сараев могут … больше
Как к
:
Сделайте камеру-обскуру
В век цифровых фотоаппаратов и мгновенного удовольствия сделайте самый простой фотоаппарат из когда-либо изобретенных, используя только светонепроницаемую коробку, отверстие и бумагу.Посмотрите этот видеоурок Howcast о том, как сделать камеру-обскуру. Вам понадобится * 1 чистая коробка для овсяных хлопьев высотой 7 дюймов * Тяжелая для … больше
Как к
:
Ремонт раздвижной двери-ширмы
Посмотрите, как опытный эксперт проведет вас через этапы ремонта раздвижных дверей, от сбора инструментов и покупки правильных запасных частей до регулировки только что отремонтированной двери, в этой бесплатной онлайн-серии видео об обслуживании дома.Часть 1 из 14 — Как отремонтировать … больше
Как к
:
Выполняйте тяги вниз на одной руке, чтобы проработать спину
Самая большая мышца спины с научной точки зрения известна как широчайшая мышца спины.Вы могли видеть, что это называется «широчайшие» или «крылья». Широчайшие используются каждый раз, когда вы что-то тянете. Например, когда вы открываете холодильник или дверцу машины, вы в первую очередь используете широчайшую муску …
Как к
:
Выполните упражнение на жим от груди с отягощением
Это упражнение отлично подходит для формирования и укрепления мышц груди.Грудь научно называется грудной. Эта мышца задействуется каждый раз, когда вы подталкиваете стул к столу, закрываете дверь машины или толкаете тележку для покупок. Грудные мышцы состоят из двух мышц. …более
Как к
:
Работа с полимерной глиной для начинающих
Полимерная глина — увлекательная среда для декоративно-прикладного искусства.На самом деле «глина» — неправильное слово; он не содержит настоящей глины, а состоит из крошечных частиц поливинилхлорида (ПВХ) в сочетании с пластификатором, что делает его пластичным, как глина. Что делает его таким «захватывающим?»
Новости
:
Укладка ламинатной плитки на керамическую плитку
В следующий четверг я начинаю укладывать ламинат.Я думал, что покажу, что здесь задействовано от начала до конца. Собирается кухня и две ванные комнаты. Сейчас в этих комнатах керамическая плитка, а я кладу ламинат прямо поверх керамической плитки. Пробл … больше
Как к
:
Включите и выключите свет в доме с помощью Интернета
Вам никогда не хотелось жить в футуристическом доме? Я думаю, что дома вступают в эпоху, когда ими будут управлять наши компьютеры и смартфоны.Вам больше не придется искать ключи, чтобы отпереть дверь, или ждать, пока вы вернетесь домой, чтобы следить за своей безопасностью … подробнее
Новости
:
Ремесленники возвращают к жизни старые доски для каракулей
Кто мог устоять перед настольной ретро-игрой SCRABBLE за два доллара? Suereal определенно не смог, особенно с учетом задачи полностью переделать настольную игру в нечто подлинное и творческое.Craftster’s Craft Challenge # 51 в июне прошлого года предназначалось для того, чтобы вернуть жизнь старой доске … подробнее
Как к
:
Ящик для мусора Приручите нового котенка
Я люблю кошек (собак тоже — но это тема для отдельной статьи…; о)). Есть несколько вещей более приятных, чем приветствовать очаровательного маленького котенка в своем доме; наблюдая, как они осматривают свое таинственное новое окружение — сначала робко — а затем быстро превращают его в … еще
Новости
:
Практический обзор и анализ характеристик Google Pixel 4
Когда компания, производящая Android, выпускает новый телефон, это всегда имеет большое значение.Серия Pixel от Google сделала себе имя за три коротких года после создания камеры, но теперь пришло время начать соревноваться с основными игроками. Тем не менее, Google должно понравиться, как они … подробнее
Практическое руководство. Регулировка двустворчатых дверей
Какими бы привлекательными и функциональными ни были двустворчатые двери, они могут потерпеть неудачу. После многих лет ежедневного использования двери могут выпасть из положения или не запираться должным образом. Это особенно вероятно, если вы живете в районе, подверженном суровому климату.Дома в изменчивом климате с большей вероятностью переедут. Вот почему, если в вашем доме есть двустворчатые двери, неплохо было бы узнать о регулировке двустворчатых дверей.
К счастью, однако, освоить регулировку двустворчатых дверей совсем не сложно. Часто это может быть просто немного больше, чем просто сдвигать их вверх, вниз, влево или вправо, пока они не встанут на место. Однако даже в этом случае важно понимать, как именно работают ваши двери и почему их нужно регулировать.
Что случилось с моими двустворчатыми дверьми?
Первым шагом в любом исправлении всегда должно быть определение проблемы. Чаще всего проблемы с двустворчатой дверью связаны с тем, что двери не закрываются или не запираются должным образом. В данном случае это, вероятно, связано с тем, что двери не выровнены с трекингом и требуют регулировки.
Если это не так, возможно, ваши складывающиеся двери упали, и их нужно будет поднять обратно в систему. Точные настройки, которые вам нужно сделать, будут зависеть от того, какие двери у вас подвешены: сверху или снизу.Это относится к тому, как и где распределяется вес дверей при их складывании. В случае подвесных дверей двери эффективно подвешиваются к верхним направляющим, тогда как в случае откатывающихся нижних дверей они будут катиться по нижним направляющим.
Можно ли отрегулировать двустворчатые двери?
Второй шаг должен заключаться в количественной оценке того, действительно ли ваши двери можно отрегулировать . К сожалению, они могут нуждаться в полной замене, если их нельзя отрегулировать. Это во многом будет зависеть от возраста дверей и серьезности повреждений, конечно, если они есть.
Поскольку это входные двери, они будут подвергаться воздействию элементов. Это означает, что они почти наверняка в какой-то степени изношены. Это особенно вероятно, если двери изготовлены из менее прочного материала, например, ПВХ. Однако погода — не единственный фактор, способствующий этому, поскольку обычное использование могло привести к изнашиванию оборудования слежения. Если двери практически выпадают из фурнитуры или были повреждены погодными условиями до такой степени, что их невозможно спасти, возможно, вам лучше заменить их.
В противном случае читайте дальше, и мы научим вас регулировать складывающиеся двери.
Регулировка
Здесь мы проведем вас через процесс диагностики проблемы и ее устранения путем корректировки, удаления и / или ремонта. Обратите внимание, что каждая работа будет уникальной, но эти моменты должны дать вам хорошую основу для того, как починить складывающуюся дверь.
Как отрегулировать двустворчатые двери
- Начните с открывания и закрывания двустворчатых дверей, чтобы выяснить конкретное место проблемы.Начните с ведущей двери (той, которую вы открываете и закрываете, чтобы переместить все остальные двери в наборе). Поиграйте с ним немного и посмотрите, пристегивается ли он к дверному косяку или неправильно сидит в проеме. В этом случае может потребоваться некоторая горизонтальная регулировка, чтобы она хорошо сидела с другими дверями. Если проблема в том, что ваши двери тянутся или выскакивают из направляющей, переходите к пункту 3.
- Отрегулируйте петли, закрепленные на пороге или пороге, с помощью надежного шестигранного ключа.При необходимости можно также отрегулировать петли в направляющих. Поэкспериментируйте, сдвигая двери, пока они не будут удобно расположены друг напротив друга.
- Если проблема в том, что ваши двери тянутся или выпадают из системы слежения, вы можете отрегулировать высоту. Высоту можно регулировать с помощью петлевых болтов на самих дверях. Вытяните засов, чтобы поднять двери, и толкайте его, чтобы опустить, пока не найдете правильный баланс. Все двери могут отличаться друг от друга, так что это скорее результат проб и ошибок.Но, безусловно, стоит поэкспериментировать, прежде чем кого-либо приглашать. Это потому, что это в основном простое и ненавязчивое решение. У любого, кто обладает небольшими знаниями в области DIY, не должно возникнуть проблем.
Удаление и переделка двустворчатых дверей
- Если проблема больше, чем простая проблема с выравниванием, возможно, вам придется снять складывающиеся вдвое дверцы с направляющих, чтобы отремонтировать их перед установкой на место. Свяжитесь с производителем и узнайте, как лучше всего снять двери для обслуживания.Некоторые современные модели могут быть достаточно простыми, чтобы обойти их, просто выдавив подпружиненный штифт на краю дверной коробки. Для этого может потребоваться приложить приличное количество силы, поэтому не бойтесь сильно давить (в конце концов, они созданы, чтобы служить долго). При этом не заходите слишком далеко!
- Как только штифт будет вдавлен достаточно глубоко, двери должны буквально выскочить из рельсов. Убедитесь, что вы готовы их поймать!
- Если в дверях нет гусениц, вы сможете хорошо очистить гусеницы.Начните с удаления любого мусора, который мог скопиться в них за месяцы и годы эксплуатации. Вполне возможно, что проблема была в мусоре в системе слежения. Но, пока двери не отслеживаются, было бы разумно уделить им немного внимания перед повторной установкой.
- Сами двери со временем могли деформироваться, особенно если они сделаны из дерева. В этом случае рассмотрите возможность шлифования или даже опиливания, если деформация достаточно сильна.Наконец, уделите оборудованию немного ухода и внимания с помощью приличной стирки — теплая мыльная вода здесь всегда ваш друг. Чтобы механизм работал бесперебойно, может помочь немного смазки WD40 или аналогичной.
- Перестановка дверей должна быть такой же простой, как вставка их обратно и обратная обработка подпружиненного штифта. Обратите внимание, что это может быть невероятно кропотливая работа, и помощь друга или двух здесь будет лучше всего.
Ремонт двустворчатых дверей
Если вы выполнили описанные выше действия, а ваши двустворчатые двери по-прежнему не сидят правильно, возможно, вам придется сделать более сложный ремонт.
Один из наиболее распространенных видов ремонта заключается в исправлении нижнего штифта, который мог вылететь из своего гнезда. Это часто случается, если ваши двери шатаются, так как штифт, который направляет двери в систему слежения, может быть незакреплен в своем отверстии.
Наиболее очевидное решение здесь — удалить штифт, заполнить его наполнителем и просверлить для него новое отверстие. Однако, если проблема заключается в самом штифте, его, возможно, потребуется заменить.
РЕЗЮМЕ
Если приведенный выше раздел кажется немного сложным, не бойтесь обратиться к мастеру или более опытному другу.Однако будьте уверены, что чаще всего ваши двустворчатые двери можно спасти всего лишь несколькими незначительными изменениями. Пока вы проверяете их время от времени (особенно после суровой погоды) и сохраняете остроумие и терпение в режиме ожидания, вы должны быть более чем способны обслуживать и регулировать складывающиеся двери.
Если у Вас возникнут вопросы, мы всегда рады обсудить их! Найдите лучший способ связаться с нами, посетив нашу страницу контактов.
4 причины поломки |
Регулировку алюминиевой двери, как правило, следует проводить регулярно. Даже если входная металлическая дверь была установлена по всем правилам и работа выполнялась настоящими профессионалами, со временем могут возникнуть проблемы и сложности в работе. ход эксплуатации.Именно они вызывают сильный дискомфорт в виде затрудненного открывания / закрывания, а в некоторых случаях вообще может наблюдаться блокировка дверного полотна. В этом случае необходимо произвести регулировку алюминиевых дверей, за счет чего можно вернуть конструкциям надлежащий вид и возможность без проблем эксплуатировать изделие. Стоит отметить, что реставрацию дверного полотна можно произвести своими руками. Для работы нужно лишь знать последовательность ремонта.
Когда нужно отрегулировать входную дверь: причины
Каждый человек стремится сделать свой дом максимально надежным, комфортным и защищенным.Стоит отметить, что двери следует уделить особое внимание, вне зависимости от того, частный ли это дом или квартира. Многие не догадываются, что даже после правильно установленного монтажа дверной конструкции требуется регулировка. Существует ряд критериев, по которым можно определить, что необходимо или нет регулировать полотно, так как пренебрежение ими может привести к преждевременному выходу продукта из строя.
Изначально, чтобы самостоятельно отрегулировать железную дверь, нужно обратить внимание на ее петли.
В данном случае речь идет о дверях распашного типа. Монтаж полотна следует производить на петли максимально равномерно. Это позволит избежать ряда серьезных проблем, например, таких как перекос двери, перекос и даже разрыв петель. Кроме того, петли следует выбирать точно в соответствии с весовой категорией изделия, иначе обычно на использование полотна уходит максимум 1-2 месяца.
Причиной регулировки входной двери может быть любая неисправность
Признаки того, что нет необходимости регулировать дверь относительно дверной коробки, включают отсутствие необходимости применять силу при открывании, наличие такого же зазора между дверью и коробкой по периметру полотна, отсутствие изменения положения под внешним воздействием, отсутствие плотного контакта с полотном ящика в закрытом состоянии, возможность беспрепятственно открывать и закрывать конструкцию без препятствий.Если хотя бы один из этих критериев не соблюден, то это свидетельствует о дефекте конструкции, и вы хотите выровнять наклонную дверь.
О том, что требуется регулировка дверных конструкций, свидетельствует наличие:
- Неприятный скрежет при использовании ткани, вызванный сильным трением соприкасающихся поверхностей или проникновением пыли с песком между ними.
- Свисающий лист, возникающий при расшатывании двери и коробки, причиной этого является провисание двери или неправильная установка петель.
- Плотное открывание двери, возникающее при провисании.
- Большой зазор между дверью и коробкой, приводящий к износу уплотнительного слоя.
Все металлические полотна регулируемые, и процесс их выравнивания следует проводить во время установки, а также периодически во время эксплуатации. Только так можно сохранить полотно в максимально хорошем состоянии и избежать не только серьезных поломок, но и больших вложений в обслуживание и восстановление защиты в домашних условиях.
Если дверца закрывается неправильно, необходимо произвести регулировку. Другими словами, как уже отмечалось, причин для восстановления оптимального состояния дверного полотна может быть много, но работы следует проводить только на основании такого документа, как инструкция, которая идет в комплекте с каждым изделием. Многие компании предлагают дополнительные услуги по продаже дверей, но эта услуга совершенно бесполезна, поскольку данные действия можно проводить самостоятельно.
Прежде чем приступить к регулировке металлической двери, необходимо подготовить необходимые инструменты для работы
Для регулировки требуется:
- Ключи шестигранные и торцевые;
- File;
- Отвертка.
В некоторых случаях может дополнительно оказаться полезным машинное масло, которое после регулировки добавляется в небольшом количестве к маслу, в котором возникает трение сопрягаемых деталей. Желательно сразу приобрести новый герметик, чтобы дважды не проводить техническое обслуживание.
Советы: как отрегулировать входную дверь, чтобы исключить скрип
Для устранения такой проблемы, как скрип, возникающий при хлопке и открытии дверцы, потребуется позаботиться о приобретении специальной смазки.Чаще всего именно по этой причине китайские двери приходится обслуживать, так как они идут с завода с минимальным количеством смазки.
Для смазки можно использовать самые разные материалы, например, аэрозоль WD-40.
Если абразивные частицы присутствуют в местах, где происходит трение деталей, то это сложнее, так как недостаточно просто промыть петли конструкции маслом. В целом, чтобы убрать наличие неприятного писка при использовании металлической двери, нужно провести ревизию.
Чтобы дверь не скрипела, нужно использовать специальную смазку
А именно:
- Разбор Полетов;
- Очистка всех мест соприкосновения элементов дверей;
- Собираем изделие, предварительно размазав все необходимые детали, находящиеся внутри и особенно тщательно замазав поворотный механизм.
Если царапина, став навязчивой, возникает из-за того, что дверца осела, то при ее плотном закрытии след на коробке постепенно начнет оставаться.В этом случае требуется ослабление петель, регулировка шага полотна, подтяжка элементов крепления.
Инструкция: как отрегулировать алюминиевую дверь с плотным открыванием
С межкомнатными дверными створками все намного проще, так как регулировка входной двери похожа на работу с таким изделием, как сейф, в котором, начиная с язычка замка и заканчивая полностью сборкой створки, необходимо не только аккуратно, но и не допускать ошибок, которые могут принести пользу злоумышленникам.
Отрегулировать входную дверь вполне можно самостоятельно, главное — грамотно подойти к этому процессу
Иными словами, если есть желание самостоятельно отрегулировать входную металлическую дверь, то вам необходимо:
- Терпение;
- Грамотный подход;
- Наличие всех необходимых инструментов.
Если дверь в квартиру приоткрыта, то нужно посмотреть, насколько уплотнитель прикреплен к поверхности конструкции.Иногда это может быть из-за щетины или из-за слишком большого ее слоя. В этом случае дверь некачественная, и наоборот, образование дополнительных щелей и снижение уровня безопасности. В крайне редких случаях плотное открывание двери возможно только потому, что она новая, часто такое бывает с картинами компании Torex.
Часто герметик бывает слишком новым и не стирается с изделием, но это совсем не проблема и не опасно.
Также причину можно скрыть в таких деталях, как замок, например, если расположение язычка и ответной пластины находится на разных уровнях. Чтобы устранить проблему, вам нужно взять напильник и удалить излишки материала, который ее вызвал.
При желании регулировку металлической двери можно произвести самостоятельно, но для этого нужно проявить силу, смекалку и, конечно же, инструмент. Не существует поломок, которые нельзя было бы устранить самостоятельно, так как мастера — это точно такие же люди.Зачем переплачивать, если можно сэкономить? При правильном соблюдении всех рекомендаций можно будет произвести регулировку быстро и главное правильно.
Регулировка дверей для доступа | Национальная сеть ADA
(Версия PDF для печати | 423 КБ
(PDF с крупным шрифтом | 410 КБ)
(Версия на испанском языке)
Двери представляют собой некоторые из наиболее распространенных проблем с доступностью. Они могут быть слишком «тяжелыми» и требовать слишком большого усилия для открытия. Тяжелые двери особенно трудны для людей с ограниченными возможностями и пожилых людей с ограниченной силой верхней части тела и / или навыками использования рук.Они могут закрываться слишком быстро, чтобы некоторые люди могли легко пройти через них. Люди, которые передвигаются медленно или используют средства передвижения, такие как инвалидные коляски или ходунки, могут не пройти достаточно быстро. К счастью, эти общие проблемы часто можно решить, просто отрегулировав дверные доводчики. Выполните следующие действия, чтобы убедиться, что ваши двери доступны для всех.
1. Измерьте силу открывания и скорость закрывания двери
Лучший способ измерить силу открывания двери — использовать дверной датчик усилия, также называемый манометром двери.Для этого сначала откройте дверь, а затем прижмите датчик к двери. Толкайте, пока дверь не откроется полностью. Показания манометра показывают силу, необходимую для открытия двери. У некоторых манометров есть крючки, с помощью которых можно открыть дверь. Дверные датчики усилия доступны в Интернете и в некоторых специализированных магазинах бытовой техники.
Вы также можете использовать простые механические или цифровые весы. Эти параметры могут быть менее точными, поскольку вам нужно читать шкалу при открытии двери. Чтобы использовать чешую, прикрепите веревку к весу и дверной фурнитуре. Измерьте максимальное усилие, необходимое для открытия двери.
- Межкомнатные двери должны требовать не более 5 фунтов. силы , чтобы открыть. Это не относится к начальной силе, необходимой для преодоления веса неподвижной двери. Открывайте дверь постепенно; не открывайте его «рывками».
- Сила открывания для наружных дверей не указана в стандартах ADA, но наружные двери, которые должны быть доступны, должны иметь минимально возможное усилие.Типичное максимальное усилие открывания наружных дверей составляет от 8,5 до 10 фунтов. Любая дверь, настолько тяжелая, что препятствует входу людей с ограниченными возможностями, может лишить их доступа к товарам и услугам, которые — это , подпадающие под действие закона ADA. Кроме того, в кодексах правительства штата или округа могут быть особые требования к доступности входных дверей.
- Скорость закрывания или поворота не должна превышать пяти секунд. Расстояние закрытия или поворота составляет от открытого положения под углом от 90 градусов до 12 градусов от защелки.Скорость запирания не указана, но должна быть достаточно высокой, чтобы дверь заперлась, но не захлопнулась.
2. Определите простейшее решение
- Убедитесь, что проблема не связана с деформацией двери или дверной коробки, неплотным уплотнением или порогом, или дверными петлями, которые необходимо подтянуть или смазать.
- Проверьте, какой тип доводчика установлен. Большинство доводчиков устанавливаются в верхней части двери или над ней на косяке. Однако в некоторых дверях используются внутренние модели, скрытые внутри дверной коробки.
- Проверьте, не поврежден ли доводчик и нет ли утечки масла.
- Проверьте, находится ли доводчик еще на гарантии. Регулировка или ремонт может привести к аннулированию гарантии.
- Решите, заменить ли, отрегулировать или (в некоторых крайних случаях) снять доводчик двери.
Обязательно ознакомьтесь с более подробным руководством по техническому обслуживанию перед тем, как вносить какие-либо изменения, или обратитесь за помощью к обслуживающему персоналу здания, если это возможно.
Механические дверные доводчики используют гидравлическое усилие, создаваемое пользователем, для закрытия двери после ее открытия.Большинство доводчиков позволяют регулировать скорость и мощность двери.
Для регулировки скорости фиксации или развертки:Вставьте шестигранный ключ на 1/8 дюйма или отвертку в соответствующий установочный винт. Поверните его по часовой стрелке, чтобы уменьшить скорость, против часовой стрелки, чтобы увеличить скорость. Установочные винты обычно расположены на конце доводчика. Типичные символы на доводчике
|
3. Внесите изменения
Для достижения 5 фунтов. Если требуется максимальное усилие, вам может потребоваться поэкспериментировать со скоростью поворота, натяжением пружины * и регулировкой ступни или обуви.
* Натяжение пружины обычно не требует регулировки, но может быть увеличено для увеличения силы закрывания.
Регулировка лапки или башмака:
В стандартном положении монтажное отверстие имеет нормальный размер. При вращении стопы или обуви регулируемый рычаг может быть смещен на , чтобы обеспечить увеличение мощности. Для доводчиков с башмаком с двумя отверстиями вы можете переместить регулируемый рычаг ближе к стороне петель двери, увеличив мощность до 15%. С доводчиком с башмаком с тремя отверстиями вы можете увеличить мощность до 7,5%, переместив рычаг из центрального положения на сторону петель двери.Перемещение рычага из центрального положения в сторону защелки двери может снизить мощность на 7,5%.
Для получения дополнительной информации о требованиях к доступности дверей (и помещений):
Министерство юстиции США
Стандарты ADA 2010
U.S. Access Board
800-872-2253 (голосовой)
800-993-2822 (TTY)
Контент был разработан Северо-западным центром ADA и основан на профессиональном консенсусе экспертов ADA и национальной сети ADA. | |
www.nwadacenter.org | Содержание этого информационного бюллетеня было разработано в рамках грантов Национального института исследований инвалидности, самостоятельного образа жизни и реабилитации (номер гранта NIDILRR 90DP0095 и 90DP0086). NIDILRR является центром Управления общественной жизни (ACL), Департамента здравоохранения и социальных служб (HHS). |


Эта процедура помогает избавиться от скрипа двери, обеспечивает плавное открывание и закрывание полотна. В качестве смазочного средства используется либо машинное масло, либо специальная жидкость. Выбор смазки для двери зависит от температурного режима помещения, в котором установлена конструкция;


