Как разобрать петлю дверную: Инструкция по замене петель дверей МАН ТГА ТГС — Кабина/салон
Как снять старую дверь с петель. Разборка универсальной дверной петли «бабочка. Как снять пластиковую дверь с петель
Иногда во время ремонта приходится снимать межкомнатные двери с петель
В быту может возникнуть необходимость снять дверь, а если затеян большой ремонт, без этого обходится редко. Трудность в том, что на сегодняшний день нет единого типа фурнитуры, которая установлена на всех дверях. И снятие дверей, сложность этого процесса будет зависеть от типа фурнитуры.
Типы петель: как снять межкомнатную дверь
Сегодня используются следующие типы фурнитуры для дверей: это петли карточные, скрытые, вворачиваемые. Каждая модель имеет свои особенности. Какие-то удобнее в эксплуатации, но вот снять их будет труднее.
Огромное значение придается выбору видов дверных петель, от этого будет зависеть, как демонтировать межкомнатную дверь
Типы петель для дверей:
- Скрытые
. Данный тип фурнитуры считается самым эффектным с той позиции, что он может полностью прятаться в дверном полотне, что не портит эстетику конструкции, петель просто не видно.
Но эта особенность усложняет монтаж таких петель, а также демонтаж. - Карточные.
Самый популярный тип петель. Стоят недорого, предполагают разнообразный дизайн. Имеют подвиды, самый распространенный из которых петли-бабочка. К полотну прикручиваются без особой подготовки, а половинки их сделаны по примеру пазла. А вот врезные петли требуют углубления пластин, то есть они врезаются в материал двери. - Вворачиваемые.
Такие петли похожи на шпильки, углубляющиеся плотно в короб. Они либо гладкие, либо с резьбой на поверхности. Штыри посерединке соединены шарнирным элементом. И количество шпилек разное, на прочных моделях с каждой стороны по три-четыре. Обычно вворачиваемые петли используют для легких дверных полотен, тяжелые чрезмерно перегрузят такую конструкцию, что чревато вырванным креплением.
Конструктивные особенности петель влияют и на процесс демонтажа. Каждый вид петель снимается по-своему. Также имеет значение, собираетесь ли вы потом ставить дверь на ту же петлю, или будете менять фурнитуру.
Карточные модели: как разобрать дверную петлю
Все карточные модели отличаются общим строением. Это две прямые или угловые пластины, что привинчиваются к коробу и дверному полотну саморезами. Соединяются они шарнирным элементом, что приводит в движение дверь.
Информация о том, как снять входную или межкомнатную дверь, может понадобиться при перемещении мебели из комнаты в комнату или при проведении ремонта
Большая часть карточных моделей состоит из 2-х половинок, это верхний и нижний навес. Потому чтобы дверь снять, усилий много не потребуется. Но все равно проще работать с напарником, особенно если дверь тяжелая, или имеет стеклянные вставки.
Делайте так:
- Подоприте дверь снизу и слегка приподнимите ее;
- Затем продолжайте дверь сдвигать вверх, чуть проворачивая;
- Когда верхняя половинка сама снимется со штыря, можно аккуратно убрать полотно в сторону.
Демонтаж двери с таким креплением можно делать только в открытом положении.
В противном случае у вас не получится приподнять дверь на необходимую высоту, полотно просто упрется в коробку. А вот дверь с вворачиваемыми петлями снять труднее.
Вворачиваемый крепеж: как снять межкомнатную дверь с петель
Дело в том, что шарнирная ось таких петель оснащена маленьким штырьком, который обязательно извлекается из конструкции. Это нужно, чтобы половинки разъединились. Сначала дверь нужно закрыть. Потом вы берете любой удобный инструмент, выдвигаете штырь наверх, подхватываете его плоскогубцами. Затем аккуратненько потяните штырь вверх, по мере движения немножко его проворачивая.
Дверные петли оснащены шарнирным соединением, позволяющим сохранять подвижность деталей вокруг общей оси
После этого полотно снимается без проблем. Основная нагрузка в этом случае на верхней части конструкции, потому работу начинать логичнее с нижней петли. Дабы дверь не завалилась на вас, нужен помощник, который ее придержит.
Скрытые петли: как снять закрытую дверь с петель
Скрытые модели петель считаются самыми сложными для демонтажа.
Нужен специальный инструмент. Осуществлять работу можно с открытой дверью и с закрытой дверью. В первом случае половинка фурнитуры отвинчивается отверткой. Если изделие более сложное, нужен ключ-шестигранник. Иногда используется метод выбивания оси, но способ этот не так удобен, ведь главная часть механизма скрыта внутри полотна.
Среди большого разнообразия дверных петель есть так называемые скрытые. Название их говорит само за себя
Если снимать закрытую дверь:
- Это сложный способ, но он может использоваться, если говорится о скрытых петлях балконного блока;
- В этом случае просто снимаются защитные колпачки, выбивается ось и полотно снимается так же, как при вворачиваемом крепеже;
- Но полностью замаскированные петли в дверном проеме в таком положении никак не снять, пожалуй, справится только специалист.
Какими бы не были петли, если вы их сняли, а после планируете поставить фурнитуру обратно, механизм нужно смазать. Снятую фурнитуру рассмотрите, возможно, уже образовались какие-то дефекты, и крепеж нужно сменить.
Иногда он даже эстетически уже не годен, имеет смысл поставить новый.
Снимаем металлическую дверь с петель
Проще всего осуществляется демонтаж железных дверей со съемных петель. Полотно приоткрывается на 30-40 градусов, при этом под дверь подкладывается какой-то твердый предмет. Затем полотно нужно приподнять, используя лом. Он играет роль рычага в данном случае. И делаете это так долго, пока дверь сама не сойдет с петель.
Процедура снятия изделия во многом зависит от типа используемых петельных механизмов
Сложнее будет снять дверь с внутренних съемных петель. Такие петли обычно дополняются декоративными элементами, их нужно удалить. Далее максимально ослабьте болт крепления, тот, что находится сверху петли.
Дверь со скрытыми петлями снять сложнее всего. Нужно очень аккуратно, внимательно удалить все крепления, что фиксируют дверь в коробке. Если вы снимаете старую дверь, то для новой используйте новую же фурнитуру. При установке новой двери избегайте ее возможного перекоса.
Для этой цели используется либо же строительный уровень, либо под полотно подкладывается твердый предмет.
Как снять межкомнатную дверь с петель (видео)
Невозможно создать универсальную памятку по демонтажу двери, так как конструктивные особенности петель прямым образом влияют на то, как снять дверь. Помните, что механизм крепления всегда чистится и смазывается перед обратной установкой. Если он деформирован, его следует заменить.
Двери – это неотъемлемый атрибут каждого дома, который придает ему практичности и оригинальности. Но дверное полотно не является долговечным и со временем теряет свои декоративные и практические характеристики. Подобные конструкции нуждаются в ремонте или замене. Этот процесс начинается с демонтажа изделия. Перед тем, как снять дверь с петель, следует тщательно ознакомиться с ее конструкцией.
Что такое демонтаж
Демонтаж двери – это процедура, предполагающая полное удаление дверного полотна с места его крепления. Зачастую под этим понятием понимают выемку из дверного проема не только дверного полотна, но и опорной коробки.
Демонтаж дверей в квартире можно разбить на несколько последовательных шагов:
- Демонтаж полотна. Этот шаг является важным, если конструкция очень тяжелая, что не позволит удалить ее вместе с коробкой. Чтобы снять с петель полотно, используют несколько подходов, которые зависят от вида опорных элементов.
- Демонтаж коробки. Данный процесс предполагает удаление крепежей, с помощью которых конструкция прикреплена к стене. Зачастую это анкеры или специальные саморезы. Когда они выкручены, удаляется заполнитель между коробкой и стеной (монтажная пена и т. д.) и изделие вытягивается.
Обратите внимание, что старые двери просто выламывают с помощью ломов. Подобный способ демонтажа может нарушить структуру откосов. В таком случае приходится осуществлять полностью новую отделку поверхности.
Виды конструкций
Двери сегодня являются очень популярным продуктом. Это привело к появлению очень большого разнообразия этих конструкций.
В зависимости от способа открывания, дверные полотна можно разделить на несколько видов:
- Распашные. Этот тип механизмов является одним из самых распространенных. Крепится полотно на специальных петлях, что позволяет открывать его в одну сторону.
- Раздвижные. Подобный тип дверей предполагает наличие небольших полозьев, по которым передвигаются створки параллельно стенам. Прекрасно подходят для небольших помещений, так как не занимают много места. Монтаж осуществляется с помощью специальных роликовых механизмов.
- Складные. Полотно этой конструкции состоит из нескольких блоков, которые могут складываться в небольшое полотно. Двери-гармошки позволяют создать уникальный интерьер. Очень часто их используются в современных интерьерах, с целью качественного и простого зонирования пространства.
- Качающиеся. Двери такого типа напоминают распашные, но при этом створка может двигаться в две стороны. Встретить подобны изделия можно на входе в большие офисные центры или в больницах, где нужно постоянно открывать их не задумываясь о направлении.

- Карусельная. Дверь револьверного типа представляет собой круглое полотно с несколькими створками. Для входа внутрь их нужно поворачивать вокруг центральной оси. Встретить подобные конструкции можно на входе в торговые центры, но там они приводятся в движение автоматически.
Еще одной из классификаций дверей является тип материала, применяемый для их изготовления:
- Деревянные. Двери из дерева устанавливают в основном внутри дома, так как они поддаются воздействию влаги и теряют свои декоративные качества. Внешне они могут иметь, как гладкую, так и филенчатую структуру.
- Металлические. Изделия из металла прекрасно переносят температурные перепады, а также отличаются прочностью. Поэтому ими комплектуют практически все входы в здания или квартиры.
- Пластиковые. При производстве этих продуктов используют специальные сэндвич-панели, позволяющие получить качественное утепление полотна. Пластиковые двери практичны и не боятся воздействия влаги и других внешних факторов.

Особенности процедуры
Дверные полотна фиксируются к коробке с помощью различных видов петель. Эти конструкции могут быть, как внешними, так и скрытыми. Это позволяет не только усложнить или упростить процедуру снятия, но и обеспечить оптимальный уровень безопасности.
Перед тем, как начинать подобную операцию, следует изучить конструкционные особенности конкретного типа двери. Это позволит не только правильно, но и быстро демонтировать полотно со скрытых петель.
Как демонтировать пластиковую балконную дверь?
Пластиковые двери это универсальные конструкции, которые можно устанавливать не только на балкон или лоджию, но и в качестве межкомнатных. Технически все эти изделия идентичны и отличаются только формой и декоративным оформлением. Демонтаж ПВХ полотна зачастую производится с целью замены стекла или установки новой конструкции. Чтобы снять дверь с петель, следует выполнить несколько последовательных операций:
- Для получения доступа к навесам, следует прикрыть полотно, но не закрывать с помощью ручки.
Каждая петля спрятана под декоративной накладкой, которую нужно удалить руками или с помощью отвертки. - После этого приступают к освобождению петель. Начинают процедуру с верхнего элемента. Каждая такая конструкция содержит в своем составе специальный металлический штырек. Он зачастую немного выступает сверху над петлей, чтобы удалить его, следует на него сверху надавить отверткой или чем-то другим. Когда стержень немного высунется снизу, следует схватить его плоскогубцами и аккуратно вытащить.
- Затем подобным образом удаляют штыри со всех остальных петель. Важно при этом удерживать конструкцию, чтобы повредить стеклопакет при случайном падении.
- Чтобы снять дверь, нужно ее немного наклонить на себя. Выполнять эти операции должны несколько человек, так как изделие имеет довольно большой вес. Когда вы наклонили полотно, следует аккуратно приподнять его, чтобы освободить его от опоры, располагающейся снизу.
Как сделать демонтаж межкомнатных дверей?
Межкомнатные двери являются зачастую только элементом интерьера и не несут задачи обеспечить безопасность дома.
Поэтому их изготавливают из дерева и его производных (МДФ и т. д).
Алгоритм снятия деревянного полотна с зависит в первую очередь от петель, которые используются для их фиксации.Если на дверях установлены карточные или врезные съемные модификации, то этот процесс выполняется довольно легко:
- Изначально дверь нужно открыть таким образом, чтобы сторона от петель не упиралась в верхний торец коробки.
- После этого, используя небольшой ломик или физическую силу, следует поднять полотно. Делать это нужно до тех пор, пока петли не выйдут с опорных штырей. Проводить подобную операцию следует вдвоем, так как изделие может быть тяжелым и самому его не удержать.
Иногда на двери из МДФ устанавливают карточные несъемные петли. Снять с них полотно теоретически не получится. Чтобы демонтировать шпонированную конструкцию, следует открутить крепежи, фиксирующие петли с одной стороны. Таким образом, вы откручиваете саму систему, которую в последствие нужно будет прикрутить при установке.
Вкручиваемые петли напоминают во многом врезные, но при этом фиксация выполняется с помощью крепежей-саморезов, которые прикреплены к каркасу изделия. Существует несколько видов подобных механизмов. Самые простые являются съемными, и демонтаж двери с них выполняется по ранее описанному алгоритму.
Как снять входную?
Входные двери должны отвечать высоким стандартам безопасности. Поэтому важно следить за состоянием этой конструкции. Зачастую все виды таких дверей являются металлическими, так как материал отличается высокой прочностью и долговечностью.
На стальных полотнах могут использовать также несколько видов петель. Как демонтировать самые простые механизмы мы уже рассмотрели в предыдущем разделе. Остановимся теперь на более сложных вариантах.
Чтобы обеспечить высокую безопасность, на входные железные двери устанавливают скрытые петли. Это позволяет снизить вероятность быстрого снятия, как на старых полотнах со съемными конструкциями.
Снятие тамбурных дверей с таких механизмов является одной из самых сложных процедур. Данный процесс состоит из нескольких последовательных шагов:
- В первую очередь нужно получить доступ к самой петле. Сделать это можно только с торца дверного полотна. Поэтому нужно приоткрыть его на определенный угол, чтобы удобно было работать.
- Чтобы снять полотно для утепления, следует демонтировать крепежи, которые фиксируют петлю к каркасу коробки. Сделать это можно с помощью отвертки или шестигранника. Перед началом этой операции следует ознакомиться с техническими особенностями данного механизма. Если вы открутите не те болты, то это может привести к поломке всей системы.
Как убрать обшивку?
Одним из способов декорирования дверей является крепление на них дополнительных материалов. При демонтаже дверного полотна нужно разобрать ее полностью, чтобы получить доступ к внутренним элементам. Сделать это довольно просто и выполняется это в несколько шагов:
- Изначально дверь снимается с петель и располагается на горизонтальной поверхности.
Желательно использовать несколько табуреток, чтобы поднять полотно на определенную высоту. Так с ним будет удобней работать. - После этого снимают декоративную обшивку из кожи или панелей МДФ. Для тканевой отделки нужно использовать отвертку или шуруповерт, чтобы выкрутить все декоративные шурупы. В случае с МДФ также нужно демонтировать крепежи, но при этом сам лист может дополнительно крепиться на силикон, поэтому, чтобы срезать его, можно использовать тонкую леску.
- Если же панель вам не нужна, можно просто отламываются куски декоративной накладки. Обратите внимание, что на некоторых модификациях может быть нанесена защитная пленка, которую также нужно удалить.
- Когда добрались до каркаса двери, нужно открутить верхнюю металлическую накладку. Крепится она с помощью нескольких саморезов. После этого можно с легкостью снять обшивку и выполнять необходимые вам работы.
Обратите внимание, что съемные каркасы и декоративные накладки зачастую встречаются только на металлических дверях.
Конструкции из дерева не нуждаются в декорировании, так как они изначально отличаются уникальным оформлением.
Как установить обратно?
Демонтаж дверного полотна предполагает выполнение ремонта или замены его на новые конструкции. Установка подобных элементов довольно проста и может осуществляться своими руками.
Во время ремонта часто возникает необходимость снять дверь с петель
, защитив ее от повреждения и загрязнения стойматериалами. Также освободить дверной проем полностью будет не лишним при заносе крупногабаритной мебели или техники. В этой статье мы расскажем, как правильно снимать двери, чтобы потом без труда вернуть их на место.
Крепление двери: какие петли могут использоваться
В зависимости от того, когда и какая дверь была установлена, она может крепиться к коробке разными видами петель:
- Карточные (крыльчатые) петли.
Самый распространенный вид фурнитуры в современных дверях. Створки (карты) петли прикручиваются к полотну и коробке несколькими небольшими шурупами.
Преимущество такого вида не только в большом разнообразии дизайна, но и в простом механизме демонтажа. - Вворачиваемые.
Этот вид дверной фурнитуры представляет собой несколько длинных штырей, которые вкручиваются глубоко в коробку и полотно и соединяются шарнирами. В зависимости от веса полотна штырей может быть 2 или 4. Такие петли отличаются высокой износостойкостью и выдерживают большие нагрузки, однако и выкручивать их из двери сложнее.
- Скрытые.
Модный сейчас вид петель, которые не видны, когда дверь закрыта. Если вы выбрали такой вариант, чтобы добиться большей эстетики, будьте готовы к тому, что доставать дверь при необходимости будет сложнее.
То, какие петли используются в ваших межкомнатных дверях , определяет, насколько просто вы сможете ее снять и какой инструмент вам понадобится.
Как снять дверь с петель разного типа
Независимо от того, каким способом вы будете снимать дверь, вам понадобится помощь. Второй человек сможет зафиксировать и придержать полотно, чтобы облегчить вам задачу и избежать повреждений материала.
Карточные и вворачиваемые петли могут быть двух типов – разъемные и неразъемные
. Первые состоят из двух половинок, верхняя из которых надевается на нижнюю. Снять полотно двери на таких петлях легко:
- приоткрыть дверь,
- подпереть ее снизу рычагом – ломом или другим подходящим предметом,
- при помощи рычага поднимать полотно вверх, слегка проворачивая (лучше делать это вдвоем, чтобы второй человек придерживал дверь),
- когда части петли разъединяться, достать полотно.
Если вы имеете дело с несъемной моделью, нужна будет отвертка или шуруповерт – для того, чтобы выкрутить крепеж петли с одной стороны (либо из коробки, либо из полотна). После этого можно будет просто достать дверь из проема. Начать в этом случае лучше с нижней петли.
Также неразъемные петли могут быть соединены в подвижной части механизма вертикальным осевым штырьком, который необходимо будет достать, чтобы разделить детали. Для этого нужно снять декоративные колпачки, если они имеются, слегка выбить ось снизу (используя молоток и что-либо узкое – гвоздь, шестигранник и т.
д.), а затем потянуть ее сверху плоскогубцами, чуть проворачивая по оси. Петли разъединяться.
Механизм демонтажа двери со скрытыми петлями может быть разным:
- открутить крепление (по аналогии с неразъемными моделями) – для этого понадобится отвертка или шестигранник, в зависимости от крепежа.
- выбить осевой штырь – этот вариант сложнее, т.к. штырь в скрытых моделях обычно достать нелегко.
Если конструкция скрытой петли не позволяет сделать что-либо из этого, придется обратиться к специалисту.
В целом, ничего сложного в технологии демонтажа дверей нет, однако делать все стоит аккуратно, чтобы не повредить материал и крепеж. Определенные проблемы могут возникнуть со старыми петлями, особенно, закрашенными краской. Они могут «прикипеть» друг к другу из-за ржавчины и времени. Тогда перед тем, как снимать двери, нужно будет воспользоваться растворителем (для краски) или специальным средством против ржавчины (WD-40, например).
Межкомнатная дверь устанавливается в доме с учетом, что она прослужит вам долгие годы.
Поэтому, необходимо учитывать не только эстетические предназначения изделия, но и ее практические функции.
В результате долгой эксплуатации, полотно изнашивается и теряет свою привлекательность. Кроме того, из-за появления щелей, которые часто образуются между коробкой и стенами, полотно начинает плохо закрываться. Как снять межкомнатную дверь с петель. Такие знания не помешают никому.
Виды петель
Петли делятся на такие типы:
- Карточные;
- Врезные;
- Ввертные;
- Невидимые.
Карточные
Очень часто применяют карточные петли (съемные и несъемные). Второй вариант дает возможность открываться двери в одну и в другую сторону, как показано на фото. Легче всего проводить демонтаж со съемным механизмом:
- Для этого нужно дверное полотно приоткрыть немного;
- Затем ломом, который используется как рычаг, начинаем поднимать полотно, пока оно не снимется с крюка;
- Желательно работать с напарником, чтобы тяжелая дверь не упала.

Сейчас выпускают изделия, конструкция которых более сложная. Такая фурнитура дополнительно снабжена различными крепежами и накладками. Перед тем, как преступить к демонтажу дверей евро образца, сначала снимите все дополнительные элементы. Затем можно немного открутить болт, с помощью которого затягивается крепление. Он расположен в верхней части фурнитуры, как показано на фото.
Врезные
Врезные петли могут быть:
- простые, которые надеваются друг на друга;
- а также с болтовым креплением.
Снимают полотно с такого механизма таким же способом, как в случае со съемного.
Ввертные
Ввертные петли имеют штырь, который вставляется в коробку и полотно. Такое крепление лучше подходит для легких межкомнатных дверей (до 25 кг). Благодаря ввертным креплениям, можно без труда регулировать правильное положение дверного проёма, как показано на фото.
Перед тем, как приступить к демонтажу двери с ввертными петлями, необходимо ознакомиться с их механизмом.
Если он такой же, как у врезных и карточных механизмах, значит с ними можно справиться по предыдущим методам.
Невидимые
Трудней всего снять полотно с невидимыми креплениями. Однако такие петли очень хорошо подходят для межкомнатных дверей. Их почти не видно, поэтому изделие имеет более привлекательный вид.
Механическая часть невидимых петель находится в специальной коробке, укрытой в дверной раме, как показано на фото. Чтобы снять полотно со скрытой фурнитурой, необходимо для начала снять абсолютно все крепления. Другие способы можете не искать.
Если вы любите часто производить в квартире перестановку, то лучше установить полотно с левыми и правыми петлями. Оно очень просто снимается, и вы легко сможете передвигать мебель из комнаты в комнату. Дополнительные трудности создадут и элементы декора, присутствующие на полотне, так как они крепятся по краям. Для устранения этой проблемы, нужно отвинтить крепление вверху петли.
Основные этапы
Сейчас все чаще в квартирах и домах начали устанавливать пластиковые межкомнатные двери.
Все части механизма в пластиковом изделии служат для плотного прилегания ее к коробке, а также для плавного закрытия полотна.
Существуют накладные и прикладные типы петель. Обычно, для межкомнатного полотна из пластика применяют накладные.
Чтобы снять такое полотно, которое имеет не простой механизм, нужны определенные знания. Если осилить эту науку, то можно легко справиться с работой, руководствуясь видео:
- Сначала нужно убрать колпачки, под которыми спрятан механизм;
- Затем немного приоткрываем дверь и с помощью молотка осторожно начинаем выбивать ось;
- Когда вы увидите осевой механизм, нужно пассатижами прихватить его и потянуть вниз, как показано на фото. Учтите, что дверное полотно тяжелое, поэтому нужно быть осторожным, чтобы не упустить его;
- Пластиковую дверь приподнимите на 5 сантиметров, чтобы освободить нижний штырь;
- Затем отведите полотно в сторону и снимите.
Подведем итоги
Часто для того, чтобы поменять или отремонтировать межкомнатную дверь ее надо правильно снять с петель.
Как видим это не так уж и сложно. Главное – знать, какой вид петель установлен на раме.
В процессе эксплуатации межкомнатных проемов может возникнуть необходимость в снятии дверного полотна для того, чтобы его покрасить, отреставрировать, заменить замок или петли и многое др. В любом случае, если вопрос о демонтаже самой коробки не стоит, необходимо знать нюансы такой работы, ведь важно снять дверь так, чтобы не повредить петли и само полотно.
Простые типы петель
В первую очередь нужно определить тип петель. От этого и будут зависеть все дальнейшие действия рабочего. Петли могут быть съемными и несъемными, ввертными, карточными, врезными и невидимыми.
Самым распространенным вариантом являются карточные петли, которые могут быть съемными и несъемными. Если с ходу определить тип петель, присутствующих на двери, не получается, можно провести простой эксперимент: на несъемных или универсальных петлях дверь открывается на 180 °, т. е. в обе стороны. А со съемных петель дверное полотно снять очень просто: достаточно слегка распахнуть его, подложить что-то тяжелое для предотвращения падения и, орудуя рычагом, ломом или черенком, поддеть дверь и аккуратно вынуть из петель.
Лучше работать вдвоем с напарником – он сможет подстраховать того, кто выполняет основную работу.
Типы петель с особенностями
Что касается врезных петель, то в последнее время их стали оборудовать декоративными креплениями, которые для непосвященного человека могут стать препятствием к демонтажу. Однако здесь все просто: достаточно отвернуть болт в верхней части петли. Такой тип держателя может и не иметь крепления, т. е. элементы конструкции просто одеваются друг на друга.
В случае с ввертными петлями сначала необходимо внимательно осмотреть их механизм. В большинстве случаев действия рабочего ничем не отличаются от действий с обычными карточными петлями.
Все большую популярность набирает конструкция дверного полотна евро образца. Для их монтажа предусмотрены петли, имеющие специальные регулировочные болты. Для того чтобы снять такую дверь, их нужно слегка открутить, чтобы крепление ослабло.
Наибольшую трудность могут представлять двери, подвешенные на невидимых петлях.
В этом случае придется открутить все существующие крепления, иначе вынуть дверное полотно не представляется возможным.
Возвращая дверь на прежнее место, нужно следить, чтобы не было перекоса. Надев петли друг на друга, необходимо затянуть крепление так же, как и до процедуры демонтажа.
плюсы и минусы, выбор и монтаж
Вместе с покупкой двери нужно правильно подобрать фурнитуру. Самая важная часть – петли, на них полотно будет держаться. Желательно сразу приобретать качественный товар, чтобы в будущем не пришлось ничего заменять. Самыми ходовыми на рынке считаются петли-бабочки для межкомнатных дверей. Они более прочные, чем остальные варианты, надёжны, а также безопасны. «Бабочками» их называют из-за того, что в открытом виде они похожи на это насекомое.
Фурнитура для установки межкомнатной двериИсточник deladom.ru
Особенности петлей-бабочек
Отличие дверных петлей-бабочек от других – это их монтаж.
Если обычные устанавливаются с помощью вырезки, то с бабочками все легче – их необходимо просто вкрутить на дверь и коробку. Пластина крепления упрощает задачу мастеру. При закрытии двери часть петли, которая расположена на самом полотне будет по контуру входить в разъем, который находится на проёме.
У такой фурнитуры универсальные характеристики:
- Во время установки не важно, какой стороной устанавливать петли. Главное, чтобы прямоугольная часть была на проёме, а фигурная на дверном полотне.
- С монтажом не возникнет проблем даже у новичка без опыта установки дверей.
Также, если не учитывать технические характеристики, у петлей-бабочек есть несколько особенностей: они отличаются по материалам изготовления, а также размерам. Благодаря этому их можно подобрать под любой интерьер.
Прямоугольная часть должна быть на коробкеИсточник paladii.ua
Материалы изготовления и размеры
Из-за того, что технический прогресс шагнул довольно далеко, петли-бабочки изготавливают из разнообразных материалов.
Конструкция изготавливается по своему чертежу, а также из различных материалов. Но важно учитывать особенности металла.
- Латунь отличается стойкостью к внешним факторам.
- Сталь устойчива перед перепадами температур и повышенной влажностью (не появляется коррозия).
- Цинковые петли относительно недорогие, но при установке навесов на межкомнатные двери необходимо помнить несколько особенностей. Этот металл подвержен коррозии, а также при частом использовании может сломаться. Поэтому необходимо следить, чтобы на изделие не попадала влага. А при появлении скрипов или шумов необходимо смазывать петли.
Цинковые петли-бабочкиИсточник baucenter.ru
По размерам петли делят на два вида: 10х3 см и 12,5х3 см. В двух вариантах толщина креплений примерно 2-3 мм. Также их называют «четвёрка» и «пятёрка» соответственно, но эти наименования применяют в основном мастера или продавцы.
Это указывает на размеры в дюймах.
Для обычного межкомнатного полотна необходимо две детали, но если дверь тяжёлая и сделана из тяжёлого материала, то желательно устанавливать три или четыре крепления.
Петли «четвёрка» изготавливают для лёгкого полотнаИсточник plitochkin.ru
Достоинства и недостатки
Перед тем, как сделать выбор, какие петли покупать для межкомнатных дверей, необходимо понять для себя плюсы и минусы каждого вида.
К плюсам петель-бабочек можно отнести несколько пунктов:
- Легко устанавливать. Они не монтируются в основание двери и проёма, поэтому не надо думать над трудозатратной подготовкой.
- Дешевле, относительно других вариантов.
- Надёжны и износостойки, если изначально установить их, соблюдая все нормы.
- Это универсальные крепления, так как установить петли-бабочки на межкомнатные двери можно, как на внешнее, так и на внутреннее открытие.

Под стандартные дверные петли необходимо вырезать зазорыИсточник dveridoc.ru
Также у данной фурнитуры есть ряд минусов:
- После установки крепления дверь снять нельзя. «Бабочки» не разбираются, как стандартные петли. Поэтому придётся полностью их демонтировать, что бывает затруднительно.
- При неправильной установке могут появиться перекосы, что может привести к заеданию конструкции.
- В основном такие петли изготавливают для лёгких дверей. Если устанавливать их на массивные полотна, то они могут не справиться с нагрузкой.
- Перекосы также могут появиться, если полотно двери будет неровным.
К выбору и монтажу петель необходимо относиться ответственно, чтобы по истечению короткого времени не пришлось менять или переустанавливать крепления.
Для массивных полотен нужно больше петельИсточник sdelalremont.
ru
Как правильно разобрать дверную ручку – с замком и без него
Инструкция по установке петлей-бабочек
Перед тем, как установить петли-бабочки на межкомнатную дверь, необходимо прочитать инструкцию или посмотреть обучающее видео, чтобы сделать монтаж правильно. Важно помнить, что фиксировать петли необходимо надёжно, чтобы не торчали шляпки саморезов, и не было наклонов.
Для работы понадобятся:
- рулетка и карандаш;
- шуруповёрт или дрель, а также отвёртка;
- сверло.
В этом видео показано, как правильно монтировать петли-бабочки
Для установки петель на межкомнатные двери не нужно делать вырезы в панели и двери, что сильно упрощает задачу и экономит время:
- Первым этапом к боковой части полотна необходимо приложить петлю на расстоянии 200-250 мм от края, чтобы отметить отверстия для крепления.

- После на отметках делаются углубления дрелью. Если начать сразу вкручивать шурупы, то материал может потрескаться. Также это создаст правильное направление для вкручивания. К полотну крепится внутренняя часть, потому что на коробке проблематично отмечать расположение внутренней стороны.
- Далее линейкой отмеряется расстояние и проставляются метки для саморезов.
«Бабочки» очень легко монтируютсяИсточник dvervdome.ru
Так как у петель неразборная конструкция, то необходимо сначала просверлить везде отверстия, а затем сразу установить всю готовую конструкцию. Желательно установить механизм первым делом на дверь, а потом на коробку.
В процессе монтажа иногда бывает загвоздка: планка не полностью соприкасается с дверью. Если не изменить ситуацию, то петли не будут до конца соединяться при закрытии двери или будут «играть». Убрать эту проблему можно, положив под планку, со стороны, где она плотно прилегает, полоску бумаги или резинки.
Дверь будет плотно закрываться, если все сделано правильноИсточник yandex.net
Как отрегулировать пластиковую дверь и что нужно знать перед настройкой
Как смазывать петли-бабочки
Сразу ничего смазывать не нужно, так как на них уже есть заводская смазка. Но при ежедневном использовании её становится меньше и появляется неприятный звук. Чтобы избавиться от него необходимо залить в подвижной механизм немного смазки.
Есть четыре варианта, чем смазать петли бабочки межкомнатных дверей:
- Самым лёгким и действенным методом считается применение масла для швейных машинок. Но такая жидкость есть не у каждого.
- Современным способом считается использование WD-40, но смазка также есть не у каждого. Она без жирной основы и хватает одного-двух впрысков, чтобы петля перестала смазалась.
- Третий способ – это растительное масло, но срок действия такого метода недолгий.

- И последний вариант, который также продержится недолго – это карандаш. Он вставляется в механизм и им необходимо подвигать. Грифель раскрошится и обработает внутреннюю поверхность.
WD-40 качественно смазывает петлиИсточник amazon.com
Чтобы не повредить механизм и смазать петли правильно, необходимо понять технологию:
- Дверь необходимо открыть до упора и зафиксировать так, чтобы она не двигалась.
- Масло заливается внутрь шприцом с иголкой, после этого необходимо убрать фиксацию.
- Далее механизм необходимо разработать (закрыть и открыть дверь несколько раз), это разгонит смазку.
Так как эти петли нельзя снять из-за их монтажа, то если проблема не устраняется смазкой – необходимо заменять конструкцию полностью.
В видео показано, как правильно смазать петли
youtube.com/embed/WrTFPL-vr9U» frameborder=»0″ allowfullscreen=»»/>
Что надо знать о видах межкомнатных дверей для их грамотного выбора
Коротко о главном
Петли-бабочки очень удобны в установке, для них не нужно вырезать часть двери и проводить специальную подготовку.
Лучше всего покупать латунные петли, они прослужат дольше всего, так как не зависят от температуры и влаги.
Петли из цинка самые дешёвые, но их нужно чаще смазывать и следить, чтобы не попадала влага (например, при влажной уборке).
Для лёгких дверей можно покупать пару «четвёрок», а для массивных лучше брать 3-4 «пятёрки», чтобы полотно надёжно держалось.
Устанавливать лучше сначала на дверь, а потом на коробку. Важно, чтобы планка бабочки ровно прилегала к поверхности, иначе между дверью и коробкой будет зазор.
Смазывать желательно машинным маслом или WD-40, растительное масло не продержится долго.
Если смазка не помогает убрать скрипы, то необходимо полностью демонтировать и менять петли.
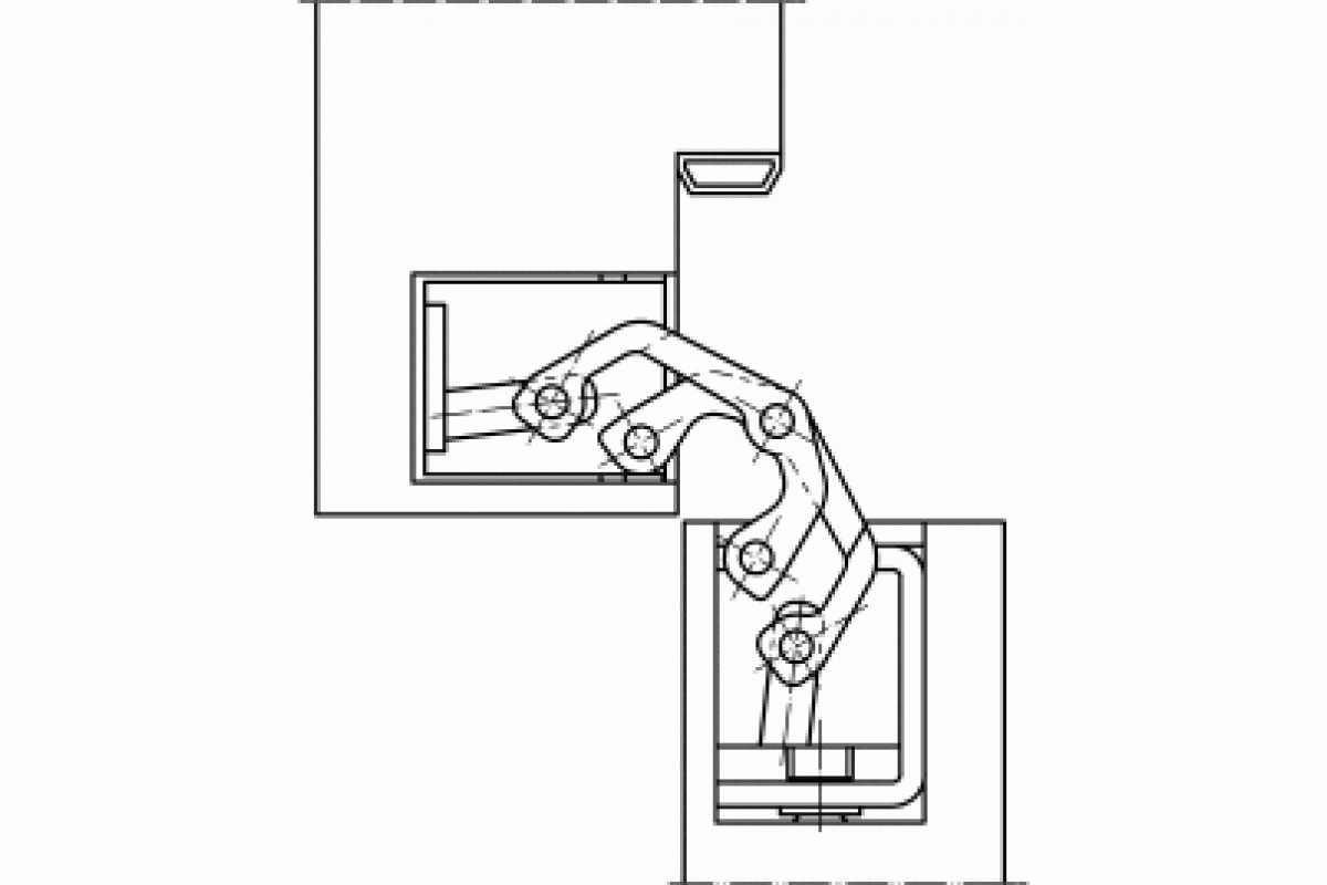
Петли для пластиковых дверей. Отрегулировать или заменить?
Содержание статьи:
Один из элементов дверной фурнитуры – дверные петли, является одним из самых ответственных элементов металлопластиковых конструкций. Именно они подвержены наибольшим нагрузкам, создающимся весом самой двери и постоянным трением в процессе открывания и закрывания двери. Поэтому к петлям для пластиковых дверей предъявляются повышенные требования как по материалу, из которого они изготовлены так и по качеству исполнения производителем (точность литья, класс обработки, износостойкость и пр.).
Обычно этот элемент фурнитуры не требует частого обслуживания. Евростандарты предусматриваю не менее 200 000 циклов открывания-закрывания. Так если вы четыре раза в день круглый год будете выходить на балкон, срок службы регулируемых петель ориентировочно составит 135 лет.
Вполне солидный срок и соответственно – надежность.
Но, это в теории и только в том случае, если используется фурнитура солидного производителя. В случае использования дешевой фурнитуры (обычно китайского производства) обнаружить скрытые дефекты сложно и гарантий от поломок вам никто не даст.
Если случилась поломка дверной петли или дверь стала неплотно закрываться. Самопроизвольно открываться или закрываться первым делом необходимо осмотреть дверные петли и определиться с объемом необходимых работ. Либо потребуется замена петли в случае поломки, либо достаточно будет отрегулировать петли.
Замена дверной петли
В подавляющем большинстве случаев на балконные двери устанавливаются накладные регулируемые петли. Снаружи они скрыты декоративными пластиковыми накладками, которые необходимо снять для свободного доступа к петле.
Чаще всего происходит разрушение деталей регулируемой петли выполненных из алюминиевого или цинкового литья в силу скрытых дефектов.
Но замене подлежит не только вышедший из строя элемент, а вся петля в сборе.
Чтобы проделать эту операцию самостоятельно необходимо снять дверь. Для этого потребуется нехитрый инструмент: молоток, плоскогубцы или кусачки и пробойник (керн).
Алгоритм действий по снятию металлопластиковых дверей состоит из поэтапных действий:
- снятие декоративных накладок;
- выбивание оси, на которой вращается дверь;
- снятие двери с оси нижней петли;
- демонтаж сломанной петли;
- монтаж новой петли.
Дальнейшие действия по водворению двери на место осуществляются в обратном порядке.
Существенным является то, что все действия по снятию дверей выполняются при её приоткрытом положении.
При помощи молотка и керна несильными движениями утапливается ось верхней петли до тех пор, пока не покажется её нижний край. После этого плоскогубцами или кусачками захватывается нижний конец оси и вытягивается вниз.
Если дверь крепится на трех петлях такую же операцию проводят и со средней петлей. Нижние петли имеют другое устройство. В них ось, на которой вращается дверь закреплена намертво. Поэтому выбивать её не надо.
Намного отклонив дверь на себя её надо поднять на 4-6 см вверх, до полного выходы оси из цилиндра дверной половинки петли. Вес конструкции двери с тройным стеклопакетом, широким профилем и утеплителем может быть достаточно солидным, поэтому проводить снятие дверей желательно с помощником.
Для замены желательно подобрать регулируемые петли такой же фирмы-изготовителя, какие были установлены на дверях изначально. Это предотвратит необходимость просверливания новых отверстий в профиле и использование шаблона.
Но если причиной поломки стал скрытый дефект или некачественность дешевой китайской фурнитуры – конечно же лучше заменить её на более дорогую, но надежную и долговечную фурнитуру европейских производителей, чтобы уже в последующем не возвращаться к этой проблеме на протяжении всего срока эксплуатации дверей.
Выбор фурнитуры для пластиковых дверей чрезвычайно многообразен, но оптимальным вариантом будет прихватить с собой сломанную дверную регулируемую петлю перед походом в магазин. Так легче будет объяснить продавцу какая именно петля вам необходима. Если же вы заказываете регулируемую петлю через интернет, внимательно перепишите все имеющиеся на ней обозначения, и сопоставьте их с информацией размещенной в описании к товару в интернет магазине.
Регулировка петель
Поломки петли случаются довольно редко, поэтому основной причиной плохой работы двери в большинстве случаев является их разбалансировка в следствии провисания под тяжестью дверного полотна, особенно если дверь большую часть времени находится в открытом положении.
Отрегулировать петлю несложно. Единственный инструмент, который вам понадобится — это отвертка со сменными битами (крест+прямая) и набор шестигранных Г-образных ключей.
Конструкция всех регулируемых петель предусматривает возможность их небольшого смещения (на несколько миллиметров) в трех направлениях: вертикальном, горизонтальном и фронтальном.
Если речь идет о перекосе двери, что определяется либо уровнем, приложенным к верхней кромке дверного полотна либо по линии, очерченной по периметру закрытой двери и сравнению ширины между контуром и краем дверной коробки, то необходимо отрегулировать горизонтальное смещение (регулировочный болт расположен на петле сбоку).
Если дверь стала плохо закрываться и цепляется нижним краем за порог – то следует отрегулировать её в вертикальном направлении — поднять (регулировочные болты находятся сверху).
Если ослабла сила прижима – необходимо проверить в каком положении находится переключатель режима «зима-лето» на торцевой части двери в районе дверной защелки и выставить его в надлежащее положение.
Ремонт регулируемых дверных петель, даже связанный с их полной заменой – манипуляция не сложная с технической точки зрения, но трудоемкая в силу большого веса самого дверного полотна которое требуется поднять и удерживать какое-то время.
При наличие необходимого инструмента и комплекта дверных петель, которые вы хотите установить, она не займет больше 30-40 минут. Еще проще выполнить регулировку положения провисшей двери.
Подведём итоги
Если в своими руками сумеете выполнить ремонт балконной двери, поменяв петли для пластиковых дверей, значит вы – настоящий домашний мастер!
Снятие штифтов петель
Вопрос: Это может показаться глупым вопросом, но кто-нибудь может сказать мне, как снять штифты с дверных петель? Мне удалось немного приподнять верхнюю часть среднего штифта, но остальные закрашены, и я не могу просунуть край отвертки под головку. Там также, кажется, часть булавки в нижней части. Это тоже надо убрать? На внешней двери три петли. Имеет ли значение, в каком порядке я их удаляю, чтобы сделать это безопасно? Причина, по которой мне нужно сделать это быстро, заключается в том, что увлажнитель воздуха вздул дверцу до такой степени, что ее невозможно открыть изнутри.
Мне нужно немного отстрогать низ сбоку с защелкой и небольшую полоску внизу. Это моя входная дверь, и в настоящее время она не используется.
Ответ: Существует три типа шарнирных штифтов:
- Первый — это основной штифт, который проходит через петлю и выступает из нижней части примерно на 1/8 дюйма.
- Второй имеет на конце заглушку, которая отформована с одной стороны шарнира — в эту чашку садится низ штифта.
- У третьего внизу есть колпачок, который отвинчивается — он ввинчен в нижнюю часть одной стороны петли, и при снятии можно увидеть шарнирный штифт.
При этом, когда болты петель закрашены, обычно легче открутить петлю либо от двери, либо от коробки, чем бороться с болтом. Убедитесь, что кто-то уравновешивает дверь, когда вы откручиваете винты. Выкрутите все винты, кроме одного, из каждого шарнира, затем снимите остальные.
Вопрос: Думаю, что возможно у меня третий тип.
Теперь мой вопрос: если это так, какой инструмент необходим для удаления нижней части? С краской сложно сказать. Это отвертка или нужен торцовый ключ?
Ответ: Производителей петель так много, что и сказать невозможно.
Для некоторых требуется пара плоскогубцев и просто поверните, чтобы отвинтить крышку внизу. Если в нижней части крышки есть отверстие под шестигранный ключ, вы можете использовать шестигранный ключ. Вы можете взять канцелярский нож и поцарапать линию, где колпачок соединяется с петлей, по сути, просто срезав краску, чтобы ее было немного легче открутить.
————————
Удаление штифта дверной петли — Как обсудить
Как вынуть штифт из дверной петли? Самый простой способ. В современных домах используются ■■■■■■■петли из латуни или с никелированным покрытием, а штифты легко вынимаются с помощью отвертки и молотка.
Как удалить дверные штифты?
Обзор статьи. Чтобы снять штифт с дверной петли, сначала убедитесь, что у вас есть молоток, отвертка и набор гвоздей или набор гвоздей.Затем положите книгу под дверь, чтобы она не упала, пока вы будете решать. Затем используйте молоток, чтобы протолкнуть гвоздь вверх и под штифт, пока он не освободится.
Как установить дверную петлю?
Установите новый шарнир. Установите новую петлю вместо старой. Используйте дрель или отвертку и винты из коробки, чтобы прикрепить петли к косяку и двери с обеих сторон. Вставьте штифт петли в петлю, чтобы закрепить новую петлю.
Как работает дверной упор с шарнирным штифтом?
Дверной ограничитель не позволяет открытой двери открываться настолько, что дверная ручка может повредить стену.Дверные упоры с шарнирными штифтами предназначены для надевания на существующие нижние шарнирные штифты на самой двери.
Что такое штифт дверной петли?
Поворотный штифт представляет собой цилиндрический кусок металла, который удерживает два поворотных рычага вместе, позволяя рычагам свободно вращаться вокруг штифта.
Как установить дверные петли?
Установка дверных петель Установите петли в желаемом месте. Обведите петлю. Вырежьте канавку. Отметьте положение винтов. Просверлите пилотные отверстия.Набрать отдельные петли. Закрепите дверь на косяке.
Какие петли использовать?
Различные типы петель и их применение Шариковые петли. Отличительная ■■■■ петля (см. ниже) со скрытыми подшипниками между шарнирными соединениями, что снижает трение и улучшает движение двери. Прогулочная петля. Задний шарнир. Скрытая петля. Сильный шарнир.
Что такое петля для шкафа?
Петля является важной частью оборудования для правильного функционирования двери шкафа.Две основные категории петель — видимые и невидимые. Видимые петли изначально выкованы ковкой.
Как установить стопор дверной петли
Сборка и установка стопора дверцы Вставьте винт в ось стопора дверцы. Затем наденьте материнскую плату на винт. С помощью отвертки прочно закрепите дверной стопор на стене.
Вставьте резиновую заглушку в конец ограничителя дверцы, чтобы предотвратить повреждение дверцы.
Какие есть способы установки дверных упоров?
Способ 2 из 2: Установка дверного упора с фиксированной стойкой Купите дверные упоры.Фиксированные дверные косяки состоят из короткого жесткого косяка с резиновой полосой на одном конце. Откройте дверь, пока она не станет параллельной стене. Используйте карандаш, чтобы отметить точку на основании, которая соответствует краю двери. Просверлите отверстие в основании, чтобы закрепить дверной упор. Вверните дверной стопор в отверстие.
Как вырезать дверную петлю?
Пазы дверных петель часто обрабатываются с помощью фрезера и прямой фрезы, но вы также можете вырезать пазы вручную с помощью молотка и зубила. Стамеска должна быть острой как бритва, чтобы правильно срезать штифты.Чтобы вырезать пазы для петель в двери: прикрутите петлю к двери или раме.
Какие бывают виды петель для кухонных шкафов?
Петли для кухонных шкафов бывают разных стилей: хромированные, латунные, медные, черные, полированные и кованые.
Варианты стиля и формы петель разнообразны и от дизайна будет зависеть тип петли для конкретного кухонного шкафа.
Что нужно для замены штифтов дверных петель грузовика Chevy?
Для замены шарнирных штифтов и прорезей на грузовике или внедорожнике GM вам потребуются: Удлинитель на 9 мм (или другой удлинитель аналогичного размера), который надевается на штифт для установки удерживающих зажимов.Обязательно выберите шарнирные штифты и шайбы. которые соответствуют марке, модели и году выпуска вашего автомобиля Chevrolet, грузовика GMC или внедорожника.
Когда вы меняете петли на Chevy Silverado?
Большие двери грузовиков GM и больших внедорожников тяжелые, а петли со временем изнашиваются. Если вы не можете закрыть двери на своем Chevrolet Silverado, Suburban или Tahoe, GMC Sierra или Yukon 1988-2000 годов выпуска, не сильно ударившись о них и не осознавая, что при открывании они висят низко, пришло время заменить дверные петли.
Как снять пружину с двери грузовика Chevy?
Снимите пружину двери с петли, между петлей и самой дверью, вставьте конец пружины и вставьте отвертку между петлей и петлей. Подденьте, чтобы открыть дверь, как рычаг, пока пружина не выскочит. Распылите проникающее масло на верх и низ подседельных штырей, чтобы облегчить их засорение.
Как заменить петлю на двери?
С помощью плоской отвертки снимите старые шайбы.Установите новые втулки, обращая внимание на разные размеры и положение каждого шарнира. Совет: для верхней петли самое большое кольцо идет к низу петли, а самое маленькое кольцо — к верху петли.
Как установить долото для дверных петель
Совместите долото с канавками так, чтобы стамеска была перпендикулярна двери или косяку, а скошенная сторона стамески была направлена к канавке. Постучите по канавке молотком, чтобы углубить линию сгиба.
Как лучше установить дверную петлю?
Обведите петлю.
Прикрепите петлю к двери и косяку и аккуратно обведите петлю столярным карандашом. Глубина петли для наполнителя всегда должна быть такой же толщины, как и сама петля. Перед тем, как перейти к следующему шагу, убедитесь, что контуры двери и косяка совпадают.
Что нужно знать о врезной петле?
Пазы для петель представляют собой неглубокий вырез на краю двери и косяка, отражающий размер и толщину дверной петли.Канавка для петли гарантирует, что петля находится на одном уровне с косяком и дверью, чтобы дверь закрывалась правильно.
Как прикрепить дверь к косяку?
Прикрепите дверь к косяку. Держите дверь на месте и используйте блоки под полом, чтобы поддержать ее, если это необходимо. Совместите две петли так, чтобы дверные пластины были заподлицо с пластинами рамы. Установите шарнирные штифты на место и снимите дверные блоки.
Как установить петли на дверную коробку?
Чтобы установить дверные петли на новую дверь, измерьте и отметьте места, где петли должны располагаться на дверной раме и дверном косяке.
Затем поместите петлю на дверь и нарисуйте ее контур карандашом. Используйте канцелярский нож, чтобы наметить контур.
Можно ли использовать тупое зубило для установки дверных петель?
Использование тупого зубила затрудняет прорезание канавки и требует большего давления молотка (что может привести к проскальзыванию молотка). Если вы прорезали канавку слишком глубоко, вы можете использовать шпаклевку по дереву или положить в канавку тонкий кусок дерева перед установкой петли.
Зачем нужны петли на входные двери?
Дверные петли обеспечивают семье первый уровень внутренней безопасности и защиты от непогоды.В доме они предлагают уединение членам семьи. Установка дверных петель, новых или на замену, — это простой навык, который может оказаться бесценным для многих домовладельцев, особенно для тех, кто любит проекты.
Какие существуют типы дверных петель?
К счастью, они готовы помочь и направить вас. Существует много видов классических и специальных дверных петель, но большинство из них можно разделить на три категории: левые, правые и двусторонние.
Как установить дверные петли
Как установить скрытые дверные петли шкафа
Шаг 1 Измерьте, чтобы определить, насколько ваши двери перекрывают шкаф.
Шаг 2 : Просверлите отверстия в двери для крепления скрытых петель
Шаг 3 : Установите дверь и вставьте петли в отверстия
Шаг 4 : Прикрепите монтажные кронштейны к корпусу шкафа.
Как повесить межкомнатную дверь?
Повесить вывеску проще, чем вы думаете. Все, что вам нужно, это молоток и зубило, плоскогубцы, угольник, дрель и кольцевая пила. Измерьте ширину старой двери. Все размеры стандартные, поэтому можно найти замену посреди дома.Выровняйте две двери и немного соедините их вместе (Фото 1).
Как установить входную межкомнатную дверь?
Материалы и инструменты для установки внутренних дверных панелей
ШАГ 1 : Измерьте старую дверь
ШАГ 2 : Снимите дверь ■■■■■■■■■■■■ ШАГ 3 : Снимите старую дверь
ШАГ 4 : Новый гипсокартон двери
ШАГ 5 : Вырезать новую дверь
ШАГ 6 : Разметка петель и дверной ручки
ШАГ 7 : Разметить и вырезать прорезь в круге петли : Установите новые петли на дверь
ШАГ 9 : Затяните замок.
Какой размер у дверных петель?
Дверные петли измеряют методом измерения, когда петля открыта и плоская. Петля 3 1/2 x 3 1/2 имеет высоту 3 1/2, имеет центральную балку и две панели шириной около 1 1/2. Типичные размеры петель для входных дверей: 3 и 3 1/2.
Что такое петля для защитной двери?
Защитная петля — это защитная функция, которая предотвращает возможные преступления, такие как кража или вандализм, за счет затруднения снятия двери с помощью манипуляций с петлями.Их можно использовать на входных дверях в целях безопасности, а также в защищенных установках, где требуется изоляция внутри здания.
Как снять штифт дверной петли с нижней заглушкой
Если вы засунете книги под дверную прорезь, дверь будет иметь поверхность, на которой можно будет сидеть, пока вы снимаете ручки. Возьмитесь за нижнюю крышку ручками тисков и закрепите ее на месте. Затем осторожно постучите по рукоятке тисков, пока нижняя крышка не освободится.
Вдавите штифт в дверную петлю.Используйте молоток и шестигранный ключ или гвоздь, чтобы постучать по штифту.
Как заменить нижний шарнирный палец на грузовике Chevy?
С помощью отвертки и плоскогубцев снимите фиксирующую защелку на нижней стороне нижнего шарнирного стержня. Начните с кончика отвертки, чтобы встряхнуть его, затем возьмите его и используйте плоскогубцы, чтобы ослабить его. Поместите домкрат, чтобы поддержать конец двери, чтобы выдержать вес, когда нижний штифт выскочит.
Как заменить дверную петлю на S10?
Открыть дверь s10.Поставьте табурет или скамью под дверью, чтобы поддерживать ее во время работы. Достаточно высоты нижнего края двери. Вставьте набор гвоздей в стержень петли с внутренней стороны двери. Поддерживая дверь рукой или другим поддерживающим предметом, постучите молотком, чтобы вбить гвоздь в штифт.
Как снять петлю с двери автомобиля?
Когда он будет на расстоянии около 1/2 дюйма от шарнира, возьмите его плоскогубцами или поднимите вручную.
Снимите штифты петель, удерживая дверь.Вставьте набор гвоздей в кольца и выбейте кольца из петли. Проделайте это как с дверной рамой автомобиля, так и с самой дверью, которую сейчас будем снимать.
Как снять пружинный шарнир? – Кухня
Подпружиненную петлю следует снимать только при закрытой двери, чтобы она не захлопнулась. С помощью шестигранного ключа откройте пружину, чтобы вы могли видеть натяжной штифт. Затем удалите штифт с помощью плоскогубцев. Затем вы можете удалить шестигранный ключ и позволить пружине естественным образом раскрутиться.
Как снять самозакрывающуюся дверную петлю?
Как снять самозакрывающуюся дверную петлю?
- Используйте дверной ограничитель для предотвращения случайного закрытия.
- Откройте шарнир.
- Отрегулируйте устройство регулировки натяжения с помощью шестигранного ключа.
- Зажмите петлю.
- Снимите шарнирные винты.
- Отсоедините зажимы.

- Снимите ограничитель двери.
- Снимите дверь.
Как узнать, съемный ли шарнир?
Разрешение
: опция NRP будет обозначена небольшим отверстием с установочным винтом на боковой стороне поворотного кулака.Винт будет скрыт, когда дверь закрыта. Если отверстия под установочный винт нет, то штифт можно вынуть.
Как снять подпружиненную дверную петлю?
Подпружиненную петлю следует снимать только при закрытой двери, чтобы она не захлопнулась. С помощью шестигранного ключа откройте пружину, чтобы вы могли видеть натяжной штифт. Затем удалите штифт с помощью плоскогубцев. Затем вы можете удалить шестигранный ключ и позволить пружине естественным образом раскрутиться.
Как удалить застрявший шарнирный штифт?
Взгляните на шаги по освобождению застрявшего штифта дверной петли.
- Соберите правильные инструменты.
- Держите дверь в неподвижном положении с помощью опоры.
- Отрежьте слои краски.
- Вытащите булавочную головку.
- Распылите смазочный спрей.
- Используйте раствор горячей воды, чтобы выбить штифт (дополнительно)
- Снимите дверь.
Как снять подпружиненную распашную дверь?
Как снять распашную дверь на кухне
- Осмотрите пол, где поворачивается нижний угол двери.Вы должны увидеть четыре винта, установленных в полу.
- Поднимите накладку, которую эти винты крепили к полу.
- Возьмитесь за дверь обеими руками и потяните ее на себя, сняв с верхней оси.
Как работают несъемные шарнирные штифты?
Несъемные штифты — еще одна защитная функция стыковых петель. Опять же, этот термин говорит сам за себя. Штифт нельзя вынимать из ствола. Чтобы снять дверь с проема, ствол пришлось срезать с петли.
Дверные петли не снимаются?
Иногда вы найдете наружную дверь, где дверь открывается наружу, или, другими словами, петли находятся снаружи двери.
Почти все петли стандартно поставляются со съемными штифтами. Несъемные штифтовые петли доступны практически с любой петлей Emtek или PHG по запросу.
Как легко починить дверцу духовки
Автор: brizmaker / Shutterstock.com
Разве это не расстраивает, когда дверца духовки внезапно не закрывается должным образом? Ну, может, проблема, конечно, и возникла за несколько дней, но результат все тот же – уход тепла при готовке и неудавшееся запекание или жарение блюда.
Причин того, что дверца духовки не закрывается должным образом, может быть множество: от неисправной петли, которую необходимо заменить, до изношенного или сломанного уплотнения дверцы духовки, которое постоянно мешает.
Итак, в этом посте мы рассмотрим различные причины и решения, связанные с ремонтом дверцы духовки, а также рассмотрим несколько советов о том, как починить или заменить петли дверцы духовки.
Почему дверца духового шкафа плохо закрывается?
Давайте посмотрим, в чем может быть проблема с дверцей вашей духовки и что вы можете сделать, чтобы решить эту проблему.
И если некоторые из решений не требуют каких-либо специальных инструментов и опыта, с некоторыми проблемами дверцы духовки, вам, возможно, придется проверить свои навыки самостоятельного изготовления.
Петля оторвалась
Нередки проблемы с петлями дверцы духовки. Если по какой-то причине вы немного сильно потянули дверцу духовки, одна из петель может оторваться. Так что теперь он не в запертом положении. Затем попытайтесь вставить петлю обратно в паз в раме дверцы духовки, поднимите маленькую «ножку» петли (фиксирующий язычок) и зафиксируйте ее на месте.
Петля затянута недостаточно
При повседневном использовании кухонного прибора винты петель дверцы духового шкафа могут ослабнуть. И дверь может начать немного болтаться с одной стороны, плохо закрываясь. Итак, чтобы исправить смещенную дверцу духовки, вам нужно отрегулировать дверные петли и затянуть их отверткой. Не сложно, правда?
Проблемы с уплотнением дверцы духовки
Уплотнение дверцы духовки (также известное как прокладка) также подвержено износу.
Если он, например, немного отходит с одной стороны и не подходит идеально к дверной раме, то он обязательно будет мешать дверце духовки, которая не будет закрываться плотно и как следует.Так что лучше всего почистить прокладку и попытаться выровнять ее на место. Если пломба действительно сломана и не подлежит ремонту, и не держится на месте, то лучше вообще заменить ее на новую.
Петли нуждаются в чистке
Петли могут собирать всевозможную грязь, жир, смешанный с пылью, и кусочки пищи, которые выпали и застряли на металле и между компонентами петли. Пятна ржавчины на петлях также могут повлиять на их работу и на то, как открывается и закрывается дверца духовки.Поэтому убедитесь, что вы правильно почистили петли содовой пастой и зубной щеткой. Затем протрите чистой тканью.
Препятствие между дверцей и духовкой
От упавших кусочков пищи между нижней частью дверцы духовки и рамой духовки до металлических пластин и направляющих, слегка выступающих наружу, дверца духовки может не закрываться из-за физических препятствий.
Внимательно осмотрите проблему и попытайтесь перемещать противни и решетки в печь и из нее. Скорее всего, они не скользят должным образом из-за накопления смазки.Итак, опять же, мы приходим к тому, что вам, возможно, придется хорошо почистить внутреннюю часть вашей духовки и удалить все упавшие кусочки пищи между дверцей и рамой духовки, чтобы решить проблему.
Сломанная пружина шарнира
Разумеется, существуют разные модели духовых шкафов с дверцами, которые по-разному крепятся к основному корпусу прибора. От дверей с петлями без защелок и дверей с петлями-защелками до дверей с пружинными петлями — все они могут изнашиваться при длительном использовании. Если на дверце вашей духовки сломаны петли со сломанными пружинами, вам необходимо снять дверцу и заменить пружины новыми.Обратите внимание, что в этом случае вам может понадобиться помощь специалиста по ремонту духовки, так как замена пружин может означать демонтаж вашей духовки. Видите ли, некоторые пружины петель дверцы духовки расположены в самой дверце, а некоторые установлены на боковой стенке камеры прибора, в зависимости от модели.
Неисправный шарнир
Сам шарнир может сломаться или выйти из строя, а также может потребоваться замена защелки. В таких случаях вам придется приобрести новые петли, подходящие для вашей модели духовки, и заменить старые.Для выполнения работы вам понадобится несколько простых инструментов и немного терпения. Ниже описан процесс ремонта дверцы духовки путем замены петель.
Как заменить петли дверцы духовки
Прежде всего, протрите дверцу духовки тряпкой, смоченной моющим средством. Вы бы не хотели возиться с засаленной дверью, верно? Возьмите мягкое полотенце и освободите место для двери после того, как вы ее снимете. В некоторых случаях для его отсоединения может понадобиться отвертка. Имейте под рукой как плоский, так и тип Philips, потому что они понадобятся вам, чтобы разобрать дверь и заменить петли.
Ниже приведены шаги по снятию дверцы духовки и установке новых петель:
- Наденьте защитные перчатки.
Рекомендуется надеть защитные перчатки, чтобы вы могли крепко держать дверь, а также чтобы избежать порезов об острые края.

- Снимите дверцу духовки.
Большинство современных духовых шкафов имеют дверцы, которые фиксируются с помощью запорного механизма внутри шарнира. Если у вас так, то сначала вам нужно полностью открыть дверь, чтобы она была параллельна полу.Затем найдите фиксаторы петель и поднимите их с помощью плоской отвертки. Затем закройте дверцу в положение жарки, чтобы она была приоткрыта всего на четверть, а затем потяните ее вверх и в сторону. Он должен легко отделяться от фиксирующих выступов. Если ваша дверца духовки более старой модели, вам может понадобиться просто открутить петли, чтобы снять ее. Узнайте больше об этом из нашего руководства «Как снять и переустановить дверцу духовки» .
- Доступ к петлям.
Теперь вам нужно получить доступ к петлям, что можно сделать, разобрав дверцу духовки.Удалите все винты, которые скрепляют внутреннюю и внешнюю панели. У некоторых моделей духовок вам может понадобиться также снять ручку, чтобы разобрать дверцу духовки.

- Снимите петли дверцы духовки.
Затем отвинтите петли и осторожно снимите их, потянув вверх и в сторону. Получите новые петли и установите их на место. При необходимости отрегулируйте петли, чтобы они аккуратно вошли в пазы.
- Глубокая очистка панелей.
Перед тем, как собрать дверцу духового шкафа таким же образом, как вы ее разобрали, вы можете тщательно очистить панели и удалить жирные пятна и общую грязь.
- Установите дверцу духовки на место.
Помните, особенно если у вас духовка с дверцей, которая просто фиксируется на месте, а не с петлями, которые нужно прикручивать. Затем поднимите дверцу духовки и вставьте петли в пазы. Дверь снова должна быть в положении жарки (чуть приоткрытой). Ваш помощник может помочь вам правильно выровнять петли. Затем полностью откройте дверь. Опять же, с помощью плоской отвертки поднимите стопорные выступы (защелки) и зафиксируйте их на месте.Закройте дверцу духовки, и все готово.

Как видите, проявив немного терпения и внимания к деталям, вам не составит труда починить дверцу духовки. Конечно, если вы не уверены в том, насколько хороши ваши практические навыки, и опасаетесь, что можете принести больше вреда, чем пользы, то просто вызовите профессионального специалиста по ремонту бытовой техники.
Нужна помощь с починкой дверцы духовки?
Наймите фантастического мастера по ремонту духовок, который поможет вам прямо сейчас!
Еда на вынос
- Существует ряд причин, по которым дверца вашей духовки не закрывается должным образом.
- Для разных моделей духовки могут потребоваться разные решения по ремонту дверцы духовки.
- Иногда устранение неисправности дверцы духового шкафа, которая не закрывается должным образом, может потребовать тщательной очистки, которую лучше всего выполнить с помощью специалиста по чистке и чистке духовки.
- В других случаях вам может понадобиться просто заменить петли дверцы духовки, что не так сложно сделать.

Отказ от ответственности: Мы являемся коммерческим поставщиком услуг по обслуживанию домов. Целью этого блога является предоставление ценного и точного контента исключительно в информационных целях .Мы настоятельно рекомендуем нашим читателям учитывать все риски и проблемы со здоровьем, прежде чем браться за проект «сделай сам». Мы также настоятельно рекомендуем вам получить полную информацию о законах и правилах, касающихся электрики, сантехники, ремонта бытовой техники и других работ в различных штатах Австралии.
Наш пост был вам полезен? Пробовали ли вы починить дверцу духовки самостоятельно? Расскажите нам об этом в комментариях ниже!
- Последнее обновление: 15 февраля 2022 г.
Опубликовано в Все статьи, Домохозяйство
Как снять застрявшую петлю с дверцы шкафа » Денежная яма
ЛЕСЛИ: Мэриэнн из Теннесси звонит и делает небольшую переделку кухни.
Как мы можем помочь?
МЭРИАНН: Работа над старым домом и шкафы действительно хороши. Проблема в том, что мы пытаемся отполировать его и снять с него все петли и оборудование. И было так много краски, что было нанесено на эти маленькие гвозди, прикрепленные к петлям. Я не знаю, как их снять и как опустить двери, чтобы отшлифовать их и закончить.
ТОМ: Ну, очевидно, вам понадобится какое-то средство для удаления краски, но вы можете просто — с точки зрения оборудования, это довольно просто.И петли, да.
Если бы у вас был металлический поднос, например, старый противень, старый горшок или что-то в этом роде, на дно которого вы могли бы положить пару дюймов средства для удаления краски, вы могли бы просто замочить эти петли, пока краска не отделится. . А потом в резиновых перчатках вынуть их и аккуратно проволочной щеткой или даже – может быть, даже не проволочной щеткой. Может быть, вы можете использовать любую чистящую щетку и попытаться освободить эту краску. Я думаю, что это сделает довольно хорошую работу по удалению большей части этого оттуда.
МЭРИАНН: Петли прикреплены к шкафу.
ЛЕСЛИ: Но сними их.
МАРИАНН: Вот что я пытаюсь сделать; Я не могу, потому что они прикручены этими маленькими винтиками.
ТОМ: Ну, тогда тебе следует нанести средство для удаления краски и на сам шкаф.
ЛЕСЛИ: Я действительно думаю, что это то, что тебе придется сделать. На начальном этапе самым эффективным шагом здесь будет химический реагент для зачистки. Я думаю, просто со всеми наслоениями краски — и так их даже с самой коробки не достать? Или вы получили их из коробки …
ТОМ: Она не может — да, она не видит — держу пари, что она даже не видит головок шурупов.
МАРИАНН: Нет. Угу.
ЛЕСЛИ: Итак, вам понадобится стриптиз, который будет прилипать, пока шкафы все еще открыты — двери все еще открыты.
МАРИАНН: Верно.
ЛЕСЛИ: Есть один, который выходит как паста, и это Rock Miracle. Это наименее ликвидный из всех. И тот, который вы просто раскатываете или наносите, в зависимости от того, насколько он толстый в контейнере.
Прошло некоторое время с тех пор, как я работал с ним. Но это тот, который мне нравится, когда вы как бы в джеме, и все еще должно быть в вертикальной ситуации.
МАРИАНН: Верно.
ЛЕСЛИ: И это должно — я бы не стал делать это на всей двери в данный момент. Я бы просто атаковал петли, чтобы посмотреть, сможете ли вы хотя бы ослабить их, чтобы снять их. Если вы не можете, вам, вероятно, придется отказаться от этих петель, и вам придется просверлить отверстие в этом винте, чтобы как бы вывернуть его.
МЭРИАНН: Да, я пыталась сделать все, чтобы попытаться открутить хотя бы один болт.
ТОМ: Верно.
ЛЕСЛИ: Ага.
МАРИАНН: И это было почти невозможно, понимаете, так что…
ТОМ: Ага. Да, слишком много краски. Вы боретесь с краской, поэтому вам нужно избавиться от части этой краски. Я думаю, что Rock Miracle — хороший способ начать.
ЛЕСЛИ: Хороший.
ТОМ: Ага.
МАРИАНН: ОК.
ТОМ: Иди купи маленькую банку.
Попробуйте его на некоторых из самых сложных областей и посмотрите, как это работает. Я думаю, вам это может понравиться, и вы можете уйти оттуда.
МАРИАНН: ОК. Здорово. Я попробую это. Большое спасибо.
Снятие и установка дверцы духовки — справка по продукту
Руководство по снятию дверцы духовки Maytag для очистки
Важно знать, как заменить дверцу, не повредив остальную часть прибора.
Есть два типа дверей: с петлями-защелками и без петель-защелок.
Для снятия дверцы духовки Maytag с шарнирными защелками
- Перед снятием дверцы духовки подготовьте ровную поверхность для установки дверцы духовки.Его следует накрыть мягким одеялом или использовать стойки из упаковочного материала.
- Откройте дверцу духовки.
- Найдите замки/защелки петель дверцы духовки в обоих углах дверцы духовки.
- Поверните / поднимите шарнирный замок / защелку по направлению к дверце духовки, чтобы разблокировать ее.

- Если замок дверной петли / защелка не повернут / не перевернут полностью (см. рис. B), дверь не снимется должным образом.
- ПРИМЕЧАНИЕ. Шарнирный замок/защелка зависит от номера модели.
- Частично закройте дверь, чтобы сработали замки дверных защелок. В этот момент дверь остановится.
- Двумя руками возьмитесь за края дверцы духовки.
- Поднимите и потяните дверцу духовки на себя и снимите.
- Возможно, потребуется осторожно подвигать дверь из стороны в сторону, когда вы тянете дверь.
- Отложите дверцу(и) духовки в сторону на подготовленную рабочую поверхность с покрытием так, чтобы дверца духовки опиралась на ручку.
Как заменить дверцу духовки Maytag с шарнирными защелками
- Двумя руками возьмитесь за боковые края двери посередине. Лицевая полость печи.

- Найдите прорези на каждой стороне камеры печи для замков дверных петель.
- Совместите дверные петли под углом 45° с прорезями в нижней передней части камеры печи.
- Медленно вставьте дверь, сохраняя угол 45°.
- Дверца входит в паз, когда вы чувствуете легкое падение.
- Опустите дверцу духовки в полностью открытое положение:
- Если дверца духовки не открывается на 90°, повторите шаги 1–3.
- Найдите замки/защелки петель дверцы духовки в углах дверцы духовки и поверните замки/защелки петель в направлении полости духовки в запертое положение.
- См. шаг 3 (рисунок A) в разделе «Снятие дверцы духовки», чтобы определить правильное запертое положение.
- Закройте дверцу печи.
- При правильно установленных петлях и закрытой двери зазор между дверью и панелью управления должен быть одинаковым:
- Если одна сторона дверцы духовки висит ниже, чем другая сторона, петля на этой стороне установлена неправильно
- Повторите шаги, чтобы снять и заменить дверцу духовки
Для снятия дверцы духовки Maytag без шарнирных защелок
- Перед снятием дверцы духовки подготовьте ровную поверхность для установки дверцы духовки.
Его следует накрыть мягким одеялом или столбиками из упаковочного материала. - Откройте дверцу печи до упора (приблизительно на 4 дюйма [10,0 см]).
- Возьмитесь за дверь с каждой стороны. Не используйте дверную ручку, чтобы поднять дверь.
- Равномерно поднимайте дверь, пока она не освободится от рычагов петли.
Для замены дверцы духовки Maytag без шарнирных защелок
- Возьмитесь за дверь с каждой стороны.
- Совместите прорези в двери с рычагами петель на плите.
- Сдвиньте дверь вниз на рычаги петли, пока дверь полностью не сядет на петли.
- Нажмите на верхние углы дверцы, чтобы полностью установить дверцу на петли.
ПРИМЕЧАНИЕ. Дверь не должна выглядеть криво.
Если вы хотите загрузить или просмотреть литературу по вашему прибору, посетите нашу страницу «Руководства и литература».
Как отремонтировать провисшие дверные петли » Блог ноу-хау NAPA
Со временем втулки и штифты, скрепляющие дверные петли, изнашиваются.
Это распространенная проблема, и именно поэтому так много старых автомобилей имеют смещенные двери, которые плохо закрываются. Этого не должно быть. Вы можете заменить провисшие дверные петли на старых автомобилях, но дверные петли новых автомобилей и грузовиков на самом деле приклеены к кузову, поэтому вы не можете их заменить (в любом случае, это нелегко). Восстановить петли довольно просто, хотя это требует некоторых усилий, нескольких инструментов и, в некоторых случаях, снятия самой двери.
Из-за провисших дверных петель и резкого перекоса дверь не закрывается должным образом, не говоря уже о протечках.
Начало работы
Недавно мы проходили процесс восстановления дверных петель на грузовике Chevrolet 1981 года, однако GM использовала одну и ту же базовую конструкцию петель в течение почти пятидесяти лет, поэтому этот процесс распространяется практически на все отечественные грузовики и многие автомобили на дорога сегодня. На выбранном нами грузовике нижняя петля не требует снятия двери, а верхняя требует.
Вам понадобятся такие инструменты, как трещотка и набор головок, молоток и пробойник. Если у вас есть пневматические инструменты, пневматический молоток с головкой молотка ускорит эту работу.
Возможно, вы сможете выполнить эту работу с открытой дверью, но на этих грузовиках верхний штифт петли задевает саму дверь, поэтому ее нужно снять.
Во-первых, вам нужно определить, нужно ли снимать дверь. Если штифт петли представляет собой единую деталь полной длины, вам нужно проверить, выйдет ли она целиком, не задев саму дверь. Мы взяли набор дверных штифтов и втулок в комплекте из нашего местного магазина автозапчастей NAPA, в разделе «Решения NAPA» доступно несколько для наиболее распространенных моделей.
Вы можете использовать пробойник, чтобы выбить штифт, что мы и сделали перед тем, как снять дверь. Вот так мы поняли, что его нужно удалить.
Если у вас есть помощник, работа будет проще, и вам не придется бороться с движущейся дверью. Наша дверь должна была оторваться, поэтому мы открутили ее от самой двери (вместо того, чтобы снимать петлю с корпуса).
В этой двери нет электроники, поэтому ее можно просто отложить. Если бы у него были электрические замки и окна, нам пришлось бы сделать подставку для его поддержки.Совет: прежде чем снимать дверь, отметьте положение головок болтов на двери и положение петли на двери. Это поможет вам быстрее выровнять дверь при переустановке.
Мы отперли дверь трещоткой. Вы можете использовать домкрат для поддержки двери, если вы работаете в одиночку, но лучше иметь помощника.
Если ваша петля имеет подпружиненную петлю, вам необходимо снять пружину. Это можно сделать с помощью инструмента для снятия пружины.
Снятие штифтов дверных петель
Используя наш набор пробойников NAPA, мы выбрали выколотку, подходящую к штифту петли, и несколькими ударами молотка вбили ее.Будьте осторожны, чтобы не ударить тело, пока вы это делаете. Если у вас есть пневматический молоток, вы можете использовать его, чтобы выбить штифт. Как только штифт переместится примерно на полдюйма, его можно будет снять вручную.
С некоторыми транспортными средствами легче работать, если срезать штифт.
Вы можете использовать удар или сразу перейти к молоту, иногда вам нужно быть агрессивным, чтобы вытащить кегли. Будьте осторожны с краской.
На этом шарнире втулки давно сломаны, на цапфе видны остатки.
Оценка ситуации
Когда штифт вынут, вы можете посмотреть на отверстие для шарнирного штифта.Обычно отверстие имеет плохую форму и, возможно, даже овальную форму. Иногда оригинальная втулка осталась, иногда ее нет. В нашем автомобиле было по одному из них. Если оригинальная втулка находится в шарнире, ее необходимо удалить. Это делается путем выбивания его или разбивания ударом. Пришлось ломать все оригинальные втулки.
Отверстия для втулок могут быть овальными. Если это так, у вас есть несколько вариантов, в зависимости от втулок в вашем комплекте. Обратите внимание на оставшуюся часть втулки, ее необходимо удалить.
Выберите подходящую втулку. Мы использовали втулку меньшего размера, которая подходит для этого автомобиля.
Втулка может упасть прямо, если отверстие действительно плохое, но обычно втулку необходимо вбить на место с помощью молотка. Верхняя втулка входит сверху, нижняя — снизу.
В нашем комплекте было 4 втулки и один штифт. Мы использовали втулку меньшего размера, так как она хорошо подходила. Если бы отверстия были овальными, мы бы просверлили их круглыми и использовали ремонтную втулку большего размера.
Подготовка к установке новых втулок
Оригинальные насечки на внешних шарнирных пластинах делают установку новых штифтов более сложной или почти невозможной.Мы выбрали сверло размером с отверстие, в данном случае 23/32 дюйма, и просто просверлили его через отверстие. Это очищает старую накатку и позволяет вбить штифт, не сгибая шарнирные пластины.
Внешний шарнир имеет накатку для штифта, поэтому старую накатку мы зачистили сверлом. Это облегчает установку нового штифта. Используйте наименьший возможный бит, вы не хотите, чтобы он стал слишком большим, просто слегка обработайте накатки.
Установка новых втулок
Новые втулки встают на место, но, как правило, для полной посадки требуется небольшое постукивание.
Они должны быть полностью установлены вот так, сверху и снизу.
Собираем все обратно
Установив новые втулки, петлю снова собрали в правильном положении, а затем установили новый штифт. Новый штифт требует более тяжелой руки, чтобы полностью установить штифт. Только будьте осторожны, чтобы не погнуть шарнир. Трюк с дрелью делает это намного проще, но все же требует некоторых усилий. Пневмомолот здесь реально поможет.
Мы вставили штифт в собранную петлю, убедившись, что петля собрана правильно.
Затем мы постучали по штифту молотком, чтобы посадить штифт. Обычно это требует больших усилий.
Полностью установленный штифт должен выглядеть следующим образом. Его вообще не следует поднимать.
Последним шагом является повторная установка двери и регулировка положения двери/петли. В большинстве случаев регулировка наружной дверной петли невелика.
Наконец, мы переустановили дверь и закрыли ее. Дверь попадает в ответную планку без каких-либо проблем. Он так сильно захлопнулся, что петли на корпусе нуждаются в небольшой регулировке, о чем мы позаботимся.
Перед этой работой дверь нужно было хлопнуть, чтобы она защелкнулась. Теперь дверь закрывается гладко, как по маслу, что хорошо для автомобиля, которому 37 лет. Самая большая хитрость в этой работе заключается в том, чтобы все нужные детали были под рукой ДО ее начала. Рекомендуется купить несколько комплектов на случай, если вам понадобятся дополнительные детали, вы всегда можете вернуть нераспечатанный комплект.
Ознакомьтесь со всеми продуктами для кузова и аксессуарами, доступными в NAPA Online, или доверьтесь одному из наших 17 000 пунктов обслуживания AutoCare NAPA для планового технического обслуживания и ремонта.Для получения дополнительной информации о том, как исправить провисшие дверные петли, поговорите со знающим специалистом в местном магазине NAPA AUTO PARTS.
Но эта особенность усложняет монтаж таких петель, а также демонтаж.

Каждая петля спрятана под декоративной накладкой, которую нужно удалить руками или с помощью отвертки.
Желательно использовать несколько табуреток, чтобы поднять полотно на определенную высоту. Так с ним будет удобней работать.
Конструкции из дерева не нуждаются в декорировании, так как они изначально отличаются уникальным оформлением.
Преимущество такого вида не только в большом разнообразии дизайна, но и в простом механизме демонтажа.



Но замене подлежит не только вышедший из строя элемент, а вся петля в сборе.

Варианты стиля и формы петель разнообразны и от дизайна будет зависеть тип петли для конкретного кухонного шкафа.
Снимите штифты петель, удерживая дверь.Вставьте набор гвоздей в кольца и выбейте кольца из петли. Проделайте это как с дверной рамой автомобиля, так и с самой дверью, которую сейчас будем снимать.




Его следует накрыть мягким одеялом или столбиками из упаковочного материала.